GM Service Manual Online
For 1990-2009 cars only

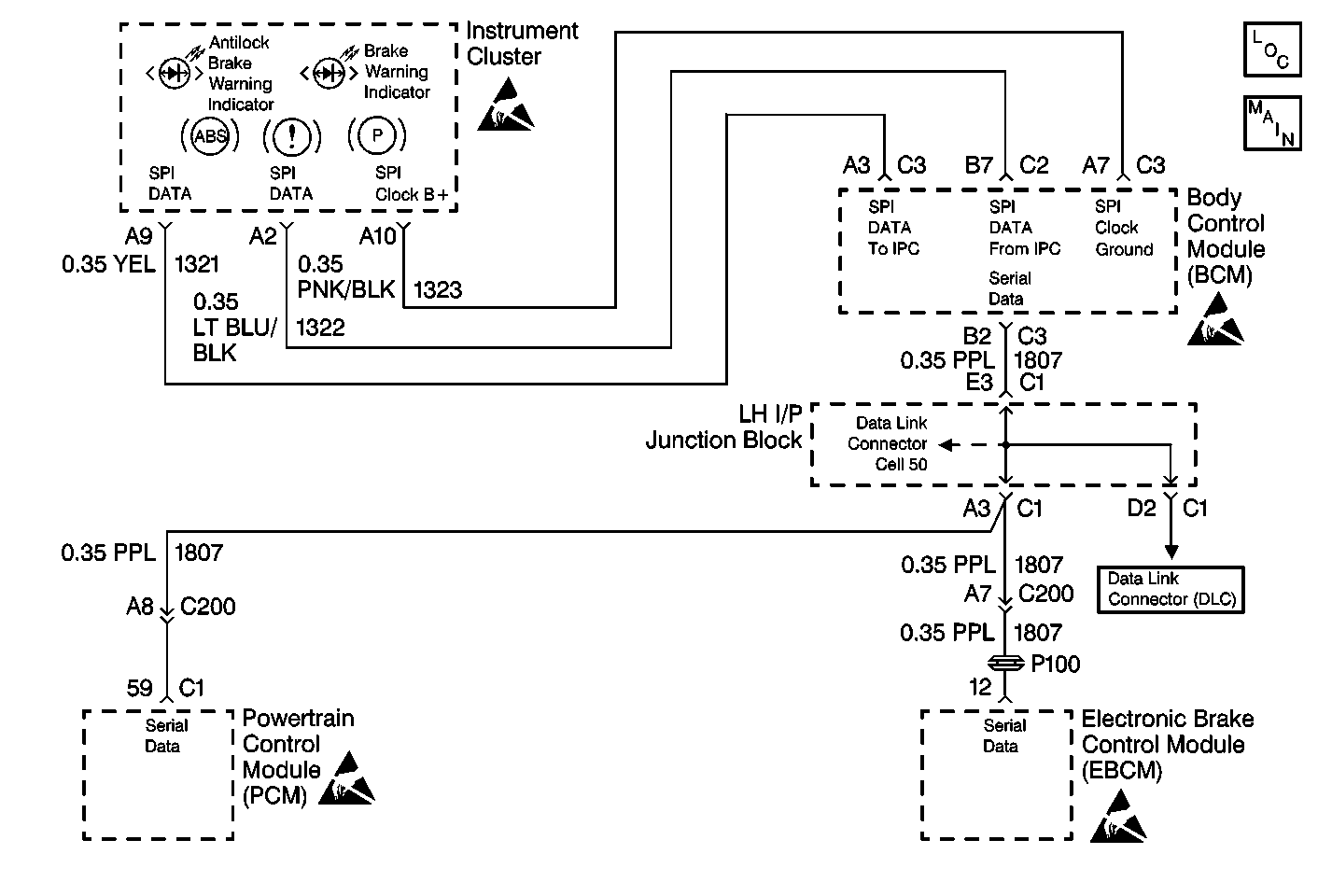
Object Number: 189070  Size: MF
ABS Components
Antilock Brake System Schematics

Circuit Description

The serial data link is a communication line between the BFC, PCM, and the EBCM.

Conditions for Setting the DTC

DTC U1301 can be set anytime the ignition is in RUN. A malfunction exists if CKT 1807 is shorted to voltage resulting in no communication to the PCM or any other controller.

Action Taken When the DTC Sets

    • A malfunction DTC stores.
    • The ABS remains functional.
    • No action towards the electronic brake control relay is taken.
    • No action towards the ABS warning indicator is taken.

Conditions for Clearing the DTC

    • The condition for DTC U1300 is no longer present.
    • The use of the scan tool CLEAR DTCs function.
    • DTC U1300 clears after 100 drive cycles with no DTCs detected. A drive cycle consists of starting the vehicle, driving the vehicle over 16 km/h (10 mph), stopping and then turning the ignition off.

Diagnostic Aids

Perform the Powertrain OBD System Check before beginning this DTC table. This eliminates the PCM as a possible source of the malfunction.

The following conditions may cause an intermittent malfunction:

    • A poor connection
    • Rubbed-through wire insulation
    • A broken wire inside the insulation within the serial data line. Refer to Data Link Communications System Check in Wiring Systems for serial data line diagnosis.

The use of the enhanced diagnostic function of the scan tool to check the frequency of the malfunction. Refer to Scan Tool Diagnostics .

Check all circuitry suspected of causing the intermittent complaint for the following conditions:

    • Check for backed-out terminals.
    • Check for improper mating.
    • Check for broken locks.
    • Check for improperly formed terminals.
    • Check for damaged terminals.
    • Check for damaged terminals.
    • Check for poor terminal to wiring connections.
    • Check for physical damage to the wiring harness.

The malfunction may be intermittent. Try performing the tests shown while "wiggling" wiring and connectors, this can often cause the malfunction to appear. PCM and BFC DTCs will likely be set along with DTC U1301.

DTC U1301 will only be able to be read as a history code since the scan tool uses the same serial data circuit. If CKT 1807 is shorted to voltage, no communication with the scan tool will be possible.

Step

Action

Value(s)

Yes

No

1

Was the Diagnostic System Check performed?

--

Go to Step 2

Go to Diagnostic System Check

2

  1. Disconnect the LH I/P Wiring Harness Junction Block connector C1.
  2. Disconnect the EBCM harness connector.
  3. Turn the ignition switch to the ON Position.
  4. Use the J 39200 to measure the voltage between the EBCM harness connector terminal 12 and ground.

Is the measured voltage within the specified value?

0-1 V

Go to Data Link Communications Schematic References in Wiring Systems

Go to Step 3

3

Repair the short to voltage in CKT 1807.

Is the repair complete?

--

Go to Diagnostic System Check

--