GM Service Manual Online
For 1990-2009 cars only

DTC P0753 1-2 Shift Solenoid Circuit Electrical 2.4L


Object Number: 100664  Size: MF
Automatic Transmission Components VIN M
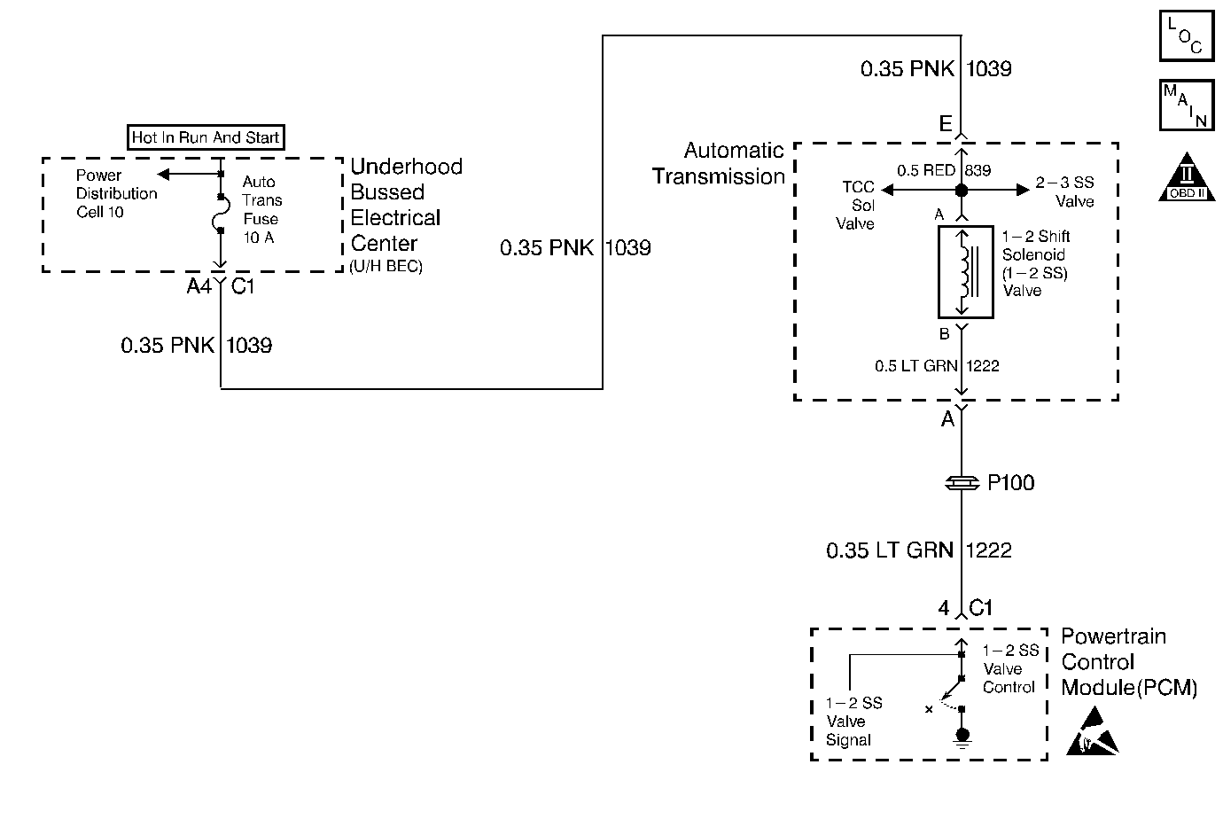
Automatic Transmission Controls Schematics 2.4L
OBD II Symbol Description Notice
Handling ESD Sensitive Parts Notice

Circuit Description

The 1-2 Shift Solenoid Valve (1-2 SS Valve) controls fluid flow acting on the 1-2 shift valve. The solenoid is a normally-open valve that, in conjunction with the 2-3 Shift Solenoid Valve (2-3 SS Valve), allows four different shifting combinations (Refer to the 4T40-E Shift Solenoid State Table). The 1-2 SS Valve is attached to the valve body, within the transmission.

The solenoid receives ignition voltage through the fused circuit. The Powertrain Control Module (PCM) commands the solenoid ON or OFF by providing a ground path through circuit 1222.

When the PCM detects a continuous open, short to ground, or short to power in the 1-2 SS Valve circuit, then DTC P0753 sets. DTC P0753 is a type A DTC.

Conditions for Setting the DTC

    • The ignition switch is in the RUN position.
    • The system voltage is 9-16 volts.
    • The PCM commands the solenoid ON, and the voltage remains high for 4.3 seconds.

Action Taken When the DTC Sets

    • The PCM illuminates the Malfunction Indicator Lamp (MIL).
    • The PCM commands maximum line pressure.
    • The PCM commands a soft landing to 2nd gear.
    • The PCM inhibits TCC engagement.
    • The PCM freezes shift adapts from being updated.
    • DTC P0753 is stored in the PCM history.

Conditions for Clearing the MIL/DTC

    • The PCM turns OFF the MIL after three consecutive trips without a failure reported.
    • A scan tool can clear the DTC from the PCM history. The PCM clears the DTC from the PCM history if the vehicle completes 40 warm-up cycles without a failure reported.
    • The PCM cancels the DTC default actions when the fault no longer exists and the ignition is OFF long enough in order to power down the PCM.

Diagnostic Aids

    • An open in circuit 1039 will cause multiple DTCs to set.
    • Inspect the wiring at the PCM, the transmission 20-way connector, the 1-2 SS Valve 2-way connector, and all other circuit connecting points for the following conditions:
       - A bent terminal
       - A backed out terminal
       - A damaged terminal
       - Poor terminal tension
       - A chafed wire
       - A broken wire inside the insulation
       - Moisture intrusion
       - Corrosion
    • When diagnosing for an intermittent short or open condition, massage the wiring harness while watching the test equipment for a change. Refer to Shift Solenoid Valve State and Gear Ratio .

Test Description

The numbers below refer to the step numbers on the diagnostic table.

  1. DTCs P0758 and P1860 will also set if the power circuit is open.

  2. This step tests the electrical operation of the solenoid.

  3. This step tests the PCM and the wiring to the transmission.

  4. This step tests circuit 1222 for a short to battery power.

  5. This step verifies that the circuit has the correct resistance.

DTC P0753 1-2 Shift Solenoid Circuit -- Electrical (2.4L)

Step

Action

Value(s)

Yes

No

1

Were you sent here from the Powertrain On-Board Diagnostic (OBD) System Check?

--

Go to Step 2

Go to Powertrain On Board Diagnostic (OBD) System Check

2

  1. Install the Scan Tool .
  2. With the engine OFF, turn the ignition switch to the RUN position.
  3. Important: Before clearing the DTCs, use the scan tool in order to record the Freeze Frame and Failure Records for reference. Using the Clear Info function will erase the stored Freeze Frame and Failure Records from the PCM.

  4. Record the DTC Freeze Frame and Failure Records, then clear the DTCs.

Are DTCs P0758 and P1860 also set?

--

Go to Step 3

Go to Step 8

3

  1. Remove the AUTO TRANS fuse.
  2. Inspect the fuse for an open.

Did you find the condition?

--

Go to Step 4

Go to Step 6

4

Inspect circuit 1039 for a short to ground.

Refer to General Electrical Diagnosis .

Did you find and correct the condition?

--

Go to Step 25

Go to Step 5

5

Inspect circuit 839 for a short to ground.

Refer to General Electrical Diagnosis .

Did you find the condition?

--

Go to Step 22

--

6

Inspect circuit 1039 for an open.

Refer to General Electrical Diagnosis .

Did you find and correct the condition?

--

Go to Step 25

Go to Step 7

7

Inspect circuit 839 for an open.

Refer to General Electrical Diagnosis .

Did you find the condition?

--

Go to Step 22

--

8

  1. Use the scan tool in order to command the solenoid ON and OFF 3 times.
  2. Listen at the transmission side cover.

Does the solenoid click when commanded ON and OFF?

--

Go to Diagnostic Aids

Go to Step 9

9

  1. Turn the ignition OFF.
  2. Disconnect the transmission 20-way connector (additional DTCs will set).
  3. Install the J 39775 Jumper Harness to the engine side of the 20-way connector.
  4. Using the J 35616-A Connector Test Adapter Kit, connect a test lamp from terminal E to terminal A.
  5. With the engine OFF, turn the ignition switch to the RUN position.
  6. Command the 1-2 Shift Solenoid Valve (1-2 SS Valve) ON and OFF three times.

Is the test lamp ON when you command the solenoid ON, and OFF when you command the solenoid OFF?

--

Go to Step 17

Go to Step 10

10

Is the test lamp always ON?

--

Go to Step 11

Go to Step 13

11

  1. Turn the ignition OFF.
  2. Disconnect the C2 (Black) PCM connector (additional DTCs will set).
  3. Turn the ignition switch to the RUN position.

Is the test lamp ON?

--

Go to Step 12

Go to Step 24

12

Inspect circuit 1222 for a short to ground.

Refer to General Electrical Diagnosis .

Did you find and correct the condition?

--

Go to Step 25

--

13

Is the test lamp always OFF?

--

Go to Step 14

--

14

Inspect circuit 1222 for an open.

Refer to General Electrical Diagnosis .

Did you find and correct the condition?

--

Go to Step 25

Go to Step 15

15

Connect a test lamp from terminal A to a good ground.

Is the test lamp ON?

--

Go to Step 16

Go to Step 24

16

Inspect circuit 1222 for a short to battery power.

Refer to General Electrical Diagnosis .

Did you find and correct the condition?

--

Go to Step 25

--

17

  1. Turn the ignition OFF.
  2. Disconnect the J 39775 Jumper Harness from the engine side of the 20-way connector.
  3. Connect the J 39775 Jumper Harness to the transmission side of the 20-way connector.
  4. Using the J 35616-A Connector Test Adapter Kit, connect the J 39200 Digital Multimeter (DMM) from terminal E to terminal A and measure the resistance.

Is the resistance within the specified range?

19-31 ohms

Go to Step 20

Go to Step 18

18

Is the resistance greater than the specified value?

250 ohms

Go to Step 19

Go to Step 20

19

  1. Inspect circuit 1222 for an open.
  2. Inspect circuit 1222 for a poor connection at the connector.
  3. Inspect circuit 839 for an open.
  4. Inspect circuit 839 for a poor connection at the connector.

Refer to General Electrical Diagnosis .

Did you find the condition?

--

Go to Step 22

Go to Step 23

20

Measure the resistance from terminal A to a good ground.

Is the resistance less than the specified value?

1,000 ohms

Go to Step 21

Go to Step 23

21

Inspect circuit 1222 for a short to ground.

Refer to General Electrical Diagnosis .

Did you find the condition?

--

Go to Step 22

--

22

Replace the automatic transmission wiring harness.

Refer to the Transmission Unit Repair Manual, 4T40-E Section.

Is the replacement complete?

--

Go to Step 25

--

23

Replace the 1-2 SS Valve.

Refer to the Transmission Unit Repair Manual, 4T40-E Section.

Is the replacement complete?

--

Go to Step 25

--

24

Replace the PCM.

Refer to Powertrain Control Module Replacement/Programming .

Is the replacement complete?

--

Go to Step 25

--

25

In order to verify your repair, perform the following procedure:

  1. Select DTC.
  2. Select Clear Info.
  3. Operate the vehicle under the following conditions:
  4. • Place the transmission in Park.
    • Start the engine.
    • Idle the engine for 5 seconds.
  5. Select Specific DTC. Enter DTC P0753.

Has the test run and passed?

--

System OK

Begin the diagnosis again. Go to Step 1

DTC P0753 1-2 Shift Solenoid Circuit Electrical 3.1L


Object Number: 198910  Size: MF
Automatic Transmission Components VIN M
Automatic Transmission Controls Schematics 3.1L
OBD II Symbol Description Notice
Handling ESD Sensitive Parts Notice

Circuit Description

The 1-2 Shift Solenoid Valve (1-2 SS Valve) controls fluid flow acting on the 1-2 shift valve. The solenoid is a normally-open valve that, in conjunction with the 2-3 Shift Solenoid Valve (2-3 SS Valve), allows four different shifting combinations (Refer to the 4T40-E Shift Solenoid State Table). The 1-2 SS Valve is attached to the valve body, within the transmission.

The solenoid receives ignition voltage through the fused circuit. The Powertrain Control Module (PCM) commands the solenoid ON or OFF by providing a ground path through circuit 1222.

When the PCM detects a continuous open, short to ground, or short to power in the 1-2 SS Valve circuit, then DTC P0753 sets. DTC P0753 is a type A DTC.

Conditions for Setting the DTC

    • The ignition switch is in the RUN position.
    • The system voltage is 9-16 volts.
    • The PCM commands the solenoid ON, and the voltage remains high for 4.3 seconds.

Action Taken When the DTC Sets

    • The PCM illuminates the Malfunction Indicator Lamp (MIL).
    • The PCM commands maximum line pressure.
    • The PCM commands a soft landing to 2nd gear.
    • The PCM inhibits TCC engagement.
    • The PCM freezes shift adapts from being updated.
    • DTC P0753 is stored in the PCM history.

Conditions for Clearing the MIL/DTC

    • The PCM turns OFF the MIL after three consecutive trips without a failure reported.
    • A scan tool can clear the DTC from the PCM history. The PCM clears the DTC from the PCM history if the vehicle completes 40 warm-up cycles without a failure reported.
    • The PCM cancels the DTC default actions when the fault no longer exists and the ignition is OFF long enough in order to power down the PCM.

Diagnostic Aids

    • An open in circuit 1039 will cause multiple DTCs to set.
    • Inspect the wiring at the PCM, the transmission 20-way connector, the 1-2 SS Valve 2-way connector, and all other circuit connecting points for the following conditions:
       - A bent terminal
       - A backed out terminal
       - A damaged terminal
       - Poor terminal tension
       - A chafed wire
       - A broken wire inside the insulation
       - Moisture intrusion
       - Corrosion
    • When diagnosing for an intermittent short or open condition, massage the wiring harness while watching the test equipment for a change. Refer to Shift Solenoid Valve State and Gear Ratio .

Test Description

The numbers below refer to the step numbers on the diagnostic table.

  1. DTCs P0758 and P1860 will also set if the power circuit is open.

  2. This step tests the electrical operation of the solenoid.

  3. This step tests the PCM and the wiring to the transmission.

  4. This step tests circuit 1222 for a short to battery power.

  5. This step verifies that the circuit has the correct resistance.

DTC P0753 1-2 Shift Solenoid Circuit -- Electrical (3.1L)

Step

Action

Value(s)

Yes

No

1

Were you sent here from the Powertrain On-Board Diagnostic (OBD) System Check?

--

Go to Step 2

Go to Powertrain On Board Diagnostic (OBD) System Check

2

  1. Install the Scan Tool .
  2. With the engine OFF, turn the ignition switch to the RUN position.
  3. Important: Before clearing the DTCs, use the scan tool in order to record the Freeze Frame and Failure Records for reference. Using the Clear Info function will erase the stored Freeze Frame and Failure Records from the PCM.

  4. Record the DTC Freeze Frame and Failure Records, then clear the DTCs.

Are DTCs P0758 and P1860 also set?

--

Go to Step 3

Go to Step 8

3

  1. Remove the AUTO TRANS fuse.
  2. Inspect the fuse for an open.

Did you find the condition?

--

Go to Step 4

Go to Step 6

4

Inspect circuit 1039 for a short to ground.

Refer to General Electrical Diagnosis .

Did you find and correct the condition?

--

Go to Step 25

Go to Step 5

5

Inspect circuit 839 for a short to ground.

Refer to General Electrical Diagnosis .

Did you find the condition?

--

Go to Step 22

--

6

Inspect circuit 1039 for an open.

Refer to General Electrical Diagnosis .

Did you find and correct the condition?

--

Go to Step 25

Go to Step 7

7

Inspect circuit 839 for an open.

Refer to General Electrical Diagnosis .

Did you find the condition?

--

Go to Step 22

--

8

  1. Use the scan tool in order to command the solenoid ON and OFF 3 times.
  2. Listen at the transmission side cover.

Does the solenoid click when commanded ON and OFF?

--

Go to Diagnostic Aids

Go to Step 9

9

  1. Turn the ignition OFF.
  2. Disconnect the transmission 20-way connector (additional DTCs will set).
  3. Install the J 39775 Jumper Harness to the engine side of the 20-way connector.
  4. Using the J 35616-A Connector Test Adapter Kit, connect a test lamp from terminal E to terminal A.
  5. With the engine OFF, turn the ignition switch to the RUN position.
  6. Command the 1-2 Shift Solenoid Valve (1-2 SS Valve) ON and OFF three times.

Is the test lamp ON when you command the solenoid ON, and OFF when you command the solenoid OFF?

--

Go to Step 17

Go to Step 10

10

Is the test lamp always ON?

--

Go to Step 11

Go to Step 13

11

  1. Turn the ignition OFF.
  2. Disconnect the C2 (Clear) PCM connector (additional DTCs will set).
  3. Turn the ignition switch to the RUN position.

Is the test lamp ON?

--

Go to Step 12

Go to Step 24

12

Inspect circuit 1222 for a short to ground.

Refer to General Electrical Diagnosis .

Did you find and correct the condition?

--

Go to Step 25

--

13

Is the test lamp always OFF?

--

Go to Step 14

--

14

Inspect circuit 1222 for an open.

Refer to General Electrical Diagnosis .

Did you find and correct the condition?

--

Go to Step 25

Go to Step 15

15

Connect a test lamp from terminal A to a good ground.

Is the test lamp ON?

--

Go to Step 16

Go to Step 24

16

Inspect circuit 1222 for a short to battery power.

Refer to General Electrical Diagnosis .

Did you find and correct the condition?

--

Go to Step 25

--

17

  1. Turn the ignition OFF.
  2. Disconnect the J 39775 Jumper Harness from the engine side of the 20-way connector.
  3. Connect the J 39775 Jumper Harness to the transmission side of the 20-way connector.
  4. Using the J 35616-A Connector Test Adapter Kit, connect the J 39200 Digital Multimeter (DMM) from terminal E to terminal A and measure the resistance.

Is the resistance within the specified range?

19-31 ohms

Go to Step 20

Go to Step 18

18

Is the resistance greater than the specified value?

250 ohms

Go to Step 19

Go to Step 20

19

  1. Inspect circuit 1222 for an open.
  2. Inspect circuit 1222 for a poor connection at the connector.
  3. Inspect circuit 839 for an open.
  4. Inspect circuit 839 for a poor connection at the connector.

Refer to General Electrical Diagnosis .

Did you find the condition?

--

Go to Step 22

Go to Step 23

20

Measure the resistance from terminal A to a good ground.

Is the resistance less than the specified value?

1,000 ohms

Go to Step 21

Go to Step 23

21

Inspect circuit 1222 for a short to ground.

Refer to General Electrical Diagnosis .

Did you find the condition?

--

Go to Step 22

--

22

Replace the automatic transmission wiring harness.

Refer to the Transmission Unit Repair Manual, 4T40-E Section.

Is the replacement complete?

--

Go to Step 25

--

23

Replace the 1-2 SS Valve.

Refer to the Transmission Unit Repair Manual, 4T40-E Section.

Is the replacement complete?

--

Go to Step 25

--

24

Replace the PCM.

Refer to Powertrain Control Module Replacement/Programming .

Is the replacement complete?

--

Go to Step 25

--

25

In order to verify your repair, perform the following procedure:

  1. Select DTC.
  2. Select Clear Info.
  3. Operate the vehicle under the following conditions:
  4. • Place the transmission in Park.
    • Start the engine.
    • Idle the engine for 5 seconds.
  5. Select Specific DTC. Enter DTC P0753.

Has the test run and passed?

--

System OK

Begin the diagnosis again. Go to Step 1