GM Service Manual Online
For 1990-2009 cars only

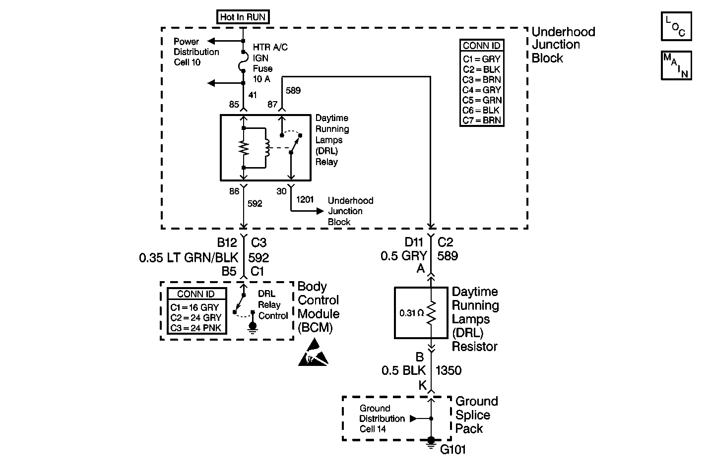
Object Number: 284894  Size: MF
Body Control Module Components
Cell 51: Ign Switch and Left Front Door Ajar Switch

Circuit Description

This circuit controls the automatic light control (ALC) relay coil by grounding the circuit through the body control module (BCM). This is a trouble code (both current and history) that indicates that the headlamps were not ON when the ALC relay output was ON.

Conditions for Setting the DTC

Meet all of the following conditions:

    • The ALC option is enabled and ignition one is active.
    • The ALC headlamp output is active.
    • The high beams are not ON or are in DRL mode.
    • The low beams are OFF for five seconds.

Action Taken When the DTC Sets

    • Stores the DTC B2575 in the BCM memory.
    • The SERVICE VEHICLE SOON indicator will illuminate.

Conditions for Clearing the DTC

    • The BCM reads the proper headlamp voltage.
    • Conditions for the fault are no longer present.
    • Use the Scan Tool .

Diagnostic Aids

    • Use the following procedure in order to determine if the low beams function correctly:
        1. Turn the ignition switch to the ON position.
        2. Cover the ambient light sensor on the dash.
        3. Wait for 30 seconds. The low beams should illuminate. If the low beams do not illuminate, refer to Daytime Running Lights (DRL) System Check in Lighting Systems.
    • Use the following procedure in order to determine if the high beams function correctly:
        1. Turn the ignition switch to the ON position.
        2. Activate the high beams.
        3. Cover the ambient light sensor on the dash.
        4. Wait for 30 seconds. The high beams should illuminate. If the high beams do not illuminate, refer to Daytime Running Lights (DRL) System Check in Lighting Systems.
    • When the diagnostics direct you to take electrical measurements at the junction blocks, refer to Power Distribution Schematics in Wiring Systems for terminal assignments of the junction blocks.
    • If the DTC is a history DTC, the problem may be intermittent. Try performing the above tests while wiggling the wiring and connectors. This can often cause the malfunction to appear.

Test Description

The numbers below refer to the numbers on the diagnostic table.

  1. This step determines if the body control module (BCM) verifies proper operation of the low beam headlamps.

  2. This step determines if the BCM verifies proper operation of the high beam headlamps.

Step

Action

Value(s)

Yes

No

1

Was the BCM system check performed?

--

Go to Step 2

Go to the Body Control Module System Check

2

Are there any other ALC DTCs present?

--

Correct the other ALC DTCs first

Go to Step 3

3

  1. Select the low beams.
  2. Turn the headlamp switch to the ON position.

Do both of the low beam headlamps light?

--

Go to Step 4

Go to Step 7

4

Use a Scan Tool in order to read the BCM INPUT for the LOW BEAM/DRL FEEDBACK.

Is the BCM INPUT for the LOW BEAM/DRL FEEDBACK reading DRL ON?

--

Go to Step 5

Go to Step 7

5

  1. Select the high beams.
  2. Turn the headlamp switch to the ON position.

Do the high beam headlamps light?

--

Go to Step 6

Go to Step 7

6

Use a Scan Tool in order to read the BCM INPUT for the HIGH BEAM FEEDBACK.

Is the BCM INPUT for the HIGH BEAM FEEDBACK reading HIGH BEAMS ON?

--

Go to Step 8

Go to Step 7

7

Perform the DRL System Check. Refer to Daytime Running Lights (DRL) System Check in Lighting Systems and make any necessary repairs.

Is the repair complete?

--

Go to Step 9

Go to Step 8

8

Replace the BCM. Refer to the following procedures:

Is the repair complete?

--

Go to Step 9

--

9

Clear the DTCs from the memory.

Are the DTCs cleared from the memory?

--

Go to the Body Control Module System Check