GM Service Manual Online
For 1990-2009 cars only
Makes
🢒
Oldsmobile
🢒
1999
🢒
Cutlass
🢒
Steering
🢒
Steering Wheel and Column - Tilt
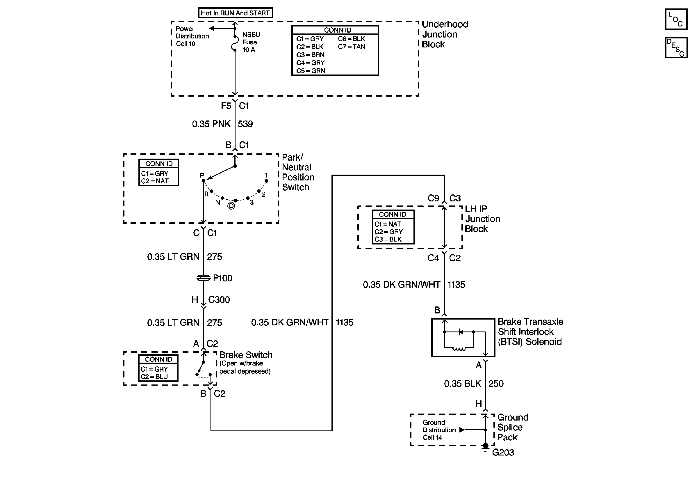
🢒 Shift Lock Control Schematics
Cell 138
Tilt Wheel/Column Components
Automatic Transmission Shift Lock Control Circuit Description
Ground Distribution Schematics
Power Distribution Schematics