GM Service Manual Online
For 1990-2009 cars only

Tools Required

    • J 23653-SIR Lock Plate Compressor
    • J 42137 Lock Plate Compressor Adapter
    • J 21854-01 Pivot Pin Remover
  1. Remove the inflatable restraint steering wheel module coil. Refer to Inflatable Restraint Steering Wheel Module Coil Disassemble - Off Vehicle .

  2. Object Number: 338052  Size: SH
  3. Remove and discard the bearing retainer using J 23653-SIR and J 42137 .

  4. Object Number: 371187  Size: SH
  5. Remove the cam orientation plate (1).
  6. Remove the turn signal cancel cam assembly (2).

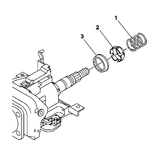
  7. Object Number: 372070  Size: SH
  8. Remove the upper bearing spring (1).
  9. Remove the upper bearing inner race seat (2).
  10. Remove the inner race (3).

  11. Object Number: 338052  Size: SH
  12. Remove the 2 pivot pins using J 21854-01 .
  13. Remove the tilt spring assembly only. Refer to Tilt Spring - Disassemble - Off Vehicle .

  14. Object Number: 371251  Size: SH
  15. Pull tilt arm to disengage the steering wheel lock shoes from the dowel pins in the steering column support assembly to remove the bearing and housing assembly.

  16. Object Number: 371190  Size: SH
  17. Remove the bearing and housing assembly.