GM Service Manual Online
For 1990-2009 cars only

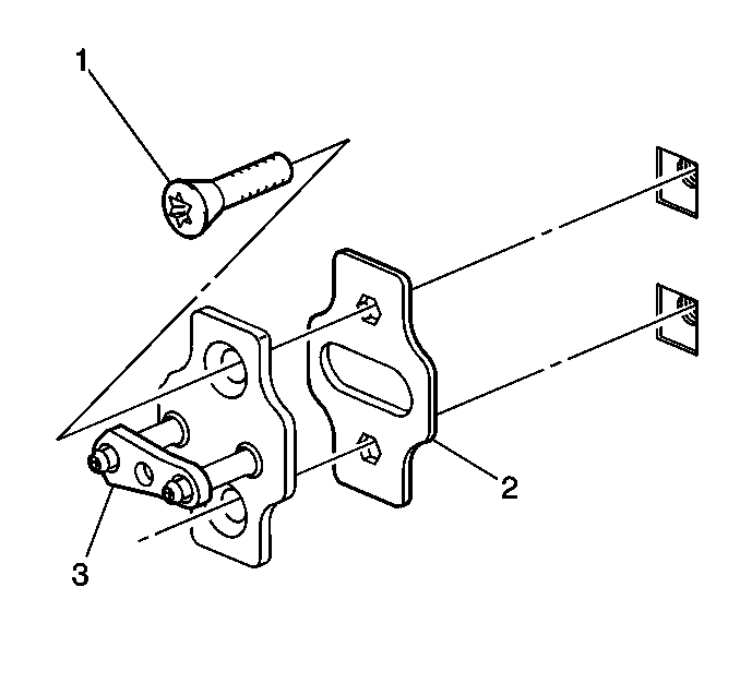
Removal Procedure


    Object Number: 276399  Size: SH
  1. Remove the door lock striker bolts (1).
  2. Remove the door lock striker (3).
  3. Remove the door lock striker spacer (2).

Installation Procedure


    Object Number: 276399  Size: SH

    Notice: Striker alignment is a crucial part of door latch operation. Do not use the door striker to adjust the door to the vehicle. Failure to properly adjust the striker can result in damage to the door latch and the striker.

  1. Install the door lock striker spacer (2).
  2. Install the door lock striker (3).
  3. Install the door lock striker bolts (1).
  4. Snug the door lock striker bolts in order for the door lock striker to move.
  5. Place the door outside handle in the closed position.
  6. Push the door against the body in order to ensure that the door lock striker allows a flush fit.
  7. Notice: Use the correct fastener in the correct location. Replacement fasteners must be the correct part number for that application. Fasteners requiring replacement or fasteners requiring the use of thread locking compound or sealant are identified in the service procedure. Do not use paints, lubricants, or corrosion inhibitors on fasteners or fastener joint surfaces unless specified. These coatings affect fastener torque and joint clamping force and may damage the fastener. Use the correct tightening sequence and specifications when installing fasteners in order to avoid damage to parts and systems.

  8. Slowly open the door.
  9. Tighten
    Tighten the door lock striker bolts to 25 N·m (18 lb ft).

  10. Use appropriate touch - up paint in order to repair any exposed or unpainted surface on the lock pillar.