GM Service Manual Online
For 1990-2009 cars only

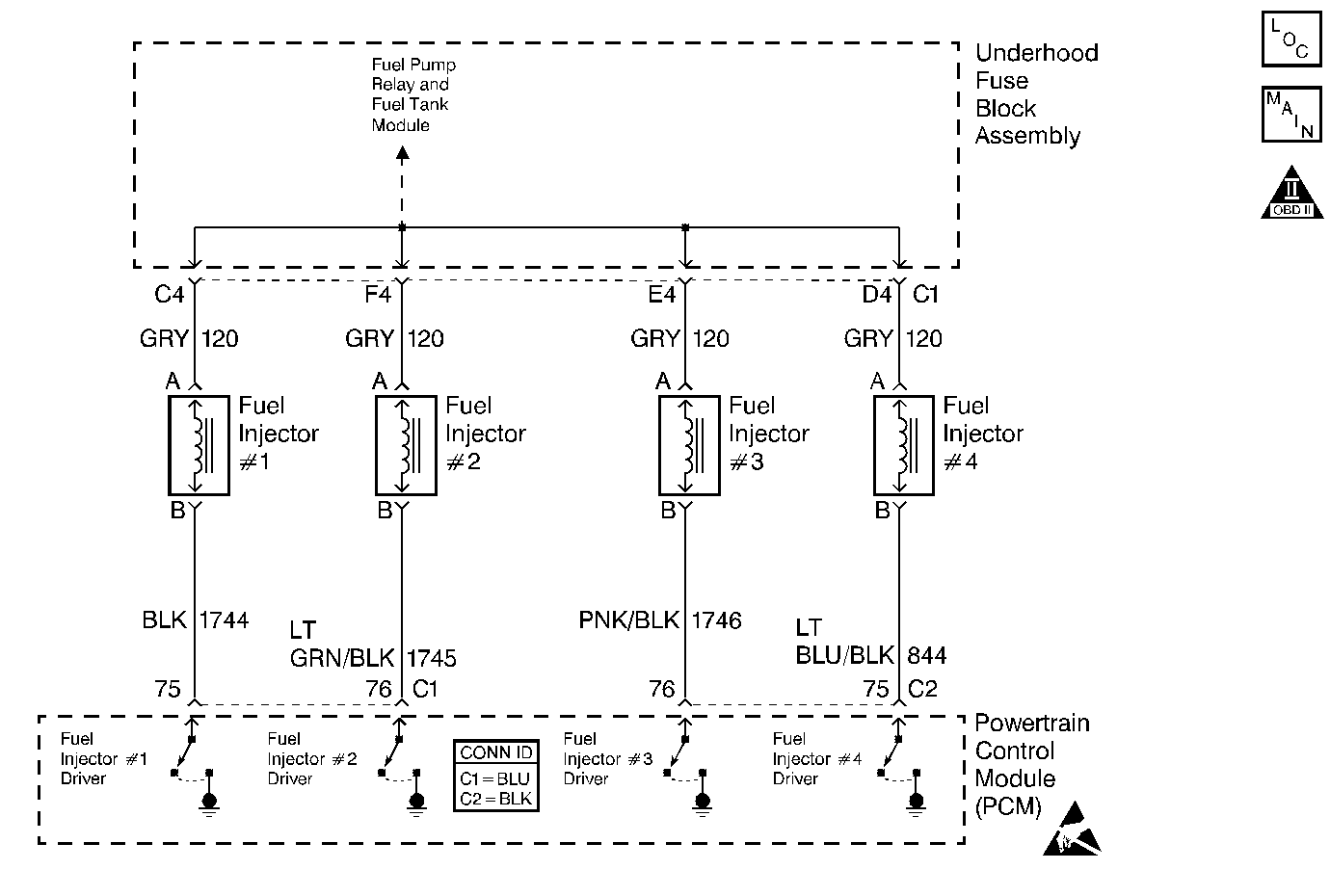
Object Number: 409542  Size: MF
Engine Controls Components
Cell 23: Fuel Controls
OBD II Symbol Description Notice
Powertrain Control Module Connector End Views
Handling ESD Sensitive Parts Notice

Circuit Description

The Powertrain Control Module (PCM) has four fuel injector driver circuits, each of which controls a fuel injector. The PCM monitors the current in each driver circuit and is able to control the driver circuit. The current through each driver can rise to a peak of 1 amps to quickly open the fuel injectors and hold the fuel injectors open. This is called saturated switch. If the current cannot reach a 1 amp, a DTC is set. This DTC is also set if an fuel injector driver is shorted to voltage.

Conditions for Running the DTC

    • Engine is running
    • Battery voltage is more than 9 volts.

Conditions for Setting the DTC

    • Injector current is less than 1 amp.
        (or) Injector current is continuously high.
    • Above conditions met for 7 seconds.

Action Taken When the DTC Sets

    • The Malfunction Indicator Lamp (MIL) illuminates.
    • The PCM records the operating conditions at the time when the diagnostic fails. This information stores in the Freeze Frame and Failure Records buffers.
    • A history DTC stores.
    • The coolant fan turns ON.

Conditions for Clearing the MIL/DTC

    • The MIL will turn OFF after three consecutive ignition cycles in which the diagnostic runs without a fault.
    • A history DTC will clear after 40 consecutive warm-up cycles without a fault.
    • The MIL/DTCs can be cleared by using the scan tool.

Diagnostic Aids

A fuel injector driver circuit that is open or shorted to voltage will cause a DTC P0200 to set and will also cause a misfire due to an inoperative fuel injector. A misfire DTC should also be set indicating which cylinder is inoperative.

The long term fuel trims and the short term fuel trims that are excessively high or low are a good indication that a fuel injector is malfunctioning. Use Fuel Injector Solenoid Coil Test - Engine Coolant Temperature Between 10-35 Degrees C (50-95 Degrees F) in order to check for any malfunctioning fuel injectors. A poor electrical connection may be cleaned when disconnecting and reconnecting the electrical connector. If the malfunction is not present after the electrical connector is disconnected and reconnected, check the electrical connector for the following conditions:

    • Corrosion
    • Poor terminal tension

Test Description

The number(s) below refer(s) to the step number(s) on the Diagnostic Table.

  1. The Powertrain OBD System Check prompts you to complete some of the basic checks and to store the freeze frame and failure records data on the scan tool if applicable. This creates an electronic copy of the data captured when the malfunction occurred. The scan tool stores this data on the scan tool for later reference.

  2. This step tests the harness wiring and for the PCM control of the fuel injectors by using the J 34730-405 Fuel Injector Test Light. If the tests light blinks, this indicates that the PCM and the wiring to the fuel injectors are OK. Fuel Injector Solenoid Coil Test - Engine Coolant Temperature Between 10-35 Degrees C (50-95 Degrees F) will check if the fuel injectors are malfunctioning.

  3. Whether the test light was ON steady or OFF while cranking the engine, this step narrows the malfunction down to just a few possibilities.

  4. Because the test light was ON steady, the voltage to the fuel injector is OK, but the fuel injector driver circuit is grounded at all times. This step determines if the circuitry is shorted to ground or if the PCM is malfunctioning.

  5. Reprogram the replacement PCM and perform the crankshaft position system variation learn procedure. Refer to the latest Techline information for PCM programming and Crankshaft Position System Variation Learn for the Crankshaft Position System Variation Procedure.

  6. This step determines if the voltage is available to the fuel injector. The voltage is supplied through the fuel pump relay so that the engine must be cranked in order for you to see voltage at the fuel injector.

  7. This step determines if the fuel injector driver circuit is open or shorted to voltage or if the PCM is malfunctioning.

  8. Since the voltage is supplied to the fuel injector on a single circuit before the fuel injector harness, the malfunction could only be a poor electrical connection or an open in the fuel injector harness. An open before the harness would result in a Cranks But Will Not Run complaint.

  9. Check for poor electrical connections and corroded terminals at the following connector(s):

  10. • Fuel injector electrical connector
    • Fuel injector harness connector

DTC P0200-Injector Control Circuit

Step

Action

Value(s)

Yes

No

1

Did you perform the Powertrain On-Board Diagnostic (OBD) System Check?

--

Go to Step 2

Go to Powertrain On Board Diagnostic (OBD) System Check

2

Attempt to start the engine.

Will the engine start?

--

Go to Step 3

Go to Engine Cranks but Does Not Run

3

  1. Turn OFF the ignition switch.
  2. Remove the air cleaner outlet resonator for a fuel injector access. Refer to Air Cleaner Outlet Resonator Replacement for the removal procedure.
  3. Disconnect all four fuel injector electrical connectors from the fuel injectors.
  4. Install a J 34730-405 Fuel Injector Test Tight on the fuel injector electrical connector 1.
  5. Crank the engine and observe the fuel injector test light.
  6. Remove the fuel injector test light.
  7. Install the fuel injector test light on the remaining fuel injectors electrical connectors.
  8. Crank the engine and observe the fuel injector test light on the remaining fuel injectors electrical connectors.

Does the fuel injector test light blink on all tests?

--

Go to Fuel Injector Solenoid Coil Test - Engine Coolant Temperature Between 10-35 Degrees C (50-95 Degrees F)

Go to Step 4

4

Verify whether the fuel injector test light was OFF or ON steady in step 3 for the fuel injector electrical connector that did not blink.

Was the fuel injector test light ON steady while cranking the engine?

--

Go to Step 5

Go to Step 8

5

  1. Remove the injector test light from the effected circuit if not already done.
  2. Turn OFF the ignition switch.
  3. Disconnect the PCM electrical connector for the affected fuel injector.
  4. Connect a test light to B+.
  5. Probe the affected fuel injector driver circuits.

Does the test light illuminate?

--

Go to Step 6

Go to Step 7

6

Repair the short to ground. Refer to Wiring Repairs in Wiring Systems.

Is the action complete?

--

Go to Step 14

--

7

Replace the PCM. Refer to the Powertrain Control Module Replacement .

Is the action complete?

--

Go to Step 14

--

8

  1. Connect a test light to ground.
  2. Install a Connector Probe Tool into the ignition feed circuit electrical connector.
  3. Probe the ignition feed circuit of the affected fuel injector electrical connector.
  4. Crank the engine.

Does the test light illuminate while cranking?

--

Go to Step 9

Go to Step 10

9

  1. Connect a test light to ground.
  2. Install a Connector Probe Tool into the fuel injector driver circuit electrical connector.
  3. Probe the fuel injector driver circuit of the affected fuel injector electrical connector.
  4. Crank the engine.

Is the test light OFF while you crank the engine?

--

Go to Step 11

Go to Step 12

10

  1. Turn OFF the ignition switch.
  2. Repair the open or poor electrical connection in the ignition feed circuit in the fuel injector harness. Refer to Wiring Repairs in Wiring Systems.

Is the action complete?

--

Go to Step 14

--

11

  1. Turn OFF the ignition switch.
  2. Check for the following condition(s) in the fuel injector driver circuit:
  3. • Open circuit
    • Poor electrical terminal connection

Is a problem present?

--

Go to Step 13

Go to Step 7

12

  1. Turn OFF the ignition switch.
  2. Repair the short to voltage in the fuel injector driver circuit. Refer to Wiring Repairs in Wiring Systems.

Is the action complete?

--

Go to Step 14

--

13

Repair the following condition(s) in the fuel injector driver circuit: Refer to Wiring Repairs in Wiring Systems.

    • Open circuit
    • Poor electrical terminal connection(s)

Is the action complete?

--

Go to Step 14

--

14

  1. Reconnect all the fuel injector electrical connectors.
  2. Reconnect the air cleaner outlet resonator. Refer to the Air Cleaner Outlet Resonator Replacement for the installation procedure.
  3. Clear the DTCs with the scan tool.
  4. Start the engine.
  5. Idle the engine at the normal operating temperature.
  6. Operate the vehicle within the conditions for running this DTC as specified in the supporting text.

Does the scan tool indicate that this diagnostic has ran and passed?

--

Go to Step 15

Go to Step 2

15

Check to see if any additional DTCs are set.

Does the scan tool display any DTCs that you have not diagnosed?

--

Go to applicable DTC table

System OK