The PCM monitors the EGR valve pintle position input to ensure that the valve responds properly to commands from the PCM and to detect a malfunction if the pintle position sensor and control circuits are open or shorted. If the PCM detects a pintle position signal voltage outside the normal range of the pintle position sensor, or a signal voltage that is not within a tolerance considered acceptable for proper EGR system operation, the PCM will set DTC P1406.
| • | Ignition 1 voltage is greater than 10 volts. |
| • | EGR Feedback is less than 0.14 volt at any time. |
OR
| • | EGR Feedback is 0.4 volt greater or less than the EGR Closed Valve Pintle Position when the Desired EGR Position is commanded to 0%. |
OR
| • | Actual EGR Position is 20% greater or less than the Desired EGR Position. |
| • | Any of the above conditions are present for longer than 20 seconds. |
| • | The PCM will illuminate the malfunction indicator lamp (MIL) during the second consecutive trip in which the diagnostic test has been run and failed. |
| • | The PCM will store conditions which were present when the DTC set as Freeze Frame and Failure Records data. |
| • | The PCM will turn OFF the MIL during the third consecutive trip in which the diagnostic has been run and passed. |
| • | The History DTC will clear after 40 consecutive warm-up cycles have occurred without a malfunction. |
| • | The DTC can be cleared by using the scan tool. |
Check for the following conditions:
| • | Open EGR ignition filter circuit. |
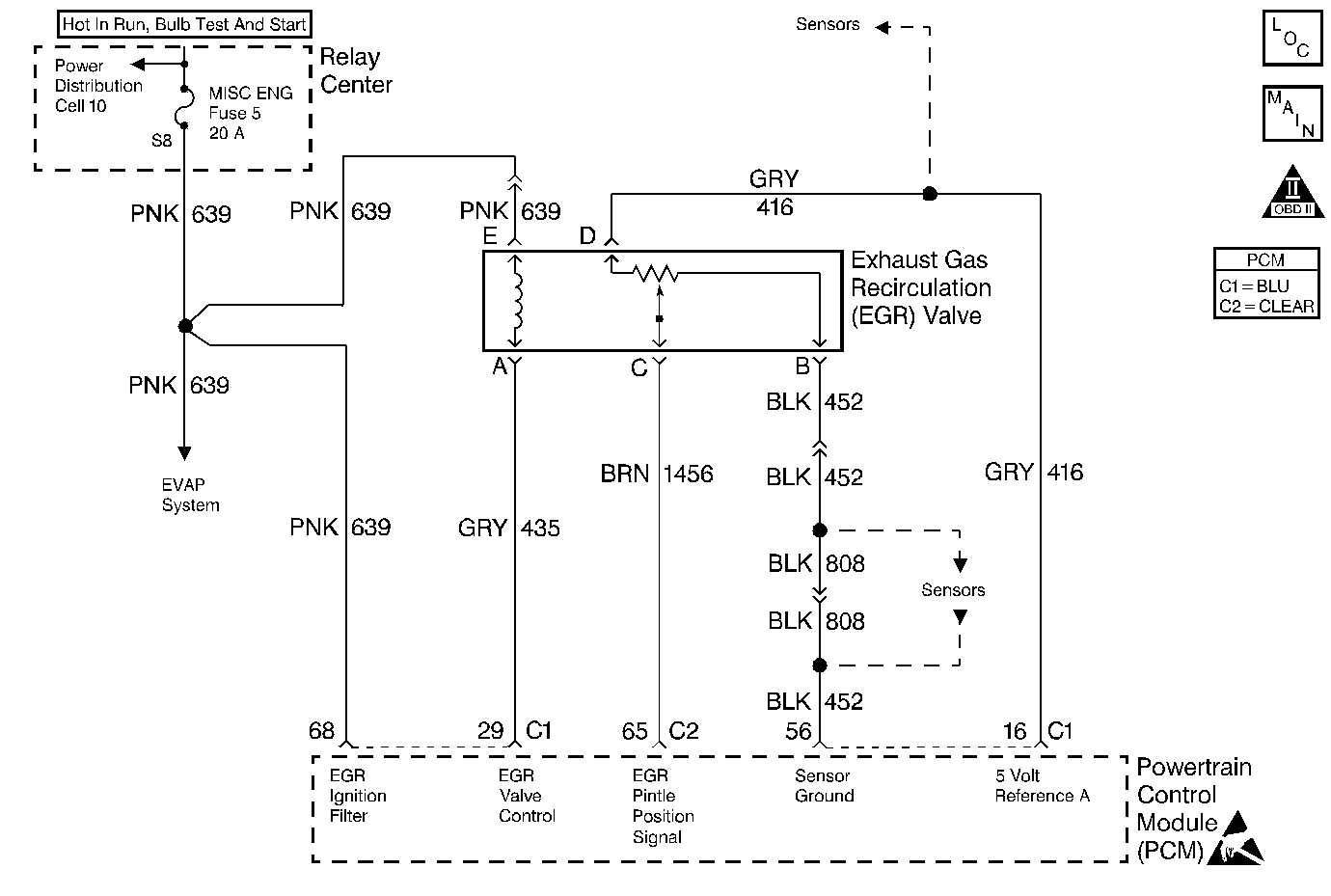
| An open in the EGR ignition filter circuit will cause erratic EGR Position Error readings while the EGR valve is operating. With the ignition ON, a test light should illuminate when connected between ground and the EGR ignition filter circuit at the PCM connector. If not, locate and repair the open in the EGR ignition filter circuit. |
| • | Excessive deposits on EGR valve pintle or seat. |
| Remove the EGR valve and check for deposits that may interfere with the EGR valve pintle extending completely or cause the pintle to stick. |
| • | Poor connection or damaged harness. |
| Inspect the wiring harness for damage. If the harness appears to be OK, observe the Actual EGR position display on the scan tool while moving connectors and wiring harnesses related to the EGR valve. A change in the display will indicate the location of the malfunction. |
| • | EGR Valve Icing. |
| EGR valve icing can occur during cold ambient conditions. An EGR valve icing condition will affect EGR system operation by causing the pintle to stick in the closed position. If DTC P1406 sets, EGR system operation may be inhibited for the remainder of the trip. |
Reviewing the Fail Records vehicle mileage since the diagnostic test last failed may help determine how often the condition that caused the DTC to be set
Number(s) below refer to the step number(s) on the Diagnostic Table:
Verifies that the malfunction is present.
The PCM contains a recirculation diode which filters the EGR ignition feed for the EGR valve. The recirculation diode is connected to the ignition filter (EGR ignition feed) circuit. If the ignition filter circuit is open, Actual EGR position may be erratic when compared to Desired EGR position. An open in the EGR ignition filter circuit will cause DTC P1406 to be set after an extended period of time.
If DTC P1406 will only set under certain conditions, the malfunction may be intermittent; refer to DTC P1406 Diagnostic Aids. If an intermittent wiring problem is not present, check for a poor connection at the PCM or the EGR valve. If the connections are OK and DTC P1406 continues to set, replace the EGR valve. Refer to Exhaust Gas Recirculation Valve Replacement .
This vehicle is equipped with a PCM which utilizes an Electrically Erasable Programmable Read Only Memory (EEPROM). When the PCM is being replaced, the new PCM must be programmed.
Step | Action | Value(s) | Yes | No | ||||||
|---|---|---|---|---|---|---|---|---|---|---|
1 | Was the Powertrain On-Board Diagnostic (OBD) System Check performed? | -- | ||||||||
With the engine idling, observe the Actual EGR Position display on the scan tool. Is Actual EGR Position at the specified value? | 0% | |||||||||
Does Desired EGR Position remain close to Actual EGR Position at all commanded positions? | -- | |||||||||
Is the test light ON? | -- | |||||||||
Does the scan tool indicate DTC P1406 failed this ign? | -- | Refer to Diagnostic Aids | ||||||||
6 |
Does the voltage measure near the specified value with the commanded EGR position at 100%? | B+ | ||||||||
7 | Probe the EGR valve ignition feed circuit with a test light to ground. Is the test light ON? | -- | ||||||||
8 |
Was the fuse blown? | -- | ||||||||
9 |
Was a problem found? | -- | ||||||||
10 |
Was a problem found? | -- | ||||||||
11 |
Is Actual EGR Position at the specified value? | 0% | ||||||||
12 |
Is the measured voltage near the specified value? | 0V | ||||||||
13 | Probe the sensor ground circuit at the EGR valve harness connector with a test light to B+. Is the test light ON? | -- | ||||||||
14 |
Was a problem found? | -- | ||||||||
15 | Probe the EGR control circuit at the EGR valve connector with a test light to B+. Is the test light ON? | -- | ||||||||
16 |
Is the test light ON? | -- | ||||||||
17 | Connect a digital multimeter to measure voltage between the EGR valve sensor ground circuit and the 5 volt reference A circuit at the EGR valve connector. Is the voltage at the specified value? | 5V | ||||||||
18 | Probe the pintle position circuit at the EGR valve harness connector with a test light connected to B+. Is the test light ON? | -- | ||||||||
19 |
Is Actual EGR Position at the specified value? | 100% | ||||||||
20 |
Was a problem found? | -- | ||||||||
21 |
Is the test light ON? | -- | ||||||||
22 |
Was a problem found? | -- | ||||||||
23 |
Was a problem found? | -- | ||||||||
24 | Locate and repair the open in the ignition feed circuit to the EGR valve. Refer to Repair Procedures in Electrical Diagnosis. Is action complete? | -- | -- | |||||||
25 |
Was a problem found? | -- | ||||||||
26 | Locate and repair the short to voltage in the pintle position circuit. Refer to Repair Procedures in Electrical Diagnosis. s action complete? | -- | -- | |||||||
27 | Replace the EGR valve. Refer to Exhaust Gas Recirculation Valve Replacement . Notice: If the EGR valve shows signs of excessive heat, inspect the exhaust
system for blockage--possibly a plugged converter--using the procedure
found on the Restricted Exhaust System Check. If the exhaust system is restricted,
repair the cause. Inspect for an open injector caused by one or more of the
following conditions:
Is action complete? | -- | -- | |||||||
28 | Locate and repair the short to ground in the EGR control circuit. Refer to Repair Procedures in Electrical Diagnosis. Is action complete? | -- | -- | |||||||
29 | Locate and correct the short to ground in the pintle position circuit. Refer to Repair Procedures in Electrical Diagnosis. Is action complete? | -- | -- | |||||||
30 |
Was a problem found? | -- | ||||||||
31 |
Was a problem found? | -- | ||||||||
Replace the PCM. Important:: The replacement PCM must be programmed. Refer to Powertrain Control Module Replacement/Programming . Is action complete? | -- | -- | ||||||||
33 | Locate and repair open in the EGR ignition filter circuit to the PCM. Refer to Repair Procedures in Electrical Diagnosis. Is action complete? | -- | -- | |||||||
34 |
Does the scan tool indicate DTC P1406 failed this ignition? | -- | System OK |