GM Service Manual Online
For 1990-2009 cars only

Object Number: 48628  Size: MF
Handling ESD Sensitive Parts Notice
OBD II Symbol Description Notice
Automatic Transmission Controls Schematics
Automatic Transmission Components

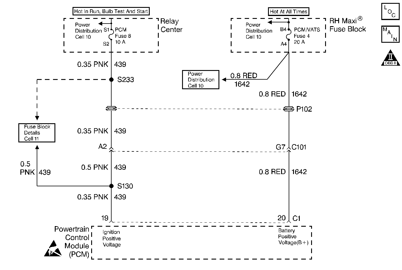
Circuit Description

Circuit 1642 is the fused battery feed for the Powertrain Control Module (PCM). Circuit 439 is the ignition feed for the PCM.

If the PCM detects a low voltage, or a high voltage, then DTC P0560 sets. DTC P0560 is a type D DTC.

Conditions for Setting the DTC

The system voltage is low:

    • The engine speed is more than 800 RPM.
    • The system voltage is less than 10.0 volts for 2 seconds.

The system voltage is high:

    • The transmission temperature is more than 0°C (32°F).
    • The system voltage is more than 16.0 volts for 2 seconds.

Action Taken When the DTC Sets

    • The transmission defaults to 3rd gear.
    • The PCM inhibits TCC operation.
    • The PCM does not illuminate the Malfunction Indicator Lamp (MIL).

Conditions for Clearing the DTC

    • A scan tool can clear the DTC from the PCM history. The PCM clears the DTC from the PCM history if the vehicle completes 40 warm-up cycles without a failure reported.
    • The PCM cancels the DTC default actions when the fault no longer exists and the ignition is OFF long enough in order to power down the PCM.

Diagnostic Aids

    • Charging the battery with a battery charger could set DTC P0560. Jump starting the vehicle could set DTC P0560.
    • If DTC P0560 sets when you operate accessories, inspect the applicable system for poor connections or excessive current draw.
    • Inspect the accessory drive belt for wear or incorrect tension.

Test Description

The numbers below refer to the step numbers on the diagnostic chart.

  1. The battery voltage must be above 10.5 volts before proceeding with this table.

  2. This Step ensures that there is no problem with the generator.

  3. This Step tests for high resistance in the battery feed circuit to the PCM.

  1. This Step tests for high resistance in the ignition feed circuit to the PCM.

DTC P0560 System Voltage Malfunction

Step

Action

Value(s)

Yes

No

1

Was the Powertrain On-Board Diagnostic (OBD) System Check performed?

--

Go to Step 2

Go to Powertrain On Board Diagnostic (OBD) System Check

2

  1. Install the Scan Tool ®.
  2. With the engine OFF, turn the ignition switch to the RUN position.
  3. Important: Before clearing the DTCs, use the scan tool in order to record the Failure Records for reference. Using the Clear Info function will erase the stored Failure Records from the PCM.

  4. Record the DTC Failure Records.
  5. Using the J 39200 DMM, measure the battery voltage across the battery terminals. Record the voltage.

Is the voltage greater than the specified value?

10.5V

Go to Step 3

Go to Battery Diagnosis, Section 6

3

Start the engine.

Is the Generator/Check Engine lamp illuminated?

--

Go to Charging System Diagnosis, Section 6.

Go to Step 4

4

  1. Select Ignition Voltage on the scan tool.
  2. Increase the engine speed to 1000-1500 RPM.
  3. Observe the scan tool Ignition Voltage.

Is the ignition voltage within the specified range?

13-15V

Go to Step 5

Go to Charging System Diagnosis, Section 6.

5

  1. Turn the ignition OFF.
  2. Disconnect the C1 PCM connector.
  3. With the engine OFF, turn the ignition ON.
  4. Test circuit 1642 for battery voltage at PCM connector terminal C1-20 with the J 39200 DMM.

Is the difference between the measured battery voltage and the voltage at terminal 20 greater than the specified value?

0.5V

Go to Step 7

Go to Step 6

6

Repair the high resistance in circuit 1642. Refer to Troubleshooting Procedures, Section 8.

Was a problem found and corrected?

--

Go to Step 11

--

7

Test circuit 439 for ignition voltage at PCM connector C1-19 with the J 39200 DMM.

Is the difference between the measured battery voltage and the voltage at terminal 19 greater than the specified value?

0.5V

Go to Step 8

Go to Step 9

8

Repair the high resistance in circuit 439. Refer to Troubleshooting Procedures, Section 8.

Was a problem found and corrected?

--

Go to Step 11

--

9

Inspect the PCM connector C1 for bent, damaged or backed out connector pins.

Did you find and correct a problem?

--

Go to Step 11

Go to Step 10

10

Replace the PCM. Refer to Powertrain Control Module Replacement/Programming , Section 6.

Is the replacement complete?

--

Go to Step 11

--

11

In order to verify your repair, perform the following procedure:

  1. Select DTC.
  2. Select Clear Info.
  3. Operate the vehicle under the following conditions:
  4. • The engine speed must be greater than 1000 RPM.
    • The transmission fluid temperature must be higher than 0°C (32°F).
    • The vehicle must reach normal operating temperature.
    • The system voltage must be 10-16 volts.
  5. Select Specific DTC. Enter DTC P0560.

Has the test run and passed?

--

System OK

Begin the diagnosis again. Go to Step 1