GM Service Manual Online
For 1990-2009 cars only
Table 1: DTC P1810 Automatic Transmission Fluid Pressure Switch Assembly Malfunction
Table 2: Pass Conditions for DTC P1810

Object Number: 53495  Size: MF
Automatic Transmission Components
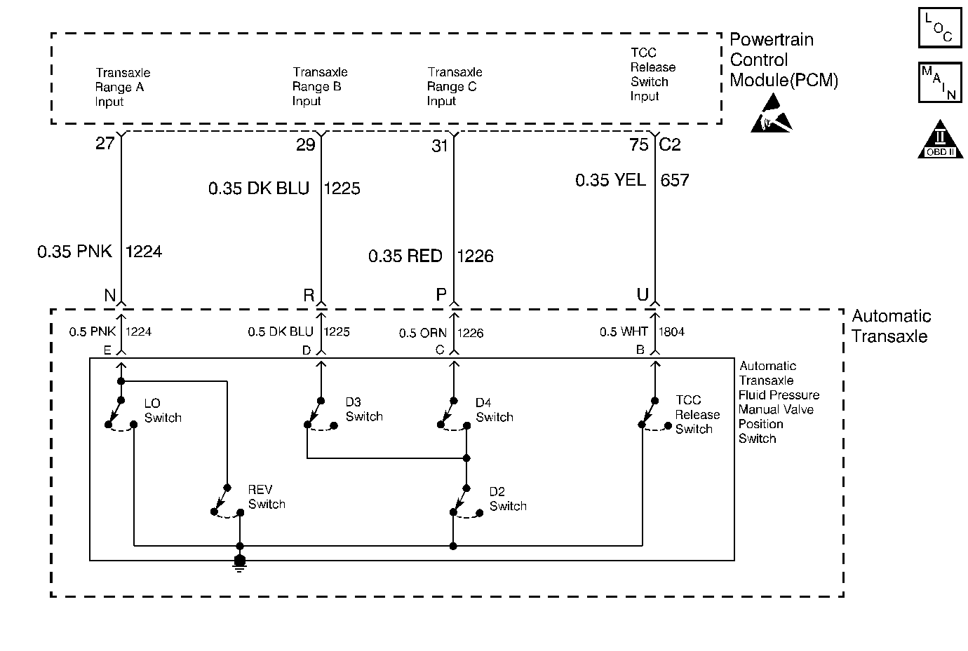
Automatic Transmission Controls Schematics
OBD II Symbol Description Notice
Handling ESD Sensitive Parts Notice

Circuit Description

The Automatic Transmission Fluid Pressure Manual Valve Position switch (TFP Val. Position Sw.) consists of six pressure switches (three normally-closed and three normally-open switches). Ignition voltage is applied to each of the switches. By grounding one or more of these switches with fluid pressure from the manual valve, the PCM can detect which gear range is selected.

If the PCM detects an illegal combination on any range inputs (OFF/OFF/OFF or OFF/OFF/ON), then DTC P1810 sets. If the PCM detects a gear range other than the one indicated, then DTC P1810 sets. DTC P1810 is a Type B DTC.

Conditions for Setting the DTC

One of the following fail cases must be true:

Case 1

    • The engine speed is more than 500 RPM for 5 seconds.
    • Not in fuel shut off.
    • The system voltage is 10-16 volts.
    • The TFP Val. Position Sw. indicates an illegal switch combination for 60 seconds.

Case 2

    • No VSS DTCs P0502 or P0503.
    • The system voltage is 10-16 volts.
    • The engine speed starts at less than 50 RPM and rises to more than 800 RPM.
    • The vehicle speed is less than 5 km/h (3 mph).
    • TFP Val. Position Sw. indicates Reverse, D2 or D4 for 7 seconds during and after start up without indicating Park/Neutral.

Case 3

    • No TPS DTCs P0121, P0122, or P0123.
    • No VSS DTCs P0502 or P0503.
    • No 1-2 SS valve DTCs P0751 or P0753.
    • No 2-3 SS valve DTCs P0756 or P0758.
    • The engine torque is 70-230 N·m (50-170 lb ft).
    • The engine speed is more than 500 RPM for 5 seconds.
    • Not in fuel shut off.
    • The throttle position is greater than 9%.
    • The gear ratio indicates Reverse, D4, D3, D2, or D1.
    • The vehicle speed is more than 8 km/h (5 mph).
    • The TFP Val. Position Sw. indicates Park/Neutral for 5 seconds.

Case 4

    • No TPS DTCs P0121, P0122, or P0123
    • No VSS DTCs P0502 or P0503
    • No 1-2 SS valve DTCs P0751 or P0753
    • No 2-3 SS valve DTCs P0756 or P0758
    • The engine torque is 70-230 N·m (50-170 lb ft).
    • The engine speed is more than 500 RPM for 5 seconds.
    • Not in fuel shut off.
    • The throttle position is greater than 9%.
    • The gear ratio indicates D4, D3, D2, or D1.
    • The vehicle speed is more than 8 km/h (5 mph).
    • The TFP Val. Position Sw. indicates Reverse for 7 seconds.

Case 5

    • No TPS DTCs P0121, P0122, or P0123
    • No VSS DTCs P0502 or P0503
    • No 1-2 SS valve DTCs P0751 or P0753
    • No 2-3 SS valve DTCs P0756 or P0758
    • The engine torque is 70-230 N·m (50-170 lb ft).
    • The engine speed is more than 500 RPM for 5 seconds.
    • Not in fuel shut off.
    • The throttle position is greater than 9%.
    • The gear ratio indicates Reverse.
    • The vehicle speed is more than 8 km/h (5 mph).
    • The TFP Val. Position Sw. indicates D4, D3, D2 or D1 for 5 seconds.

Action Taken When the DTC Sets

    • The PCM illuminates the Malfunction Indicator Lamp (MIL) after 2 consecutive ignition cycles with a failure reported.
    • The PCM commands maximum line pressure.
    • The PCM disables shift adapts.
    • The PCM assumes D4 for shifting.

Conditions for Clearing the MIL/DTC

    • The PCM turns OFF the MIL after three consecutive ignition cycles without a failure reported.
    • A scan tool can clear the DTC from the PCM history. The PCM clears the DTC from the PCM history if the vehicle completes 40 warm-up cycles without a failure reported.
    • The PCM cancels the DTC default actions when the fault no longer exists and the ignition is OFF long enough in order to power down the PCM.

Diagnostic Aids

    • Inspect the wiring for poor electrical connections at the PCM. Inspect the wiring for poor electrical connections at the transmission 20-way connector. Inspect the wiring for poor electrical connections at the 5-way TFP Val. Position Sw. connector. Look for the following problems:
       - A bent terminal
       - A backed out terminal
       - A damaged terminal
       - Poor terminal tension
       - A chafed wire
    • When diagnosing for an intermittent short or open, massage the wiring harness while watching the test equipment for a change.
    • If a transmission overhaul was performed, ensure that the transmission fluid is at the proper level. A low fluid condition may set this DTC.
    • Diagnose DTC 1520 first, if set.
    • Inspect the TFP Val. Position Sw. seals for damage.
    • Inspect the TFP Val. Position Sw. for debris.

Test Description

The numbers below refer to the step numbers on the diagnostic chart.

  1. Important: The scan tool display indicates ON and OFF:

    ON = the Switch is Closed

    OFF = the Switch is Open

    This step isolates the Automatic Transmission (A/T) Wiring Harness from the engine wiring harness. If the scan tool display does not match the value column, the source of the DTC may be in the engine wiring harness.

  2. This step inspects circuit 1224 of the engine wiring harness for a short to ground.

  3. This step inspects circuit 1225 of the engine wiring harness for a short to ground.

  4. This step inspects circuit 1226 of the engine wiring harness for a short to ground.

  5. This step verifies that circuit 1224 and circuit 1225 of the engine wiring harness are shorted together and shorted to ground.

  6. This step verifies that circuit 1224 and circuit 1226 of the engine wiring harness are shorted together and shorted to ground.

  7. This step verifies that circuit 1225 and circuit 1226 of the engine wiring harness are shorted together and shorted to ground.

  8. This step uses the Jumper Harness in order to test the engine wiring harness circuits. With this Step, the scan tool displays a good circuit 1224.

  9. This step verifies that circuit 1224 and circuit 1225 of the engine wiring harness are shorted together.

  10. This step moves the J 36169-A Fused Jumper Wire from terminal N to terminal R in order to test engine wiring harness circuit 1225.

  11. This step inspects circuit 1225 of the engine wiring harness for an open.

  12. This step verifies that circuit 1225 and circuit 1226 of the engine wiring harness are shorted together.

  13. This step moves the J 36169-A Fused Jumper Wire from terminal R to terminal P in order to test engine wiring harness circuit 1226.

  14. This step uses the jumper harness in order to test the A/T Wiring Harness. If the ohmmeter display does not match the value column, then either the A/T Wiring Harness or the TFP Val. Position Sw. Assy. is the source of the DTC. One ohmmeter probe is connected to terminal N of the A/T Wiring Harness. The other ohmmeter probe is then connected to the transmission case. This step determines whether circuit 1224 is faulty.

  15. This step moves the meter probe from terminal N to terminal R for testing the A/T Wiring Harness circuit 1225.

  16. This step moves the meter probe from terminal R to terminal P for testing the A/T Wiring Harness circuit 1226.

  17. The engine is running so that transmission fluid is applied to the pressure Switches. The ohmmeter verifies that the Automatic Transmission Wiring Harness circuits are open. This step verifies that circuit 1224 is faulty.

  18. This step moves the meter probe terminal N to terminal R in order to test the A/T Wiring Harness circuit 1225.

  19. This step moves the meter probe from terminal R to terminal P in order to test the A/T Wiring Harness circuit 1226.

  20. Because of the harsh conditions inside the transmission, repairing the A/T Wiring Harness is not acceptable. You must replace the A/T Wiring Harness.

DTC P1810 Automatic Transmission Fluid Pressure Switch Assembly Malfunction

Step

Action

Value(s)

Yes

No

1

Was the Powertrain On-Board Diagnostic (OBD) System Check performed?

--

Go to Step 2

Go to Powertrain On Board Diagnostic (OBD) System Check

2

Have you performed the transmission fluid checking procedure?

--

Go to Step 3

Go to Transmission Fluid Check

3

  1. Install the Scan Tool ®.
  2. With the engine OFF, turn the ignition Switch to the RUN position.
  3. Important: Before clearing the DTCs, use the scan tool in order to record the Freeze Frame and Failure Records for reference. The Clear Info function will erase the data.

  4. Record the DTC Freeze Frame and Failure Records.
  5. Select the TFP Switch A/B/C data parameter.
  6. Disconnect the transmission 20-way connector.

Does the scan tool display match the specified parameters?

Range A/B/C

Off Off Off

Go to Step 17

Go to Step 4

4

Does the scan tool display match the specified parameters?

Range A/B/C

On Off Off

Go to Step 5

Go to Step 6

5

  1. Inspect circuit 1224 of the engine wiring harness for a short to ground.
  2. Repair the circuit if necessary.

Refer to Troubleshooting Procedures, Section 8.

Did you find and correct the problem?

--

Go to Step 45

Go to Step 43

6

Does the scan tool display match the specified parameters?

Range A/B/C

Off On Off

Go to Step 7

Go to Step 8

7

  1. Inspect circuit 1225 of the engine wiring harness for a short to ground.
  2. Repair the circuit if necessary.

Refer to Troubleshooting Procedures, Section 8.

Did you find and correct the problem?

--

Go to Step 45

Go to Step 43

8

Does the scan tool display match the specified parameters?

Range A/B/C

Off Off On

Go to Step 9

Go to Step 10

9

  1. Inspect circuit 1226 of the engine wiring harness for a short to ground.
  2. Repair the circuit if necessary.

Refer to Troubleshooting Procedures, Section 8.

Did you find and correct the problem?

--

Go to Step 45

Go to Step 43

10

Does the scan tool display match the specified parameters?

Range A/B/C

On On Off

Go to Step 11

Go to Step 12

11

  1. Inspect circuit 1224 of the engine wiring harness for a short to ground.
  2. Inspect circuit 1225 of the engine wiring harness for a short to ground.
  3. Inspect circuits 1224 and 1225 of the engine wiring harness for a short together.
  4. Repair the circuits if necessary.

Refer to Troubleshooting Procedures, Section 8.

Did you find and correct the problem?

--

Go to Step 45

Go to Step 43

12

Does the scan tool display match the specified parameters?

Range A/B/C

On Off On

Go to Step 13

Go to Step 14

13

  1. Inspect circuit 1224 of the engine wiring harness for a short to ground.
  2. Inspect circuit 1226 of the engine wiring harness for a short to ground.
  3. Inspect circuits 1224 and 1226 of the engine wiring harness for a short together.
  4. Repair the circuits if necessary.

Refer to Troubleshooting Procedures, Section 8.

Did you find and correct the problem?

--

Go to Step 45

Go to Step 43

14

Does the scan tool display match the specified parameters?

Range A/B/C

Off On On

Go to Step 15

Go to Step 16

15

  1. Inspect circuit 1225 of the engine wiring harness for a short to ground.
  2. Inspect circuit 1226 of the engine wiring harness for a short to ground.
  3. Inspect circuits 1225 and 1226 of the engine wiring harness for a short together.
  4. Repair the circuits if necessary.

Refer to Troubleshooting Procedures, Section 8.

Did you find and correct the problem?

--

Go to Step 45

Go to Step 43

16

  1. Inspect circuit 1224 of the engine wiring harness for a short to ground.
  2. Inspect circuit 1225 of the engine wiring harness for a short to ground.
  3. Inspect circuit 1226 of the engine wiring harness for a short to ground.
  4. Inspect circuits 1224, 1225 and 1226 of the engine wiring harness for a short together.
  5. Repair the circuits if necessary.

Refer to Troubleshooting Procedures, Section 8.

Did you find and correct the problem?

--

Go to Step 45

Go to Step 43

17

  1. Connect the J 39775 Jumper Harness to the engine wiring harness 20-way connector.
  2. Using the J 35616-A Connector Test Adapter Kit, connect a J 36169-A Fused Jumper Wire from terminal N to a known good ground.

Does the scan tool display match the specified parameters?

Range A/B/C

On Off Off

Go to Step 23

Go to Step 18

18

Does the scan tool display match the specified parameters?

Range A/B/C

Off Off Off

Go to Step 19

Go to Step 20

19

  1. Inspect circuit 1224 of the engine wiring harness for an open.
  2. Repair the circuit if necessary.

Refer to Troubleshooting Procedures, Section 8.

Did you find and correct the problem?

--

Go to Step 45

Go to Step 43

20

Does the scan tool display match the specified parameters?

Range A/B/C

On On Off

Go to Step 21

Go to Step 22

21

  1. Inspect circuits 1224 and 1225 of the engine wiring harness for a short together.
  2. Repair the circuits if necessary.

Refer to Troubleshooting Procedures, Section 8.

Did you find and correct the problem?

--

Go to Step 45

Go to Step 43

22

  1. Inspect circuits 1224 and 1226 of the engine wiring harness for a short together.
  2. Repair the circuits if necessary.

Refer to Troubleshooting Procedures, Section 8.

Did you find and correct the problem?

--

Go to Step 45

Go to Step 43

23

Connect a J 36169-A Fused Jumper Wire from terminal R to a known good ground.

Does the scan tool display match the specified parameters?

Range A/B/C

Off On Off

Go to Step 28

Go to Step 24

24

Does the scan tool display match the specified parameters?

Range A/B/C

Off Off Off

Go to Step 25

Go to Step 26

25

  1. Inspect circuit 1225 of the engine wiring harness for an open.
  2. Repair the circuit if necessary.

Refer to Troubleshooting Procedures, Section 8.

Did you find and correct the problem?

--

Go to Step 45

Go to Step 43

26

Does the scan tool display match the specified parameters?

Range A/B/C

Off On On

Go to Step 27

Go to Step 28

27

  1. Inspect circuit 1225 of the engine wiring harness for an open.
  2. Inspect circuit 1226 of the engine wiring harness for an open.
  3. Repair the circuits if necessary.

Refer to Troubleshooting Procedures, Section 8.

Did you find and correct the problem?

--

Go to Step 45

Go to Step 43

28

Connect a J 36169-A Fused Jumper Wire from terminal P to a known good ground.

Does the scan tool display match the specified parameters?

Range A/B/C

Off Off On

Go to Step 30

Go to Step 29

29

  1. Inspect circuit 1226 of the engine wiring harness for an open.
  2. Repair the circuit if necessary.

Refer to Troubleshooting Procedures, Section 8.

Did you find and correct the problem?

--

Go to Step 45

Go to Step 43

30

  1. Disconnect the J 39775 Jumper Harness from the engine wiring harness.
  2. Connect the J 39775 Jumper Harness to the transmission 20-way connector. (Connector End View )
  3. Connect an ohmmeter probe to terminal N. Connect the other probe to the transmission case.

Is the ohmmeter display less than the specified value?

1000ohms

Go to Step 31

Go to Step 32

31

Inspect circuit 1224 of the A/T Wiring Harness for a short to ground.

Refer to Troubleshooting Procedures, Section 8.

Did you find the problem?

--

Go to Step 44

Go to Step 42

32

Connect an ohmmeter probe to terminal R. Connect the other probe to the transmission case.

Is the ohmmeter display less than the value listed in the Value column?

1000ohms

Go to Step 33

Go to Step 34

33

Inspect circuit 1225 of the A/T Wiring Harness for an open.

Refer to Troubleshooting Procedures, Section 8.

Did you find the problem?

--

Go to Step 44

Go to Step 42

34

Connect an ohmmeter probe to terminal P. Connect the other probe to the transmission case.

Is the ohmmeter display less than the value listed in the Value column?

1000ohms

Go to Step 35

Go to Step 36

35

Inspect circuit 1226 of the A/T Wiring Harness for a short to ground.

Refer to Troubleshooting Procedures, Section 8.

Did you find the problem?

--

Go to Step 44

Go to Step 42

36

  1. Run the engine at IDLE.
  2. Set the brake and block the wheels.
  3. Place the gear select lever in the Reverse position.
  4. Connect an ohmmeter probe from terminal N to the transmission case.

Is the ohmmeter display less than the value listed in the Value column?

5ohms

Go to Step 38

Go to Step 37

37

Inspect circuit 1224 of the A/T Wiring Harness for an open.

Refer to Troubleshooting Procedures, Section 8.

Did you find a problem?

--

Go to Step 44

Go to Step 42

38

  1. Connect an ohmmeter probe from terminal R to the transmission case.
  2. Place the gear select lever in the D3 position.

Is the ohmmeter display less than the value listed in the Value column?

5ohms

Go to Step 40

Go to Step 39

39

Inspect circuit 1225 of the A/T Wiring Harness for a short to ground.

Refer to Troubleshooting Procedures, Section 8.

Did you find the problem?

--

Go to Step 44

Go to Step 42

40

  1. Move the gear select lever into the D4 position.
  2. Connect an ohmmeter probe from terminal P to the transmission case.

Is the ohmmeter display less than the value listed in the Value column?

5ohms

Go to Step 43

Go to Step 41

41

Inspect circuit 1226 of the A/T Wiring Harness for an open.

Refer to Troubleshooting Procedures, Section 8.

Did you find the problem?

--

Go to Step 44

Go to Step 42

42

Replace the TFP Val. Position Switch.

Refer to Solenoids and Wiring Harness, in On-Vehicle Service.

Is the replacement complete?

--

Go to Step 45

--

43

Replace the PCM.

Refer to Powertrain Control Module Replacement/Programming , Section 6.

Was the replacement complete?

--

Go to Step 45

--

44

Replace the A/T Wiring Harness.

Refer to Solenoids and Wiring Harness, in On-Vehicle Service.

Was the replacement complete?

--

Go to Step 45

--

45

In order to verify your repair, perform the following procedure:

  1. Select DTC.
  2. Select Clear Info.
  3. Operate the vehicle, ensuring that all the pass cases in the following table are true.
  4. Select Specific DTC. Enter DTC P1810.

Has the test run and passed?

--

System OK

Begin the diagnosis again. Go to Step 1

Pass Conditions for DTC P1810

Pass Case 1

Pass Case 2

Pass Case 3

Pass Case 4

Pass Case 5

The engine speed is more than 500 RPM for 5 seconds.

The engine speed starts at less than 50 RPM and rises to more than 800 RPM.

The engine speed is more than 500 RPM for 5 seconds.

The engine is not in fuel shut off.

The vehicle speed is less than 5 km/h (3 mph).

The engine is not in fuel shut off.

The system voltage is 10-16 volts.

The throttle position is more than 9%.

The TFP Val. Position Sw. indicates any legal Switch combination for 60 seconds.

The TFP Val. Position Sw. indicates Park/Neutral for 0.15 seconds within 7 seconds after start up.

The engine torque is 70-230 N·m (50-170 lb ft).

--

--

The vehicle speed is more than 8 km/h (5 mph).

--

--

The gear ratio does not indicate Reverse, D4, D3, D2, or D1.

The gear ratio indicates Reverse.

The gear ratio indicates D4, D3, D2, or D1.

--

--

The TFP Val. Position Sw. indicates Park/Neutral for 1 second.

The TFP Val. Position Sw. indicates Reverse for 1 second.

The TFP Val. Position Sw. indicates D4, D3, D2, or D1 for 1 second.