GM Service Manual Online
For 1990-2009 cars only
Figure 1:

Cell 51: Power, Ground and Vehicle Speed Input


Object Number: 500221  Size: FS
Body Control Module Components
Cell 51: Audible Warning Circuit
Power Distribution Schematics
Power Distribution Schematics
Power Distribution Schematics
Power Distribution Schematics
Power Distribution Schematics
Ground Distribution Schematics
Handling ESD Sensitive Parts Notice
Power Distribution Schematics
Body Control System Connector End Views
Figure 2:

Cell 51: Audible Warning Circuit


Object Number: 500226  Size: FS
Body Control Module Components
Cell 51: Power Door Lock Circuits
Cell 51: Power, Ground and Vehicle Speed Input
Audible Warnings Schematics
Handling ESD Sensitive Parts Notice
Audible Warnings Schematics
Body Control System Connector End Views
Figure 3:

Cell 51: Power Door Lock Circuits


Object Number: 500230  Size: FS
Body Control Module Components
Cell 51: Interior Lamp Circuits
Cell 51: Audible Warning Circuit
Door Lock/Indicator Schematics
Door Lock/Indicator Schematics
Handling ESD Sensitive Parts Notice
Body Control System Connector End Views
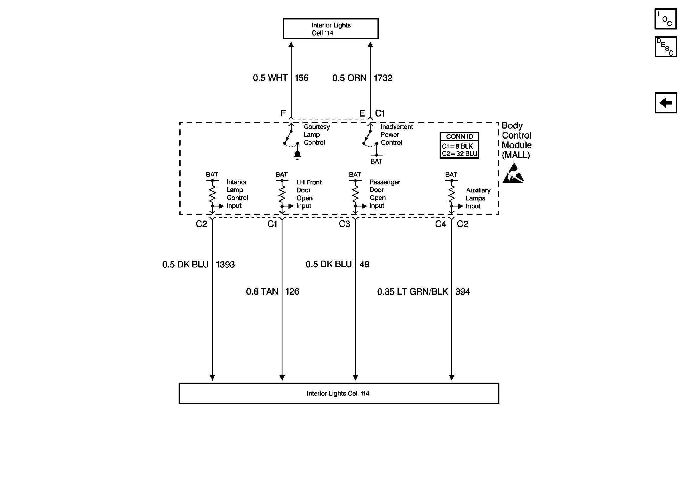
Figure 4:

Cell 51: Interior Lamp Circuits


Object Number: 500236  Size: FS
Body Control Module Components
Cell 51: Power Door Lock Circuits
Interior Lights Schematics Pontiac
Handling ESD Sensitive Parts Notice
Interior Lights Schematics Pontiac
Body Control System Connector End Views