GM Service Manual Online
For 1990-2009 cars only
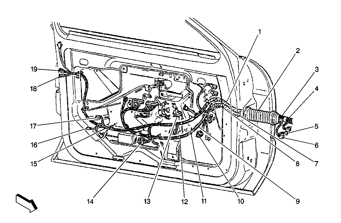
Figure 1:

Left Front Door, Behind the Door Trim


Object Number: 342715  Size: MF
(1)S510
(2)P500
(3)S505
(4)S506
(5)C210
(6)C212
(7)S504
(8)S503
(9)S502
(10)Traction Control Switch( if Equipped)
(11)S501
(12)S500
(13)LH Front Power Window Motor (RH Similar)
(14)Power Window Control Module
(15)C502 (LH) C603 (RH)
(16)C503 (LH) C602 (RH)
(17)C501 (LH) C601 (RH)
(18)LH Front Door Lock Actuator C2 (RH Similar)
(19)LH Front Door Lock Actuator C1 (RH Similar)
Figure 2:

Left Hand Rear Door, Behind the Door Trim


Object Number: 342718  Size: MF
(1)LH Rear Power Window Motor (RH Similar)
(2)P700 (LH) P800 (RH)
(3)C 701 (LH) C801 (RH)
(4)C702 (LH) C703 (LH) C802 (RH) C803 (RH)
(5)LH Rear Door Lock Actuator C2 (RH Similar)
(6)LH Rear Door Lock Actuator C1 (RH Similar)
Figure 3:

Passenger Compartment, LH Front Door (Buick/Oldsmobile)


Object Number: 387508  Size: LF
(1)LH Power Door Lock Switch (RH Similar)
Figure 4:

Passenger Compartment, On the Door Armrest


Object Number: 387529  Size: LF
(1)Mirror Switch (Buick)
(2)LH Seat Switch -- RH Similar (Buick)
(3)LH Front Power Window Switch -- RH Similar (Buick)
(4)Mirror Switch (Oldsmobile)
(5)LH Front Power Window Switch -- RH Similar (Oldsmobile)
(6)LH Power Door Lock Switch -- RH Similar (Pontiac)
(7)LH Front Power Window Switch -- RH Similar (Pontiac)
Figure 5:

Front Left Side of the Vehicle (Pontiac Shown, Others Similar)


Object Number: 387511  Size: LF
(1)LH Fog Lamp
(2)LH Outside Rear View Mirror
Figure 6:

Passenger Compartment, On the Left Front Door


Object Number: 387527  Size: LF
(1)RH Power Mirror Switch (Pontiac))
Figure 7:

Passenger Compartment, On the Rear Door


Object Number: 387530  Size: LF
(1)LH Rear Power Window Switch (RH Similar)
(2)LH Rear Door Courtesy Lamp (RH Similar)
(3)LH Rear Door Warning Lamp (RH Similar)