GM Service Manual Online
For 1990-2009 cars only

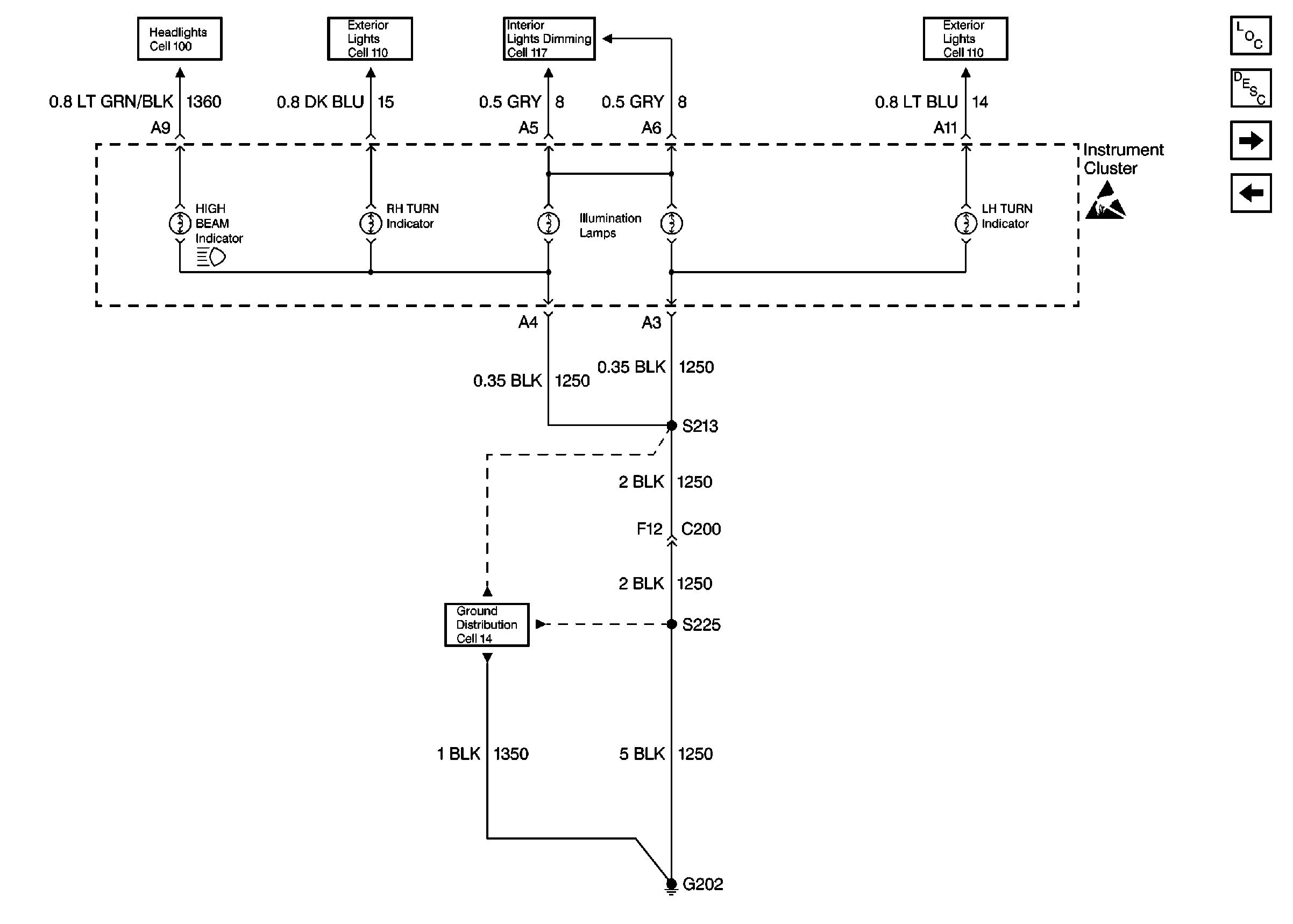
Cell 81: Instrument Cluster

Cell 81: Instrument Cluster


Object Number: 342685  Size: FS
Instrument Cluster and HUD Components
Instrument Cluster Circuit Description
Cell 81: Remote Indicator Bank
Cell 81: Instrument Cluster
Handling ESD Sensitive Parts Notice
Exterior Lights Schematics Buick
Exterior Lights Schematics Buick
Interior Lights Dimming Schematics Buick
Headlights Schematics Buick
Ground Distribution Schematics