GM Service Manual Online
For 1990-2009 cars only
Makes
🢒
Oldsmobile
🢒
1999
🢒
Eighty Eight
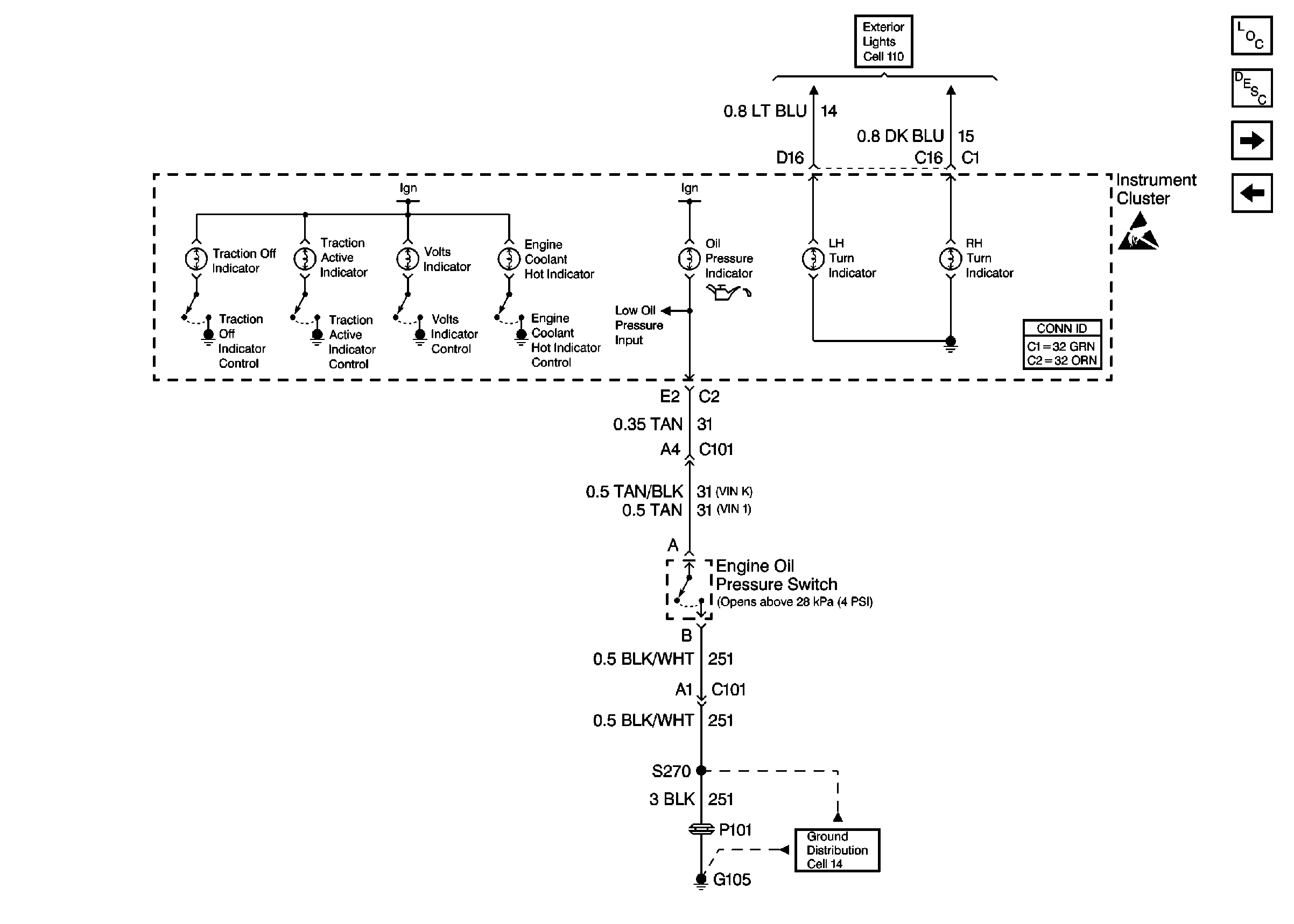
🢒 Cell 81: Engine Oil Pressure Switch
Cell 81: Engine Oil Pressure Switch
Cell 81: Engine Oil Pressure Switch
Instrument Cluster and HUD Components
Instrument Cluster Circuit Description
Cell 81: Body Control Module (MALL)
Cell 81: Fuel Tank Unit
Instrument Cluster and HUD Connector End Views
Handling ESD Sensitive Parts Notice
Ground Distribution Schematics
Exterior Lights Schematics Oldsmobile