GM Service Manual Online
For 1990-2009 cars only
Makes
🢒
Oldsmobile
🢒
1999
🢒
Eighty Eight
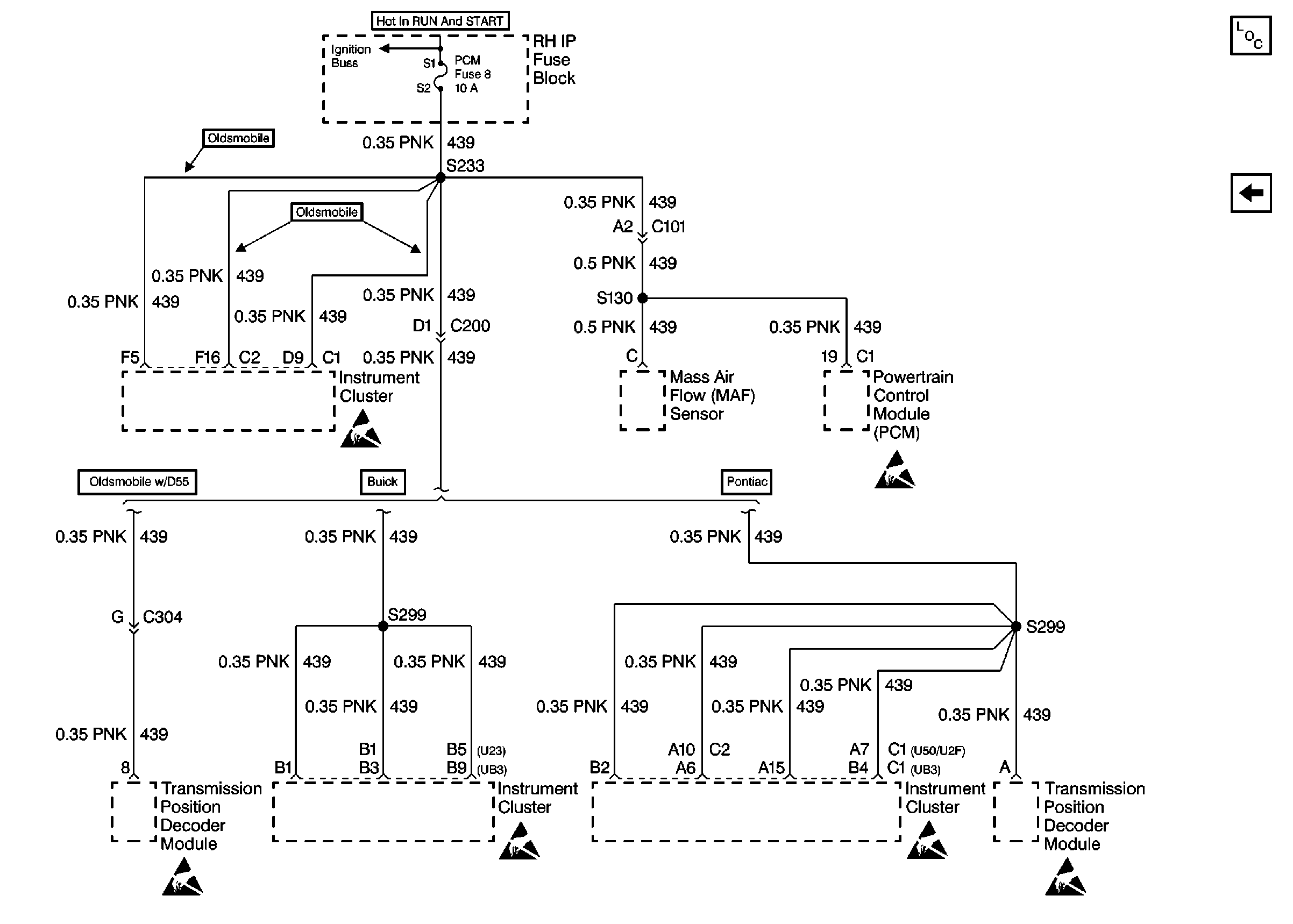
🢒 Cell 10: PCM Fuse
Cell 10: PCM Fuse
Cell 10: PCM Fuse
Power and Grounding Components
Cell 10: FUEL PUMP, MISC ENG OBD II, and INJECTOR Fuses
Handling ESD Sensitive Parts Notice
Handling ESD Sensitive Parts Notice
Handling ESD Sensitive Parts Notice
Handling ESD Sensitive Parts Notice
Handling ESD Sensitive Parts Notice
Handling ESD Sensitive Parts Notice
Cell 10: IGN SW Fuse (1 of 2)