GM Service Manual Online
For 1990-2009 cars only
Makes
🢒
Oldsmobile
🢒
1999
🢒
Eighty Eight
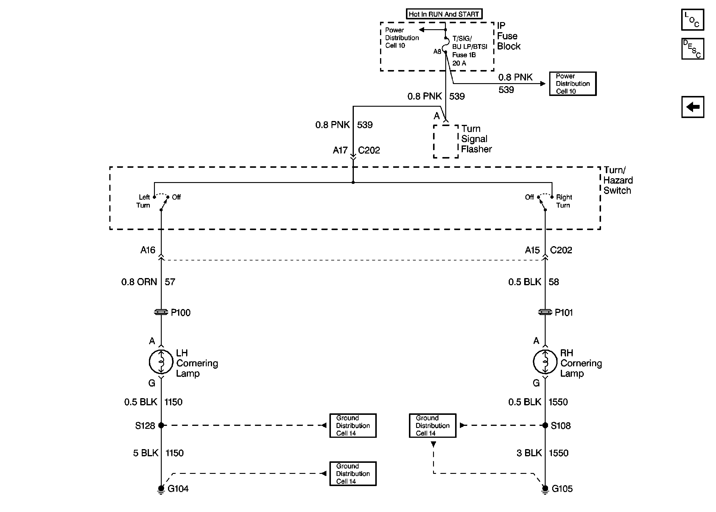
🢒 Cell 110: Cornering Lamps w/ T87
Cell 110: Cornering Lamps w/ T87
Cell 110: Cornering Lamps w/ T87
Lighting Systems Components
Exterior Lights Circuit Description
Cell 110: Tail/Stop/Turn, License, and Rear Side Marker Lamps
Power Distribution Schematics
Power Distribution Schematics
Ground Distribution Schematics
Ground Distribution Schematics
Ground Distribution Schematics