GM Service Manual Online
For 1990-2009 cars only

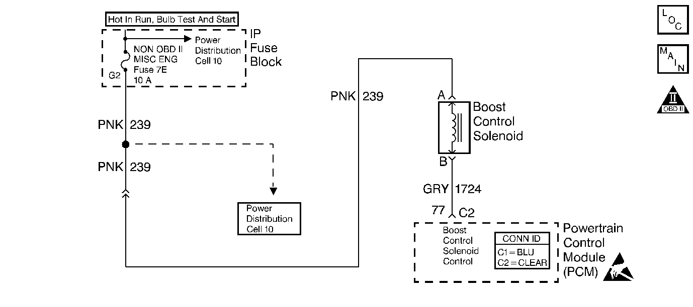
Object Number: 407843  Size: SF
Engine Controls Components
Engine Controls Schematics
OBD II Symbol Description Notice
Handling ESD Sensitive Parts Notice

Circuit Description

Output Driver Modules (ODMs) are used by the PCM to turn on many of the current-driven devices that are needed to control various engine and Transaxle functions. Each ODM is capable of controlling up to 7 separate outputs by applying ground to the device which the PCM is commanding ON. Unlike the Quad Driver Modules (QDMs) used in prior model years, ODMs have the capability of diagnosing each output circuit individually. DTC P1646 set indicates an improper voltage level has been detected the supercharger boost control solenoid control circuit.

Conditions for Running the DTC

The ignition is ON.

Conditions for Setting the DTC

    • An improper voltage level has been detected on the Boost Control solenoid control circuit.
    • The above conditions are present for at least 30 seconds.

Action Taken When the DTC Sets

The PCM stores conditions which were present when the DTC set as Failure Records only. This information will not be stored as Freeze Frame Records.

Conditions for Clearing the MIL/DTC

    • The DTC becomes history when the conditions for setting the DTC are no longer present.
    • The history DTC clears after 40 malfunction free warm-up cycles.
    • The PCM receives a clear code command from the scan tool.

Diagnostic Aids

Check for the following conditions:

    • Poor connection at the PCM or the boost control solenoid -- Inspect harness connectors for:
       - Backed out terminals
       - Improper mating
       -  Broken locks
       -  Improperly formed or damaged terminals
       -  Poor terminal to wire connection
    • Damaged harness -- Inspect the wiring harness for damage.
    • If the harness appears to be OK, disconnect the PCM, turn ON the ignition and observe a voltmeter connected between the boost control solenoid control circuit and ground at the PCM harness connector while moving connectors and wiring harnesses related to the boost control solenoid. A change in voltage will indicate the location of the malfunction.

Reviewing the Failure Records vehicle mileage since the diagnostic test last failed may help determine how often the condition that caused the DTC to be set occurs. This may assist in diagnosing the condition.

Test Description

The numbers below refer to the step numbers on the diagnostic table.

  1. Normally, ignition feed voltage should be present on the control circuit with the PCM disconnected and the ignition turned ON.

  2. Checks for a shorted component or a short to B+ on the control circuit. Either condition would result in a measured current of over 800 milliamps. Also checks for a component that is going open while being operated, resulting in a measured current of 0 milliamps.

  3. Checks for a short to voltage on the control circuit.

  4. This vehicle is equipped with a PCM which utilizes an Electrically Erasable Programmable Read Only Memory (EEPROM). When the PCM is being replaced, the new PCM must be programmed. Refer to PCM Replacement/Programming .

DTC P1646 -- Boost Control Solenoid Control Circuit

Step

Action

Value(s)

Yes

No

1

Was the Powertrain On-Board Diagnostic (OBD) System Check performed?

--

Go to Step 2

Go to Powertrain On Board Diagnostic (OBD) System Check

2

  1. Turn OFF the ignition switch.
  2. Disconnect the PCM.
  3. Turn ON the ignition switch.
  4. Measure voltage between the boost control solenoid control circuit at the PCM harness connector and ground, using a Digital Multimeter.

Is voltage near the specified value?

B+

Go to Step 3

Go to Step 6

3

  1. Connect the DMM to measure current between the boost control solenoid control circuit at the PCM harness connector and ground.
  2. Monitor the current reading on the DMM for at least 2 minutes.

Does the current reading remain between the specified values?

0.05-0.8 Amps

(50-800 mA)

Go to Step 11

Go to Step 4

4

  1. Turn OFF the ignition switch.
  2. Disconnect the boost control solenoid (leave the PCM disconnected).
  3. Turn ON the ignition switch.
  4. Measure voltage between the boost control solenoid control circuit and ground, using a Digital Multimeter.

Is voltage at the specified value?

0 V

Go to Step 10

Go to Step 5

5

Locate and repair short to voltage in the boost control solenoid control circuit. Refer to Wiring Repairs .

Is the action complete?

--

Go to Step 16

--

6

  1. Turn OFF the ignition switch.
  2. Check the ignition feed fuse for the boost control solenoid.

Is the fuse blown?

--

Go to Step 7

Go to Step 8

7

  1. Locate and repair short to ground in ignition feed circuit for the boost control solenoid. Refer to Wiring Repairs .
  2. Replace the fuse. Refer to Power Distribution Schematics .

Is the action complete?

--

Go to Step 16

--

8

  1. Disconnect the boost control solenoid.
  2. Turn ON the ignition switch.
  3. Measure voltage between the ignition feed circuit for the boost control solenoid and ground, using a Digital Multimeter.

Is voltage near the specified value?

B+

Go to Step 9

Go to Step 13

9

  1. Check the boost control solenoid control circuit for an open or a short to ground.
  2. If a problem is found, repair the boost control solenoid control circuit. Refer to Wiring Repairs .

Was a problem found?

--

Go to Step 16

Go to Step 10

10

  1. Check for the following conditions:
  2. • The boost control solenoid control circuit for a poor connection at the PCM.
    • The boost control solenoid control circuit for a poor connection at the boost control solenoid.
    • The boost control solenoid ignition feed circuit for a poor connection at the boost control solenoid.
  3. If a problem is found, replace loose terminal(s) as necessary. Refer to Intermittents and Poor Connections Diagnosis .

Was a problem found?

--

Go to Step 16

Go to Step 14

11

  1. Turn OFF the ignition switch.
  2. Reconnect the PCM.
  3. Disconnect the boost control solenoid.
  4. Turn ON the ignition switch.
  5. Connect a test lamp between the boost control solenoid control circuit and the ignition feed circuit at the boost control solenoid harness connector.
  6. Using the scan tool outputs test function, cycle the boost control solenoid output ON and OFF.

Does the test lamp flash ON and OFF?

--

Go to Diagnostic Aids

Go to Step 12

12

  1. Check the boost control solenoid control circuit for a poor connection at the PCM.
  2. If a problem is found, replace loose terminal. Refer to Intermittents and Poor Connections Diagnosis .

Was a problem found?

--

Go to Step 16

Go to Step 15

13

Locate and repair open in ignition feed circuit to the boost control solenoid. Refer to Wiring Repairs .

Is the action complete?

--

Go to Step 16

--

14

Replace the boost control solenoid. Refer to Boost Control Solenoid Replacement .

Is the action complete?

--

Go to Step 16

--

15

Important:: The replacement PCM must be programmed.

Refer to Powertrain Control Module Replacement/Programming .

Replace the PCM.

Is the action complete?

--

Go to Step 16

--

16

  1. Review and record scan tool Fail Records data.
  2. Clear the DTCs.
  3. Operate the vehicle within Fail Records conditions.
  4. Monitor Specific DTC info for DTC P1646 until the DTC P1646 test runs, using a scan tool.

Does the scan tool indicate DTC P1646 failed this ignition?

--

Go to Step 2

System OK