GM Service Manual Online
For 1990-2009 cars only
Makes
🢒
Oldsmobile
🢒
1998
🢒
Intrigue
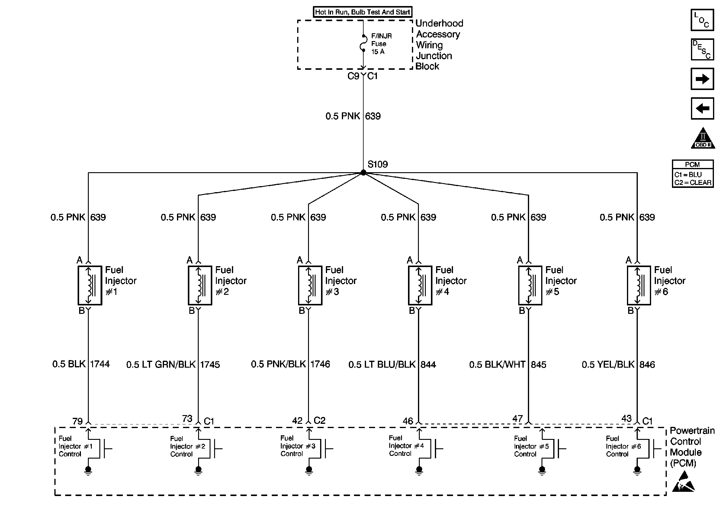
🢒 Fuel Injectors
Fuel Injectors
Fuel Injectors
Engine Controls Components
Powertrain Control Module Description
Indicator Lamps
Fuel Control
OBDII Symbol Description Notice
Handling Electrostatic Discharge Sensitive Parts Notice