GM Service Manual Online
For 1990-2009 cars only

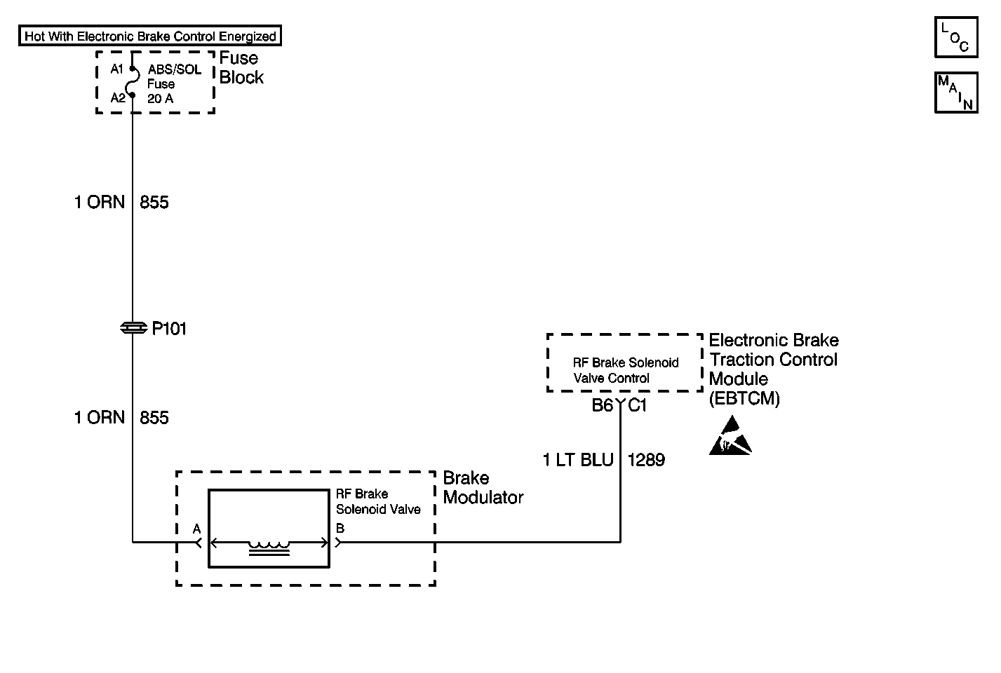
Object Number: 307953  Size: MF
ABS Components
Antilock Brake System Schematics
Handling Electrostatic Discharge Sensitive Parts Notice

Circuit Description

DTC C1278 identifies a brake solenoid valve that cannot be energized. The malfunction may be caused by one of the following conditions:

    • An open in the solenoid valve circuitry
    • The solenoid valve is always energized due to a short to ground in the solenoid valve circuitry between the driver and the brake solenoid valve.

An open will not allow proper ABS operation, but the short to ground simply turns on the brake solenoid valve. A path for base brakes is still allowed once the motor rehomes and the check ball is lifted off its seat during key to RUN initialization.

Conditions for Setting the DTC

DTC C1278 can set only when the solenoid is commanded off while the Electronic Brake Control Relay is enabled.

A malfunction exists if the EBTCM detects the right front brake solenoid valve control circuit voltage is not within specifications.

Action Taken When the DTC Sets

    • A malfunction DTC stores.
    • The ABS/ETS disables.
    • The amber ABS/ETS warning indicators turn on.

Conditions for Clearing the DTC

    • The condition responsible for setting the DTC no longer exists and the Scan Tool Clear DTCs function is used.
    • 100 drive cycles pass with no DTCs detected.

Diagnostic Aids

The following conditions may cause an intermittent malfunction:

    • A poor connection
    • Rubbed-through wire insulation
    • A broken wire inside the insulation

Use the enhanced diagnostic function of the Scan Tool in order to measure the frequency of the malfunction. Refer to the Scan Tool manual or Scan Tool Diagnostics located in this section for the procedure.

Thoroughly inspect any circuitry that may cause the intermittent complaint for the following conditions:

    • Backed out terminals
    • Improper mating
    • Improperly formed or damaged terminals
    • Poor terminal-to-wiring connections
    • Physical damage to the wiring harness

Step

Action

Value(s)

Yes

No

1

Was the Diagnostic System Check performed?

--

Go to Step 2

Go to Diagnostic System Check - ABS

2

  1. Turn the ignition switch to the OFF position.
  2. Disconnect the 24-way EBTCM connector C1.
  3. Use the J 39200 in order to measure the resistance between the 24-way EBTCM harness connector C1 terminal B6 and ground.

Is the resistance within the specified range?

OL

(Infinite)

Go to Step 3

Go to Step 12

3

  1. Disconnect the right front brake solenoid valve connector.
  2. Use the J 39200 in order to measure the resistance between the 24-way EBTCM harness connector C1 terminal B6 and the right front brake solenoid valve harness connector terminal B.

Is the resistance within the specified range?

0.0-2.0 ohms

Go to Step 4

Go to Step 15

4

Use the J 39200 in order to measure the resistance between the right front ABS brake solenoid valve connector terminal A and the right front brake solenoid valve connector terminal B.

Is the resistance within the specified range?

2.0-5.0 ohms

Go to Step 5

Go to Step 16

5

Use a J 39200 in order to measure the resistance between the Electronic Brake Control Relay harness connector terminal A2 and the right front brake solenoid valve connector terminal A.

Is the resistance within the specified range?

0.0-2.0 ohms

Go to Step 6

Go to Step 9

6

  1. Inspect the 24-way EBTCM connector C1 and the 24-way EBTCM harness connector C1 for the following conditions:
  2. • Terminal damage
    • Poor terminal contact
    • Terminal corrosion
  3. Inspect the right front brake solenoid valve connector and the right front brake solenoid valve harness connector for the following conditions:
  4. • Terminal damage
    • Poor terminal contact
    • Terminal corrosion

Are terminal corrosion, damaged terminals, or poor terminal contact evident?

--

Go to Step 17

Go to Step 7

7

Inspect CKT 1289 for damage. Damage may cause a short to ground with all the connectors connected.

Is there damage which may cause a short to ground with the connectors connected?

--

Go to Step 18

Go to Step 8

8

  1. Reconnect the 24-way EBTCM connector C1.
  2. Reconnect the right front brake solenoid valve connector.
  3. Turn the ignition switch to the ON position.
  4. Do not start the engine.

  5. Use the scan tool in order to inspect for DTCs.

Does DTC C1278 set as a current DTC?

--

Go to Step 22

Go to Step 23

9

  1. Remove the ABS Fuse (20A) from the engine wiring harness junction block 2.
  2. Use the J 39200 in order to measure the resistance between the terminals of the ABS Fuse (20A).

Is the resistance within the specified range?

0.0-2.0 ohms

Go to Step 10

Go to Step 19

10

Use the J 39200 in order to measure the resistance between the Electronic Brake Control Relay harness connector terminal A2 and the terminal A1.

Is the resistance within the specified range?

0.0-2.0 ohms

Go to Step 11

Go to Step 20

11

Use the J 39200 in order to measure the resistance between the terminal A2 and the left front brake solenoid valve harness connector terminal A.

Is the resistance within the specified range?

0.0-2.0 ohms

Go to Step 13

Go to Step 21

12

  1. Disconnect the right front brake solenoid valve connector.
  2. Use the J 39200 in order to measure the resistance between the right front brake solenoid valve connector terminal A and ground.

Is the resistance within the specified range?

OL

(Infinite)

Go to Step 14

Go to Step 16

13

Replace the ABS Fuse (20A) with a known good Fuse (20A).

Is the replacement complete?

--

Go to Step 8

--

14

Repair the short to ground in CKT 1289.

Is the repair complete?

--

Go to Diagnostic System Check - ABS

--

15

Repair the open or high resistance in CKT 1289.

Is the repair complete?

--

Go to Diagnostic System Check - ABS

--

16

Replace the right front brake solenoid valve. Refer to Brake Solenoid Valve Replacement .

Is the repair complete?

--

Go to Diagnostic System Check - ABS

--

17

Replace all the terminals and connectors that exhibit the following conditions:

    • Poor terminal contact
    • Terminal corrosion
    • Damaged terminals

Is the repair complete?

--

Go to Diagnostic System Check - ABS

--

18

Repair the damage to CKT 1289.

Is the repair complete?

--

Go to Diagnostic System Check - ABS

--

19

Replace the fuse block ABS Fuse (20A).

Is the repair complete?

--

Go to Diagnostic System Check - ABS

--

20

Repair the open or high resistance in CKT 1633.

Is the repair complete?

--

Go to Diagnostic System Check - ABS

--

21

Repair the open or high resistance in CKT 855.

Is the repair complete?

--

Go to Diagnostic System Check - ABS

--

22

Replace the EBTCM. Refer to Electronic Brake and Traction Control Module Replacement .

Is the repair complete?

--

Go to Diagnostic System Check - ABS

--

23

Is the malfunction intermittent or is not present at this time?

--

Go to Diagnostic Aids

--