GM Service Manual Online
For 1990-2009 cars only

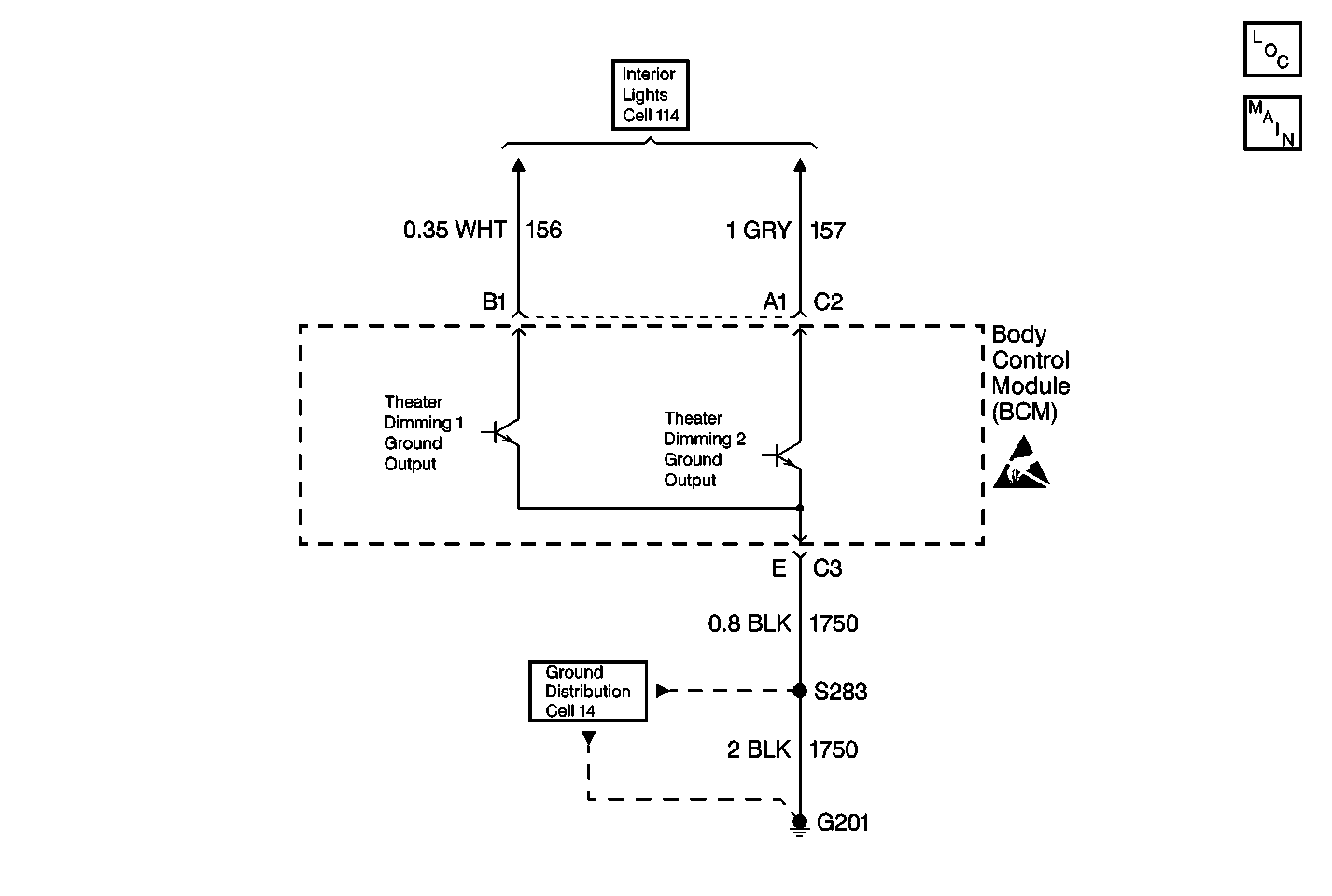
Object Number: 308615  Size: MF
Interior Lights Schematics
Handling Electrostatic Discharge Sensitive Parts Notice
Ground Distribution Schematics
Body Control Module Components
Body Control System Schematics

Circuit Description

The BCM receives ground from circuit 1750 used for interior courtesy light operation.

Conditions for Setting the DTC

    • The BCM detects an open in circuit 1750.
    • All conditions must be present for more than 0.3 seconds.

Action Taken When the DTC Sets

The BCM stores DTC B0828 in memory.

Conditions for Clearing the DTC

    • The BCM detects ground in circuit 1750.
    • A history DTC will clear after 100 consecutive ignition cycles if the condition for the malfunction is no longer present.
    • Using a scan tool.

Diagnostic Aids

    • If the DTC is a history DTC, the problem may be intermittent. Try performing the tests shown while moving wiring and connectors, this can often cause the malfunction to reappear.
    • This DTC may set intermittently if the BCM is open internally.
    • DTC P1626 will set in the Powertrain Control Module (PCM) when the ignition switch is on with the Body Control Module (BCM) disconnected. When BCM diagnostics and repairs are completed, refer to Powertrain Control Module Diagnosis in Engine Controls for additional information on PCM related DTCs.

Test Description

The numbers below refer to the step numbers on the diagnostic table.

  1. This step checks for an open in circuit 1750.

  2. This step determines whether the condition is intermittent or the BCM is faulty.

Step

Action

Value(s)

Yes

No

1

Was the BCM Diagnostic System Check performed?

--

Go to Step 2

Go to Diagnostic System Check - Body Control System

2

  1. Turn the ignition switch off.
  2. Disconnect the Body Control Module (BCM) connector C3.
  3. Using a test lamp, connect between B+ and the BCM harness connector C3 terminal E.

Is the test lamp on?

--

Go to Step 3

Go to Step 5

3

  1. Turn the ignition switch off.
  2. Reinstall connectors/components removed.
  3. Turn the ignition switch on.
  4. Clear BCM DTCs. Refer to Clearing DTCs for more information.
  5. Check for BCM DTCs. Refer to Diagnostic Trouble Code (DTC) Displaying for more information.

Does the BCM DTC B0828 reset as current DTC?

--

Go to Step 4

Go to Step 6

4

    • Check the BCM connector C3 terminal E for a poor connection.
    • If the connection is OK, then replace the BCM. Refer to Body Control Module Replacement for more information.
    • After replacing the BCM, perform the Setup New BCM procedure. Refer to Body Control Module (BCM) Programming/RPO Configuration for more information.

Is the repair complete?

--

Go to Step 7

--

5

Repair poor connection or open in circuit 1750.

Is the repair complete?

--

Go to Step 7

--

6

The malfunction is not present at this time. Refer to Diagnostic Aids for additional information regarding this DTC.

--

--

--

7

  1. Turn the ignition switch off.
  2. Reinstall connectors/components removed.
  3. Turn the ignition switch on.
  4. Clear BCM DTCs. Refer to Clearing DTCs for more information.
  5. Check for BCM DTCs. Refer to Diagnostic Trouble Code (DTC) Displaying for more information.

Are there any BCM current DTCs set?

--

Go to Diagnostic System Check - Body Control System

System OK