GM Service Manual Online
For 1990-2009 cars only

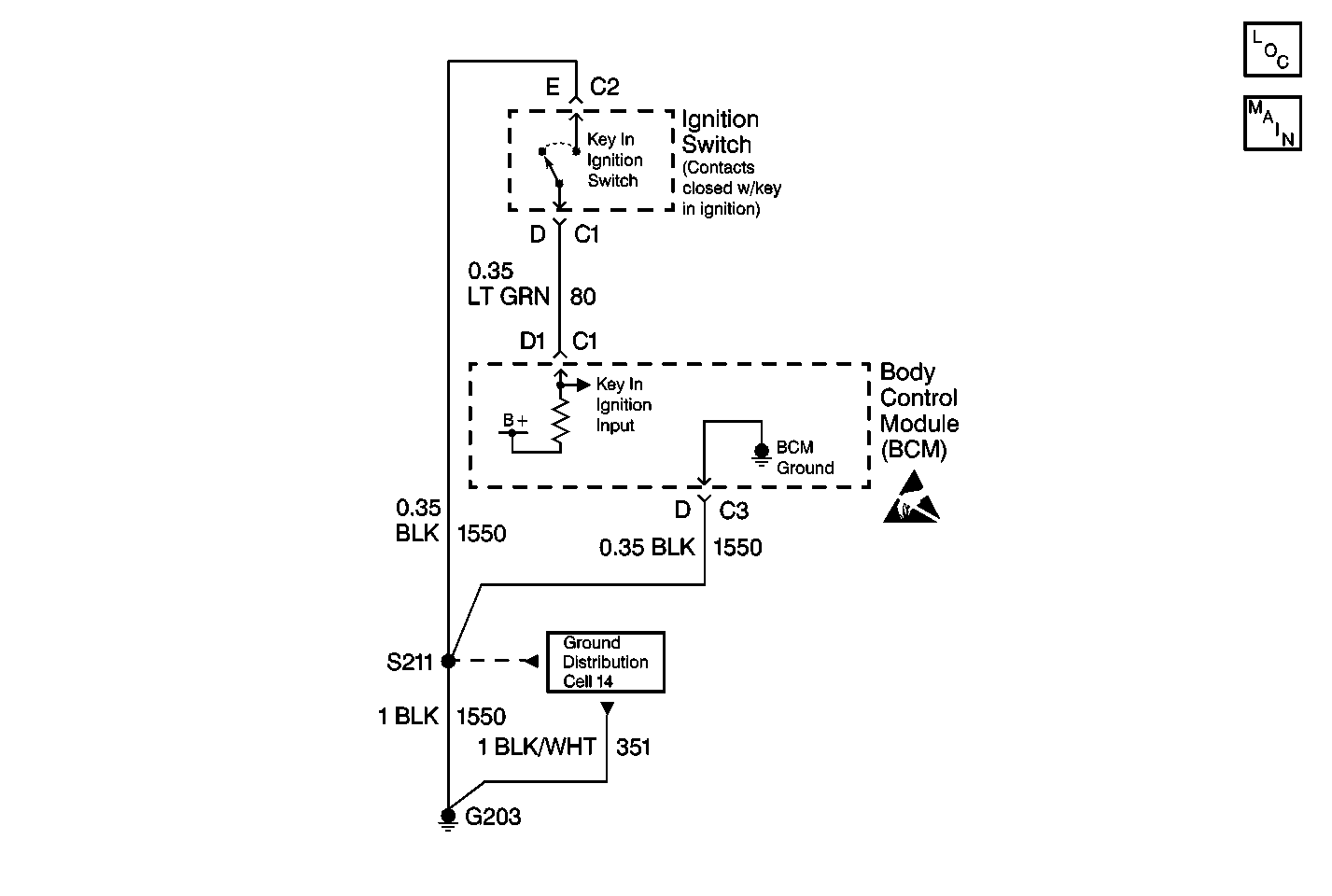
Object Number: 308607  Size: MF
Handling Electrostatic Discharge Sensitive Parts Notice
Ground Distribution Schematics
Body Control Module Components
Body Control System Schematics

Circuit Description

The BCM interfaces with the key in ignition switch. The key in ignition switch grounds circuit 80 when the key is fully inserted in the ignition switch. The key in ignition switch opens when key is removed from the ignition switch. The BCM uses this input for the operation of the key in the ignition reminder, exit illumination, and lockout prevention. The key in ignition switch receives ground through circuit 1550.

Conditions for Setting the DTC

  1. The BCM does not detect a ground signal in circuit 80 when the BCM is detecting voltage in circuit 1500.
  2. All conditions must be present for more than 0.3 seconds.

Action Taken When the DTC Sets

The BCM stores DTC B2739 in memory.

Conditions for Clearing the DTC

    • The BCM receives a key in ground signal (circuit 80) when the ignition switch is not off, then the BCM changes the DTC status from current to history.
    • A history DTC will clear after 100 consecutive ignition cycles if the condition for the fault is no longer present.
    • Using a scan tool.

Diagnostic Aids

    • The following conditions may cause an intermittent malfunction to occur:
      • An intermittent open or short to ground in circuit 80.
      • An intermittent open in circuit 1550.
      • Poor connections at the BCM or the key in ignition switch.
      • An intermittent open in G203.
      • Faulty ignition switch.
    • The BCM is open internally.
    • DTC P1626 will set in the Powertrain Control Module (PCM) when the ignition switch is on with the Body Control Module (BCM) disconnected. When BCM diagnostics and repairs are completed, refer to Powertrain Control Module Diagnosis in Engine Controls for additional information on PCM related DTCs.

Test Description

The numbers below refer to the step numbers on the diagnostic table.

  1. This step determines whether circuit 80 or 1550 is open, or the ignition key alarm switch is faulty (contacts always open).

  2. This step checks for either short to ground in circuit 80 or a faulty ignition key alarm switch (contacts always closed).

  3. This step determines whether the malfunction is intermittent or the BCM is faulty.

  4. This step checks for an open in circuit 1550.

  5. This step checks for either an open in circuit 80 or a faulty ignition key alarm switch.

  6. This step checks for either a short to ground in circuit 80 or a faulty ignition key alarm switch.

Step

Action

Value(s)

Yes

No

1

Was the BCM Diagnostic System Check performed?

--

Go to Step 2

Go to Diagnostic System Check - Body Control System

2

Check for BCM current DTCs. Refer to Diagnostic Trouble Code (DTC) Displaying for more information.

Is BCM DTC B0608 also set as a current DTC?

--

Go to DTC B0608 BCM Power Moding Error

Go to Step 3

3

  1. Turn the ignition switch off.
  2. Leave the key fully inserted in the ignition switch.
  3. Disconnect the BCM connector C1.
  4. Using a DMM, measure the resistance between the BCM harness connector C1 terminal D1 and ground.

Is the resistance measured within the specified range?

Less than 50ohms

Go to Step 4

Go to Step 6

4

  1. Leave the DMM connected from the previous step.
  2. Remove the key from the ignition switch.
  3. Using a DMM, measure the resistance again.

Is the resistance measured within the specified range?

Go to Step 5

Go to Step 8

5

  1. Reinstall connectors/components removed.
  2. Turn the ignition switch on.
  3. Clear BCM DTCs. Refer to Clearing DTCs for more information.
  4. Turn the ignition switch off.
  5. Turn the ignition switch on.
  6. Check for BCM current DTCs. Refer to Diagnostic Trouble Code (DTC) Displaying for more information.

Does DTC B2739 reset as a current DTC?

--

Go to Step 13

Go to Step 14

6

  1. Disconnect the ignition switch electrical connectors.
  2. Using a test lamp, connect between B+ and the ignition switch harness connector C2 terminal E.

Is the test lamp on?

--

Go to Step 7

Go to Step 9

7

Using a DMM, measure the resistance between the BCM harness connector C1 terminal D1 and the ignition switch harness connector C1 terminal D.

Is the resistance measured within the specified range?

Less than 2ohms

Go to Step 10

Go to Step 11

8

  1. Leave the DMM connected from the previous step.
  2. Disconnect the ignition switch electrical connectors.
  3. Using a DMM, measure the resistance again.

Is the resistance measured within the specified range?

Go to Step 10

Go to Step 12

9

Repair poor connection or open in circuit 1550.

Is the repair complete?

--

Go to Step 15

--

10

Replace the ignition switch. Refer to Ignition and Start Switch Replacement in Instrument Panel, Gauges and Console for service procedures.

Is the repair complete?

--

Go to Step 15

--

11

Repair poor connection or open in circuit 80.

Is the repair complete?

--

Go to Step 15

--

12

Repair short to ground in circuit 80.

Is the repair complete?

--

Go to Step 15

--

13

  1. Replace the BCM. Refer to Body Control Module Replacement for more information.
  2. After replacing the BCM, perform the Setup New BCM procedure. Refer to Body Control Module (BCM) Programming/RPO Configuration for more information.

Is the repair complete?

--

Go to Step 15

--

14

The malfunction is not present at this time. Refer to Diagnostic Aids for additional information regarding this DTC.

--

--

--

15

  1. Turn the ignition switch off.
  2. Reinstall connectors/components removed.
  3. Turn the ignition switch on.
  4. Clear BCM DTCs. Refer to Clearing DTCs for more information.
  5. Check for BCM current DTCs. Refer to Diagnostic Trouble Code (DTC) Displaying for more information.

Are there any BCM current DTCs set?

--

Go to Diagnostic System Check - Body Control System

System OK