GM Service Manual Online
For 1990-2009 cars only

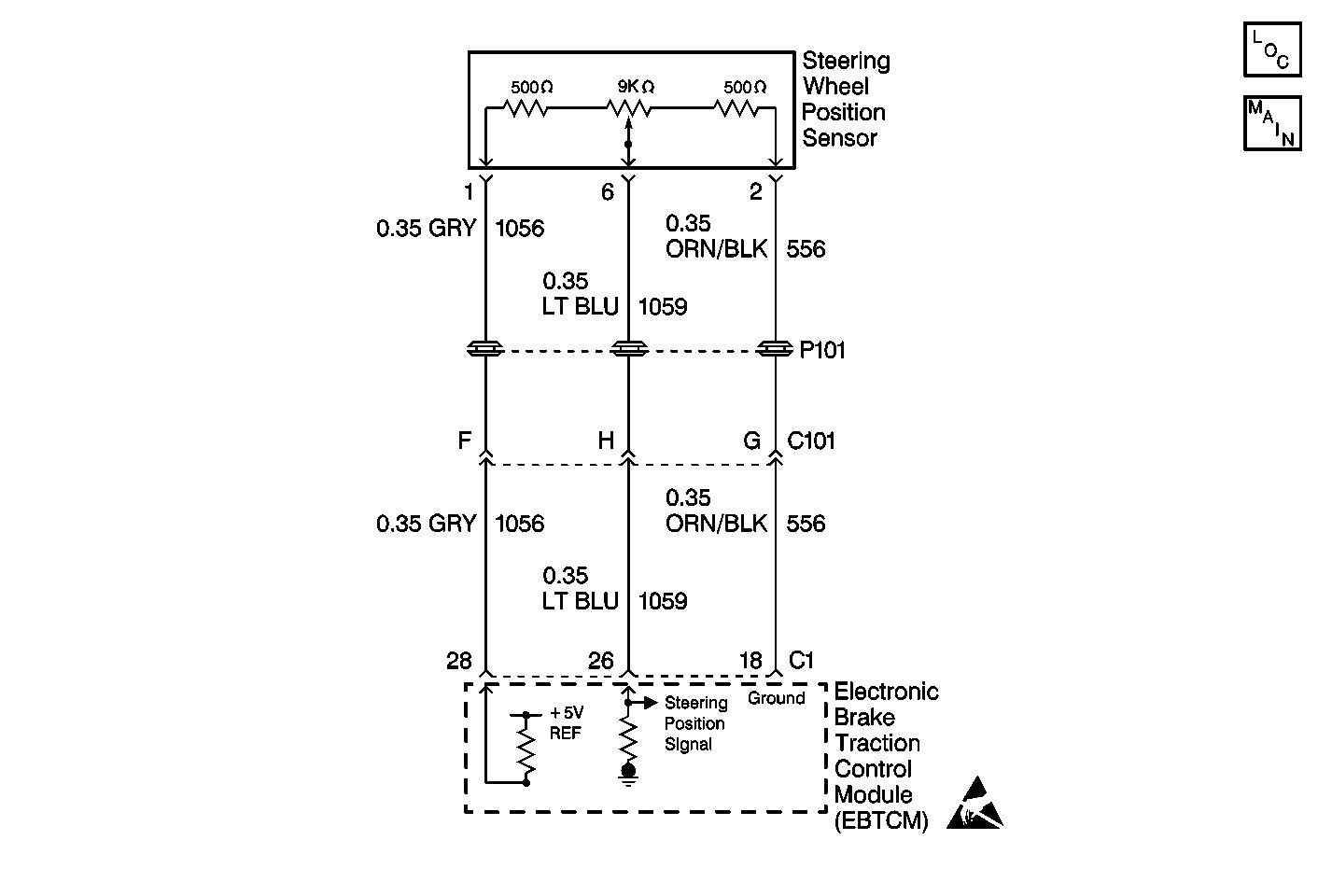
Object Number: 410150  Size: MF
Steering Controls Components
Cell 45: EBTCM, Power, Ground, Class 2, MSVA Actuator, and Steering Wheel Position Sensor

Circuit Description

The Steering Wheel Position Sensor provides the EBTCM with an analog voltage reading from 0.15-4.84V depending on the steering wheel angle. The EBTCM uses the analog voltage for the centering routine. The EBTCM runs a centering routine when the vehicle speed goes above 30 Km/h (18 mph). When the vehicle reaches 30 Km/h (18 mph), the EBTCM monitors the Steering Wheel Position Sensor inputs ( Analog voltage) to see if the steering wheel is moving. If the steering wheel is not moving for a set period of time then the EBTCM assumes the vehicle is going in a straight line. At this point, the EBTCM looks at the analog voltage signal and reads the voltage. This voltage, normally around 2.5V, is then considered the center position and the digital degrees also become zero at the same time. This centering routine is necessary to compensate for wear in the steering and suspension. Wear in the steering and suspension can result in a change in the relationship between the steering wheel and the front wheels. By running the centering routine, the EBTCM can compensate for these changes by changing the digital and analog center position.

Conditions for Setting the DTC

    • The center position is +/-21.5° deviation from the previous nominal center point (0°) after the centering routine is complete.
    • The Steering Wheel Position Sensor analog output voltage falls outside the 0.15-4.84V range.

Action Taken When the DTC Sets

    • Correct function of the Steering Wheel Position Sensor is incorrect and the EBTCM stops using the sensor's data.
    • Magnasteer® remains active using wheel speed data only.
    • A malfunction DTC is stored.
    • No ABS/TCS indicators are turned on and ABS/TCS remains active.

Conditions for Clearing the DTC

    • Condition for DTC is no longer present and scan tool clear DTC function is used.
    • 100 ignition cycles have passed with no DTCs detected.

Diagnostic Aids

The following are possible causes:

    • The steering wheel was rotated with the steering gear disconnected.
    • A malfunctioning Steering Wheel Position Sensor.
    • A Steering Wheel Position Sensor circuit open.
    • A Steering Wheel Position Sensor circuit shorted.
    • A malfunctioning EBTCM.

Perform an inspection of the wiring and of the connectors. Failure to carefully inspect the wiring and the connectors may result in misdiagnosis. Misdiagnosis causes part replacement with reappearance of the malfunction.

Test Description

The numbers below refer to the step numbers on the diagnostic table.

  1. Re-centers the Steering Wheel Position Sensor.

  2. Checks for an open in CKT 556.

  3. Checks for a short to voltage in CKT 1059.

  4. Checks for a short to ground in CKT 1059.

  5. Checks for an open in CKT 1059.

  6. Checks for a short to battery in CKT 1056.

  7. Checks for an open in CKT 1056.

  8. Checks for a short to ground in CKT 1056.

DTC C0455 Steering Position Sensor Circuit Malfunction

Step

Action

Value(s)

Yes

No

1

Was the Variable Effort Steering System Check performed?

--

Go to Step 2

Go to Variable Effort Steering System Check

2

  1. Point the front wheels straight ahead.
  2. Using a scan tool check the Steering Wheel Position Sensor Analog voltage.

Is the voltage within the range specified within the value(s) column?

2-3 V

Go to Step 4

Go to Step 3

3

Is the voltage in the range specified within the values(s) column?

0.15-4.84 V

Go to Step 5

Go to Step 9

4

Replace the EBTCM. Refer to Electronic Brake and Traction Control Module Replacement

Is the repair complete?

--

Go to Variable Effort Steering System Check

--

5

  1. Turn the ignition switch to the OFF position.
  2. Disable the Supplemental Inflatable Restraint (SIR). Refer to Disabling the SIR System in SIR.
  3. Remove the Inflatable Restraint Steering Wheel Module Coil. Refer to Inflatable Restraint Steering Wheel Module Coil Replacement in SIR.
  4. Remove the Intermediate Steering Shaft. Refer to Intermediate Steering Shaft Replacement in Steering Wheel and Column.
  5. Turn the ignition switch to the ON position, engine off.
  6. Using a scan tool monitor the Steering Wheel Position Sensor analog voltage as you rotate the steering column shaft.
  7. Turn the steering column shaft until the analog voltage is close to 2.5 volts.

Does the analog voltage move smoothly to, or close to, 2.5 volts?

--

Go to Step 7

Go to Step 6

6

Replace the Steering Wheel Position Sensor. Refer to Steering Shaft, Lower Bearing, and Jacket - Disassemble - Off Vehicle and Steering Shaft, Lower Bearing, and Jacket - Assemble - Off Vehicle in Steering Wheel and Column.

Is the replacement complete?

Go to Variable Effort Steering System Check

--

7

  1. Leave the steering column shaft centered at 2.5 volts.
  2. Turn the ignition switch to the OFF position.
  3. Install the Intermediate Steering Shaft. Refer to Intermediate Steering Shaft Replacement in Steering Wheel and Column.
  4. Install the Inflatable Restraint Steering Wheel Module Coil. Refer to Inflatable Restraint Steering Wheel Module Coil Replacement in SIR.
  5. Enable the SIR. Refer to Enabling the SIR System in SIR.

Is the repair complete?

--

Go to Step 8

--

8

  1. Turn the ignition switch to the ON position, engine off.
  2. Using a scan tool clear DTC C0455.
  3. Drive vehicle above 30 Km/h (18 mph) for several minutes in a straight line.
  4. Using a scan tool check for DTC C0455.

Did DTC C0455 set as a current DTC?

--

Go to Step 4

Go to Variable Effort Steering System Check

9

  1. Turn the Ignition switch to the OFF position.
  2. Disconnect the EBTCM.
  3. Install the J 39700 Universal Pinout Box using the J 39700-530 cable adapter to the EBTCM harness connector and the EBTCM.
  4. Turn the ignition switch to the ON position, engine off.
  5. Using J 39200 DMM, measure the voltage between ground and terminal 26 of J 39700 .

Is the voltage within the range specified in the value(s) column?

0.15-4.84 V

Go to Step 4

Go to Step 10

10

  1. Turn the ignition switch to the OFF position.
  2. Disconnect the Steering Wheel Position Sensor connector.
  3. Turn the ignition switch to the ON position , engine off.
  4. Using the J 39200 DMM, measure the voltage between ground and terminal 1 of the Steering Wheel Position Sensor harness connector.

Is the voltage within the range specified in the value(s) column?

4.75-5.25 V

Go to Step 11

Go to Step 18

11

Using J 39200 DMM, measure the resistance between the Steering Wheel Position Sensor harness connector terminal 2 and a good ground.

Is the resistance within the range specified in the value(s) column?

0-5 ohms

Go to Step 12

Go to Step 24

12

  1. Turn the Ignition switch to the ON position, engine off.
  2. Using the J 39200 DMM, measure the voltage at terminal 6 of the Steering Wheel Position Sensor harness connector.

Is the voltage within the range specified in the value(s) column?

Above 1 V

Go to Step 13

Go to Step 14

13

Repair CKT 1059 for a short to voltage, being sure to check for a short to CKT 1056. Refer to Wiring Repairs in Wiring Systems.

Is the repair complete?

--

Go to Variable Effort Steering System Check

--

14

  1. Turn the ignition switch to the OFF position.
  2. Disconnect the J 39700-530 cable adapter from the EBTCM leaving the J 39700-530 cable adapter connected to the EBTCM harness connector.
  3. Using J 39200 DMM, measure the resistance between terminals 26 and 15 of J 39700 .

Is the resistance within the range specified within the value(s) column?

OL (infinite)

Go to Step 16

Go to Step 15

15

Repair CKT 1059 for a short to ground, being sure to check for a short to CKT 556. Refer to Wiring Repairs in Wiring Systems.

Is the repair complete?

--

Go to Variable Effort Steering System Check

--

16

  1. Connect a jumper wire between terminals 26 and 18 of J 39700 .
  2. Using J 39200 DMM, measure the resistance between the Steering Wheel Position Sensors harness connector terminals 2 and 6.

Is the resistance within the range specified within the value(s) column?

0-5 ohms

Go to Step 6

Go to Step 17

17

Repair CKT 1059 for an open or high resistance. Refer to Wiring Repairs in Wiring Systems.

Is the repair complete?

--

Go to Variable Effort Steering System Check

--

18

Using the J 39200 DMM, measure the voltage at terminal 1 of the Steering Wheel Position Sensor harness connector.

Is the voltage in the range specified in the value(s) column?

above 5.25 V

Go to Step 19

Go to Step 20

19

Repair CKT 1056 for a short to battery. Refer to Wiring Repairs in Wiring Systems.

Is the repair complete?

--

Go to Variable Effort Steering System Check

--

20

  1. Turn the ignition switch to the OFF position.
  2. Disconnect the J 39700-530 cable adapter from the EBTCM leaving the J 39700-530 cable adapter connected to the EBTCM harness connector.
  3. Connect a jumper wire between terminals 28 and 15 of J 39700 .
  4. Using J 39200 DMM, measure the resistance between the Steering Wheel Position Sensor harness connector terminal 1 and a good ground.

Is the resistance within the range specified within the value(s) column?

0-5 ohms

Go to Step 22

Go to Step 21

21

Repair CKT 1056 for an open or high resistance. Refer to Wiring Repairs in Wiring Systems.

Is the repair complete?

--

Go to Variable Effort Steering System Check

--

22

  1. Remove the jumper wire from J 39700 .
  2. Using J 39200 DMM, measure the resistance between the Steering Wheel Position Sensor harness connector terminal 1 and a good ground.

Is the resistance within the range specified in the values column?

OL (infinite)

Go to Step 4

Go to Step 23

23

Repair CKT 1056 for a short to ground. Refer to Wiring Repairs in Wiring Systems.

Is the repair complete?

--

Go to Variable Effort Steering System Check

--

24

  1. Turn the ignition switch to the OFF position.
  2. Disconnect the J 39700-530 cable adapter from the EBTCM leaving the J 39700-530 cable adapter connected to the EBTCM harness connector.
  3. Using the J 39200 DMM, measure the resistance between the J 39700 terminal 18 and terminal 2 of the Steering Wheel Position Sensor harness connector.

Is the resistance within the range specified in the value(s) column?

0-5ohms

Go to Step 4

Go to Step 25

25

Repair CKT 556 for an open or high resistance. Refer to Wiring Repairs in Wiring Systems.

Is the repair complete?

--

Go to Variable Effort Steering System Check

--