GM Service Manual Online
For 1990-2009 cars only

Tools Required

J 34730-1A Fuel Pressure Gauge


    Object Number: 289014  Size: SH
  1. Remove the fuel injector sight shield. Refer to Fuel Injector Sight Shield Replacement in Engine Mechanical.
  2. Disconnect the negative battery terminal to avoid a possible fuel discharge if an accidental attempt is made to start the engine.

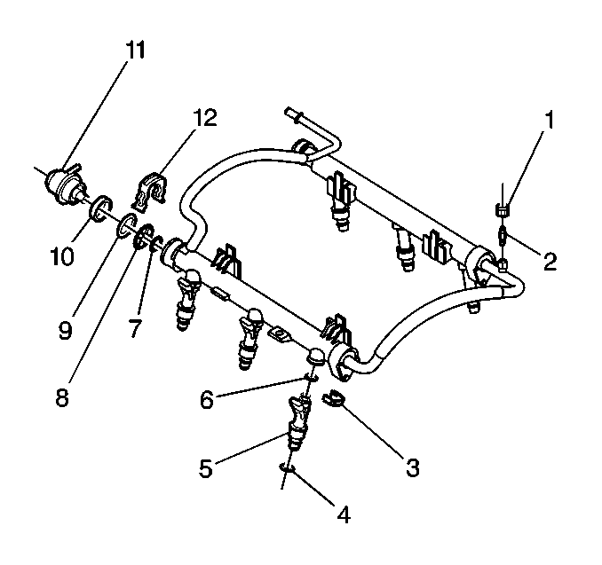
  3. Object Number: 220465  Size: SH
  4. Remove the fuel pressure connection cap (1).
  5. Connect the J 34730-1A fuel pressure gauge to the fuel pressure connection.
  6. Wrap a shop towel around the fuel pressure connection while connecting the fuel pressure gauge in order to avoid spillage.
  7. Install the bleed hose into an approved container, and open the valve to bleed the fuel system pressure. The fuel connections are now safe for servicing.
  8. Drain any fuel remaining in the fuel pressure gauge into an approved container.
  9. Install the fuel pressure connection cap after completing the service.