GM Service Manual Online
For 1990-2009 cars only
Figure 1:

Engine Covers and Components Assemblies (1 of 2)


Object Number: 707941  Size: LF
(1)Camshaft Cover Bolt
(2)Right Camshaft Cover
(3)PCV Tube - Fresh Air
(4)Crankcase Ventilation Tube - Dirty Air
(5)Intake Manifold Assembly
(6)Intake Manifold Bolt
(7)Fuel Injector Sight Shield Cover
(8)Fuel Injector Sight Shield Cover Nut
(9)EGR Outlet Pipe Bolt
(10)EGR Outlet Pipe
(11)Heater Pipe Bolt
(12)Heater Pipe
(13)Water Crossover Gaskets
(14)EGR Inlet Pipe
(15)EGR Inlet Pipe Bolt
(16)Water Crossover
(17)Water Crossover Bolt
(18)Rear Engine Lift/Strut Mount Bracket
(19)Rear Engine Lift/Strut Mount Bracket Bolt
(20)Camshaft Cover Bolt
(21)Left Camshaft Cover
(22)Thermostat Housing Assembly
(23)Thermostat Housing Assembly Bolt
(24)Oil Pan Bolt
(25)Oil Pan Drain Plug
(26)Oil Level Sensor
(27)Oil Level Sensor Bolt
(28)Oil Filter Cap
(29)Oil Filter Cartridge
(30)Oil Pan
(31)Oil Pan Gasket
(32)Engine Block Assembly
(33)Oil Pump Assembly
(34)Crankshaft Sprocket
(35)Engine Front Cover Gasket
(36)Drive Belt Idler Pulley
(37)Engine Front Cover Bolt
(38)Engine Front Cover Coolant Drain Plug
(39)Crankshaft Balancer
(40)Crankshaft Balancer Bolt
(41)Engine Front Cover
(42)Drive Belt Tensioner Bolt
(43)Oil Pump Assembly Bolt
(44)Drive Belt Tensioner
(45)Front Engine Lift Bracket TORX® Bolt
(46)Front Engine Lift Bracket
(47)Front Engine Lift Bracket Bolt
(48)Transmission Brace Bolt
(49)Transmission Brace
(50)Water Pump Gasket
(51)Water Pump
(52)Water Pump Pulley
(53)Water Pump Pulley Bolt
(54)Water Pump Bolt
Figure 2:

Engine Covers and Components Assemblies (2 of 2)


Object Number: 706230  Size: LF
(1)Exhaust Manifold Bolt
(2)Exhaust Manifold Gasket
(3)Right Exhaust Manifold
(4)Balance Shaft Cover
(5)Balance Shaft Cover Bolt
(6)Balance Shaft Cover Gasket
(7)A.I.R. Vacuum Harness
(8)Oil Level Indicator and Tube
(9)A.I.R. Control Valve
(10)A.I.R. Control Valve Bolt
(11)A.I.R. Control Valve Pipe-to-A.I.R. Manifold Bolt
(12)A.I.R. Control Valve Pipe-to-A.I.R. Manifold Nut
(13)A.I.R. Gasket
(14)Oil Level Indicator Tube Bolt
(15)Exhaust Manifold Gasket
(16)A.I.R. Manifold
(17)Left Exhaust Manifold
(18)Exhaust Manifold Heat Shield Bolt
(19)Exhaust Manifold Heat Shield
(20)Exhaust Manifold Bolt
(21)Oil Pump Suction Tube
(22)Oil Pump Suction Tube Nut
(23)Oil Pump Suction Tube Bolt
(24)Oil Pump Suction Tube O-ring
(25)Engine Block
(26)Engine Wiring Harness Jumper
(27)A.I.R. Control Valve Pipe-to-A.I.R. Manifold Nut
(28)A.I.R. Control Valve Pipe-to-A.I.R. Manifold Bolt
(29)A.I.R. Control Valve Bolt
(30)A.I.R. Control Valve
(31)A.I.R. Manifold
(32)A.I.R Gasket
(33)Exhaust Manifold Flange Bolt
(34)Exhaust Manifold Flange
(35)Exhaust Manifold Crossover Gasket
Figure 3:

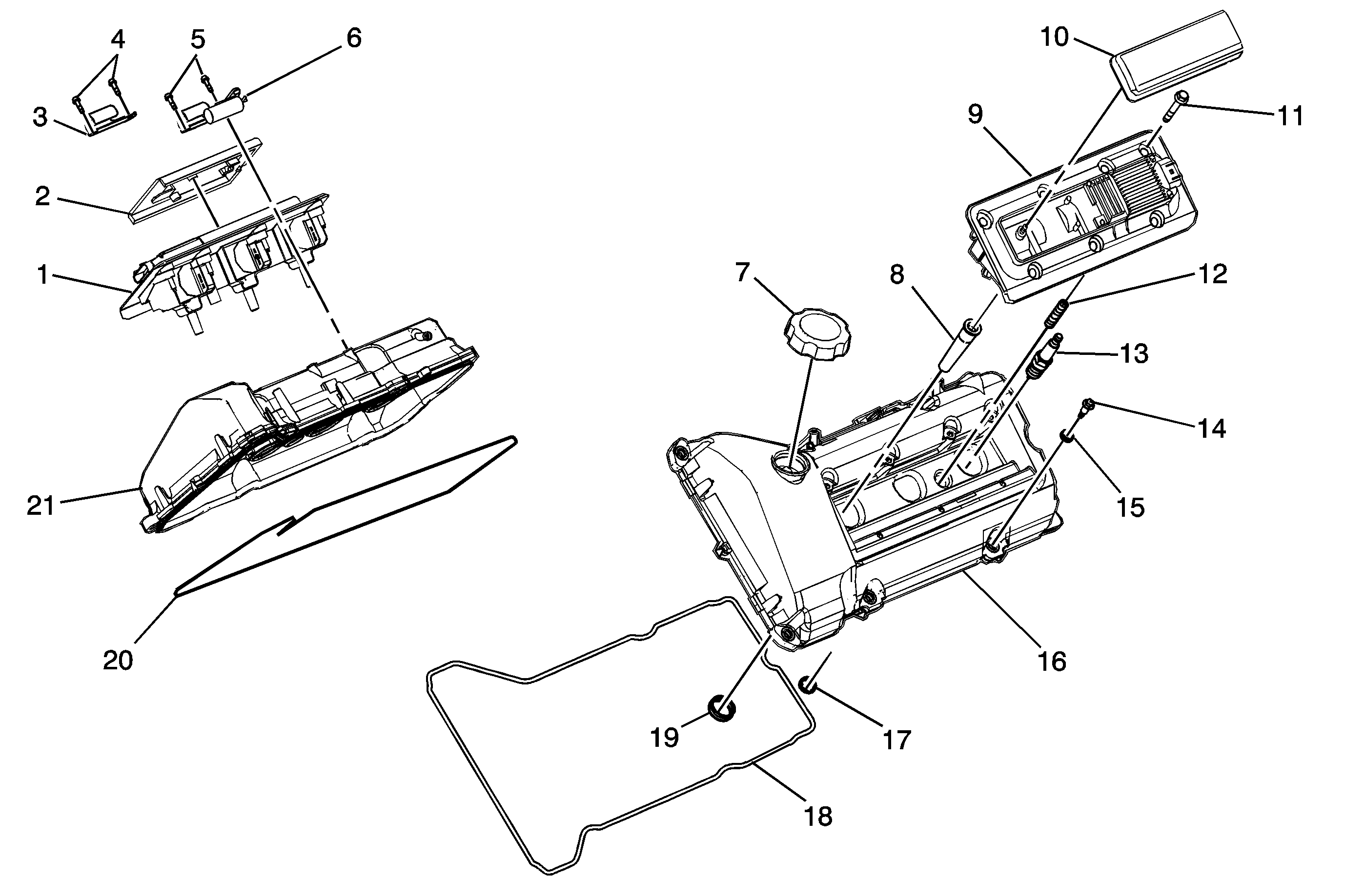
Camshaft Cover Assemblies


Object Number: 703177  Size: MF
(1)Ignition Coil Assembly
(2)Ignition Coil Assembly Cover
(3)Fuel Injector Sight Shield Bracket
(4)Fuel Injector Sight Shield Bracket Bolt
(5)A.I.R. Vacuum Control Solenoid/Fuel Injector Sight Shield Bracket Bolt
(6)A.I.R. Vacuum Control Solenoid/Fuel Injector Sight Shield Bracket
(7)Oil Fill Cap
(8)Spark Plug Boot
(9)Ignition Coil Assembly
(10)Ignition Coil Assembly Cover
(11)Ignition Coil Assembly Bolt
(12)Ignition Coil Assembly RFI/Ground Spring
(13)Spark Plug
(14)Camshaft Cover Bolt
(15)Camshaft Cover Bolt Grommet
(16)Left Camshaft Cover
(17)Ground/RFI Spring Port Seal
(18)Spark Plug Port Seal
(19)Left Camshaft Cover Gasket
(20)Right Camshaft Cover Gasket
(21)Right Camshaft Cover
Figure 4:

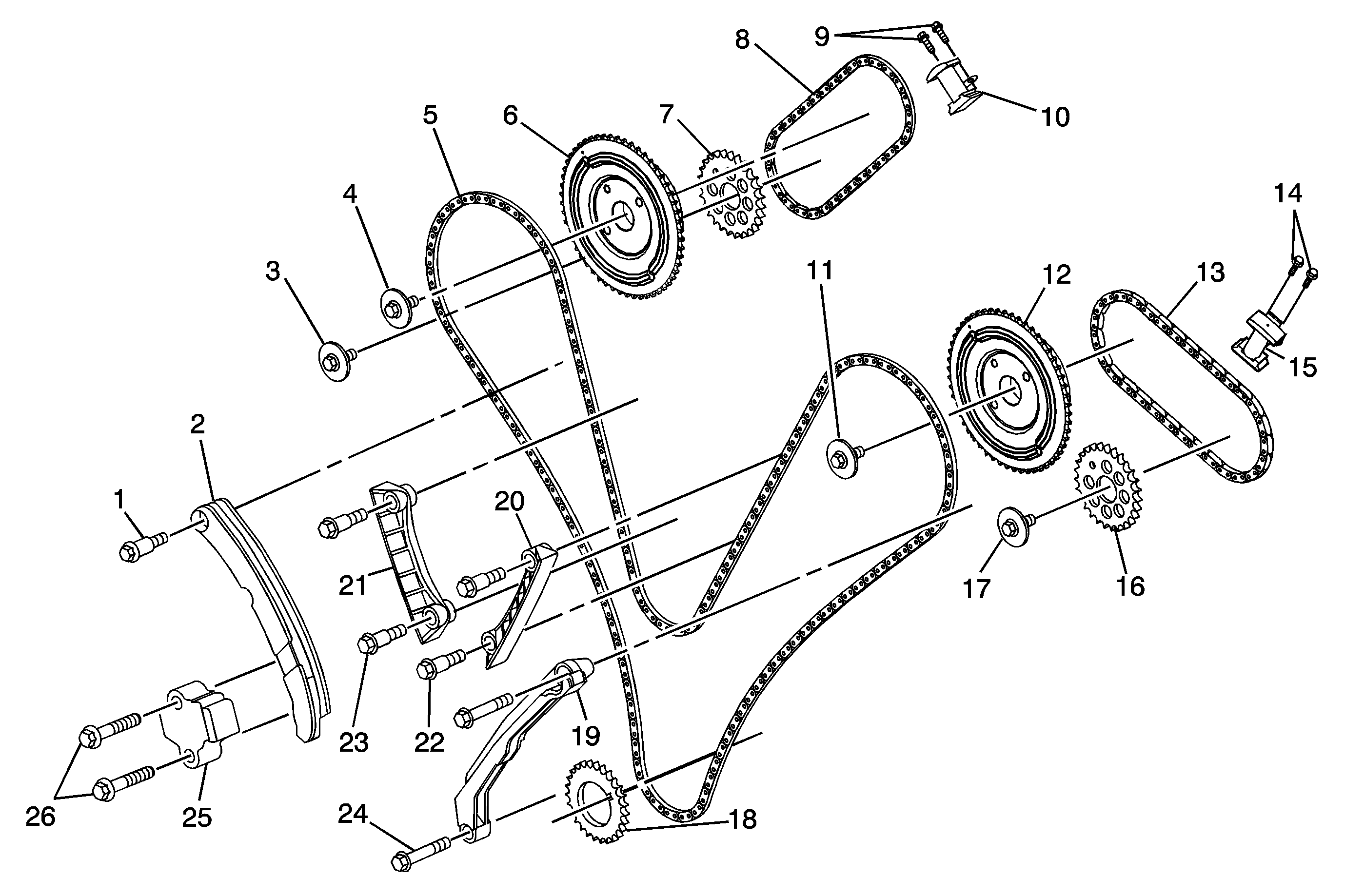
Camshaft Timing Components


Object Number: 702729  Size: MF
(1)Primary Camshaft Drive Chain Shoe Bolt
(2)Primary Camshaft Drive Chain Shoe
(3)Right Intake Camshaft Sprocket Bolt
(4)Right Exhaust Camshaft Sprocket Bolt
(5)Primary Camshaft Drive Chain
(6)Right Intake Camshaft Sprocket
(7)Right Exhaust Camshaft Sprocket
(8)Right Secondary Camshaft Drive Chain
(9)Right Secondary Camshaft Drive Chain Tensioner Bolt
(10)Right Secondary Camshaft Drive Chain Tensioner
(11)Left Intake Camshaft Sprocket Bolt
(12)Left Intake Camshaft Sprocket
(13)Left Secondary Camshaft Drive Chain
(14)Left Secondary Camshaft Drive Chain Tensioner Bolt
(15)Left Secondary Camshaft Drive Chain Tensioner
(16)Left Exhaust Camshaft Sprocket
(17)Left Exhaust Camshaft Sprocket Bolt
(18)Crankshaft Sprocket
(19)Lower Primary Camshaft Drive Chain Guide
(20)Left Upper Primary Camshaft Drive Chain Guide
(21)Right Upper Primary Camshaft Drive Chain Guide
(22)Left Upper Primary Camshaft Drive Chain Guide Bolt
(23)Right Upper Primary Camshaft Drive Chain Guide Bolt
(24)Lower Primary Camshaft Drive Chain Guide Bolt
(25)Primary Camshaft Drive Chain Tensioner
(26)Primary Camshaft Drive Chain Tensioner Bolt
Figure 5:

Intake Manifold and Fuel Components


Object Number: 607364  Size: LF
(1)Fuel Rail and Fuel Injectors
(2)Fuel Pressure Regulator Vacuum Tube
(3)EGR Valve Outlet Pipe Bolt
(4)EGR Valve Outlet Pipe
(5)Accelerator and Cruise Control Cable Bracket Bolt
(6)Throttle Body/Accelerator and Cruise Control Cable Bracket Nut
(7)Accelerator and Cruise Control Cable Bracket
(8)Throttle Body Assembly
(9)Pressure Relief Valve Bolt
(10)Pressure Relief Valve Body
(11)Pressure Relief Valve Spring
(12)Pressure Relief Valve Plunger
(13)Throttle Body Adapter Heater Plate Hose
(14)Throttle Body Adapter Heater Plate Hose
(15)Throttle Body Gasket
(16)Throttle Body Adapter Heater Plate
(17)Throttle Body Adapter Heater Plate Seal
(18)Intake Manifold/Throttle Body Stud
(19)Intake Manifold
(20)Intake Manifold Bolt
(21)EVAP Purge Solenoid Bolt
(22)EVAP Purge Solenoid
(23)MAP Sensor
(24)Brake Booster Hose
Figure 6:

Cylinder Head Assemblies


Object Number: 706021  Size: LF
(1)Right Exhaust Camshaft
(2)Right Intake Camshaft
(3)Right Cylinder Head
(4)ECT Sensor
(5)SHLA - Stationary Hydraulic Lifter Adjuster
(6)Valve Stem Oil Seal
(7)Valve Spring
(8)Valve Spring Retainer
(9)Valve Lock Keepers
(10)Follower - Rocker Arm
(11)Camshaft Bearing Thrust Cap
(12)Camshaft Bearing Thrust Cap Bolt
(13)Left Intake Camshaft
(14)Camshaft Bearing Cap Bolt
(15)Camshaft Bearing Cap
(16)Left Exhaust Camshaft
(17)Left Cylinder Head
(18)Intake Valve
(19)Exhaust Valve
(20)Lower Primary Camshaft Drive Chain Guide Upper Bolt Access Plug
(21)Access Plug O-ring
(22)Left Upper Primary Camshaft Drive Chain Guide Upper Bolt Access Plug
(23)Access Plug O-ring
(24)Access Plug O-ring
(25)Right Upper Primary Camshaft Drive Chain Guide Upper Bolt Access Plug
(26)Access Plug O-ring
(27)Primary Camshaft Drive Chain Shoe Bolt Access Plug
(28)Camshaft Position Sensor Bolt
(29)Camshaft Position Sensor
(30)Camshaft Position Sensor O-ring
Figure 7:

Water Crossover


Object Number: 702728  Size: MF
(1)EGR Valve/Engine Wiring Harness Heat Shield
(2)EGR Valve Heat Shield Nut
(3)EGR Outlet Pipe Bolt
(4)EGR Valve Bolt
(5)EGR Valve
(6)EGR Gasket
(7)Water Crossover
(8)Water Crossover Gasket
(9)EGR Outlet Pipe
Figure 8:

Oil Pump Assembly


Object Number: 576164  Size: MF
(1)Oil Pump Housing
(2)Pressure Relief Valve
(3)Pressure Relief Valve Spring
(4)Plug
(5)Drive Gear
(6)Driven Gear
(7)Cover
(8)Cover Bolt
Figure 9:

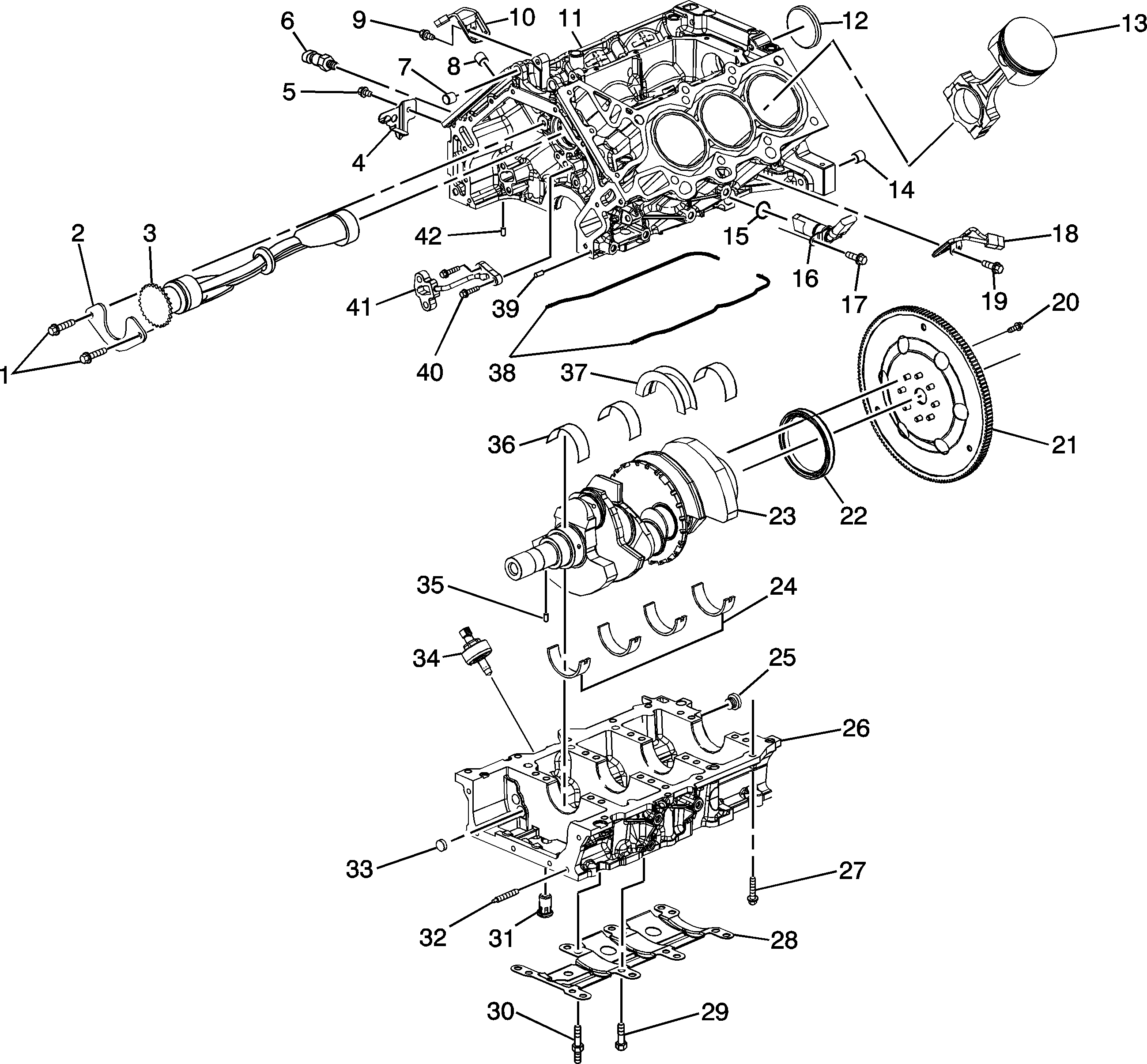
Engine Block Assembly


Object Number: 702732  Size: LF
(1)Balance Shaft Thrust Plate Bolt
(2)Balance Shaft Thrust Plate
(3)Balance Shaft
(4)Wiring Harness Bracket
(5)Wiring Harness Bracket Bolt
(6)Engine Oil Pressure Switch
(7)Power Steering Pump Bushing
(8)Engine Block-to-Cylinder Head Locating Dowel
(9)Engine Block Heater Bolt
(10)Engine Block Heater
(11)Engine Block
(12)Balance Shaft Rear Bearing Expansion Plug
(13)Piston and Connecting Rod Assembly
(14)Engine Block-to-Transmission Locating Dowel
(15)Crankshaft Position Sensor O-ring
(16)Crankshaft Position Sensor
(17)Crankshaft Position Sensor Bolt
(18)Engine Block Heater
(19)Engine Block Heater Bolt
(20)Engine Flywheel Bolt
(21)Engine Flywheel
(22)Crankshaft Rear Oil Seal
(23)Crankshaft
(24)Crankshaft Lower Bearings
(25)Lower Crankcase Oil Gallery Threaded Plug
(26)Lower Crankcase
(27)Lower Crankcase Perimeter Bolt
(28)Crankshaft Oil Scraper Plate
(29)Crankshaft Main Bearing Bolt
(30)Crankshaft Main Bearing Stud
(31)Oil Filter Bypass Valve
(32)Air Conditioning Compressor Mounting Stud
(33)Lower Crankcase Oil Gallery Expansion Plug
(34)Knock Sensor
(35)Crankshaft Sprocket Pin
(36)Crankshaft Upper Bearing
(37)Crankshaft Upper Thrust Bearing
(38)Engine Block-to-Lower Crankcase Seal
(39)Engine Block-to-Engine Front Cover Locating Pin
(40)Timing Chain Tensioner Oil Tube Bolt
(41)Timing Chain Tensioner Oil Tube
(42)Engine Block-to-Lower Crankcase Locating Pin
Figure 10:

Piston, Rings, Bearing and Connecting Rod


Object Number: 717650  Size: LF
(1)Upper Compression Ring
(2)Lower Compression Ring
(3)Upper Oil Control Ring
(4)Oil Control Ring Expander
(5)Lower Oil Control Ring
(6)Piston Pin Retainer
(7)Piston
(8)Connecting Rod
(9)Upper Connecting Rod Bearing
(10)Lower Connecting Rod Bearing
(11)Connecting Rod Cap
(12)Connecting Rod Bolt
(13)Connecting Rod Piston Pin Bushing
(14)Piston Pin