GM Service Manual Online
For 1990-2009 cars only

Cleaning Procedure

  1. Clean the following components in solvent:
  2. • Crankshaft bearings
    • Connecting rod bearings
    • Crankshaft journals
    • Crankpin journals
    • Crankshaft oil passages
    • Crankshaft threaded holes

    Caution: Wear safety glasses in order to avoid eye damage.

  3. Dry the following components with compressed air:
  4. • Crankshaft bearings
    • Connecting rod bearings
    • Crankshaft journals
    • Crankpin journals
    • Crankshaft oil passages
    • Crankshaft threaded holes

Visual Inspection

  1. Perform the following visual inspections:
  2. • Inspect each bearing journal and bearing for damage.
    • Inspect the thrust wall surface for wear and/or excessive runout.
    • Inspect the reluctor ring for any damage to the ring teeth.
    • Inspect all threaded holes.
  3. Repair or replace the crankshaft as necessary.

Crankshaft Bearing Inspection

Important: All connecting rod and main journal bearings that have been used in a running engine must be replaced. Never re-use the crankshaft or connecting rod bearings.

The following bearing wear conditions should be used to diagnose engine operating conditions or root cause of a condition.


    Object Number: 52051  Size: SH
  1. Inspect for fatigue indicated by craters or pockets. Flattened sections on the bearing halves also indicate fatigue.

  2. Object Number: 52053  Size: SH
  3. Inspect for excessive scoring or discoloration on both front and back of the bearing halves.
  4. Inspect the main bearings for dirt imbedded into the bearing material.

  5. Object Number: 52056  Size: SH
  6. Inspect for improper seating indicated by bright, polished sections.

Crankshaft Measurement

Tools Required

J 7872 Magnetic Base Dial Indicator Set


    Object Number: 576541  Size: SH
  1. Using a suitable fixture, support the crankshaft.

  2. Object Number: 576542  Size: SH
  3. Install the J 7872 .
  4. Measure the crankshaft runout using J 7872 . Refer to Engine Mechanical Specifications .

  5. Object Number: 576544  Size: SH
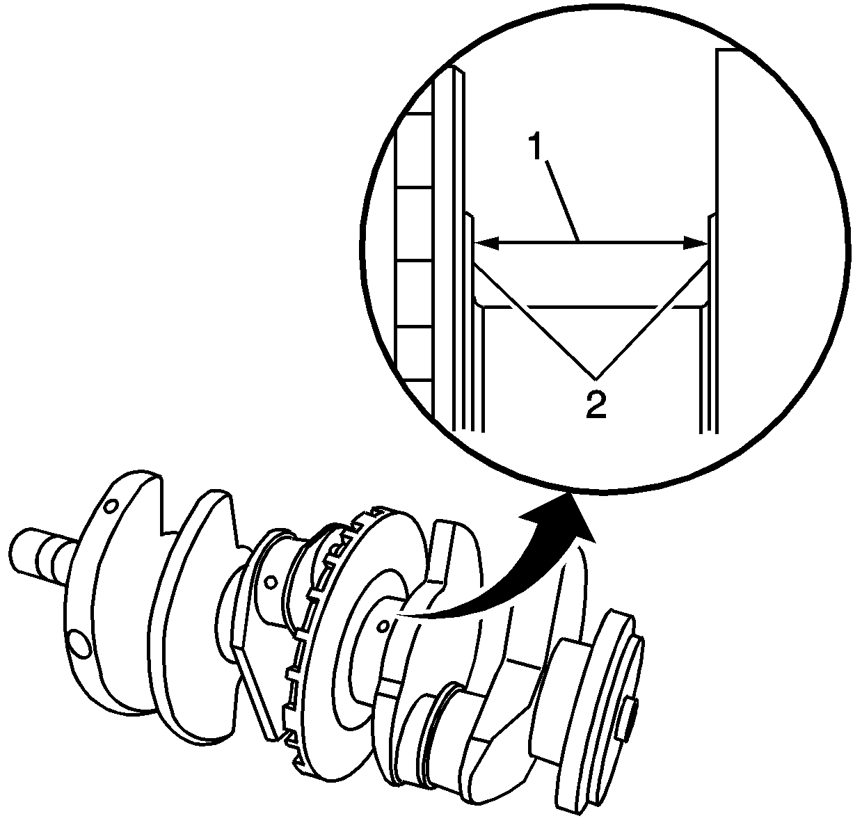
  6. Measure the crankshaft thrust wall width (1) for wear using an inside micrometer. Refer to Engine Mechanical Specifications .
  7. Measure the crankshaft thrust wall surface (2) for runout using J 7872 . Refer to Engine Mechanical Specifications .
  8. If the crankshaft journals are damaged or worn beyond specifications, replace the crankshaft. No machining of the crankshaft journals is allowed.

  9. Object Number: 576547  Size: SH
  10. Check the crankpins for undersize using an outside micrometer.
  11. Compare your measurements with those listed in the Engine Mechanical Specifications . If the crankshaft journals are worn beyond the specified limits, the crankshaft must be replaced. Crankshaft machining is not allowed and there are no undersized bearings available for service.

  12. Object Number: 53224  Size: SH
  13. Measure the main bearing and crankpin journals for out-of-round using the following procedure:
  14. 9.1. Using an outside micrometer, measure the journal at the extreme front and rear locations on the journal. Call these points A and B.
    9.2. Measure the journal in two new locations exactly 90 degrees from the first points. Call these points C and D.
    9.3. Subtract A from C and B from D. The differences will indicate journal out-of-round.
    9.4. The out-of-round should not exceed 0.004 mm (0.00016 in.) maximum.
    9.5. If the specifications are exceeded, replace the crankshaft.
  15. Measure the main bearing and crankpin journals for taper using the following procedure:
  16. 10.1. Using an outside micrometer, measure the journal at the extreme front (A) and rear (B) of the journal parallel to the crankshaft centerline.
    10.2. Subtract the smallest from the largest measurement. The result will be the journal taper.
    10.3. If the main bearing journal taper exceeds 0.004 mm (0.00016 in), replace the crankshaft.
    10.4. If the crankpin journal taper exceeds 0.004 mm (0.00016 in), replace the crankshaft.