GM Service Manual Online
For 1990-2009 cars only

Cleaning Procedure

    Notice: Do not immerse the water pump in solvent. The solvent may enter the water pump's permanently lubricated bearings and cause premature bearing failure.

  1. Remove the old gasket material from the water pump sealing surfaces. Refer to Replacing Engine Gaskets .
  2. Clean all excess dirt and debris from the water pump housing.

Inspection Procedure


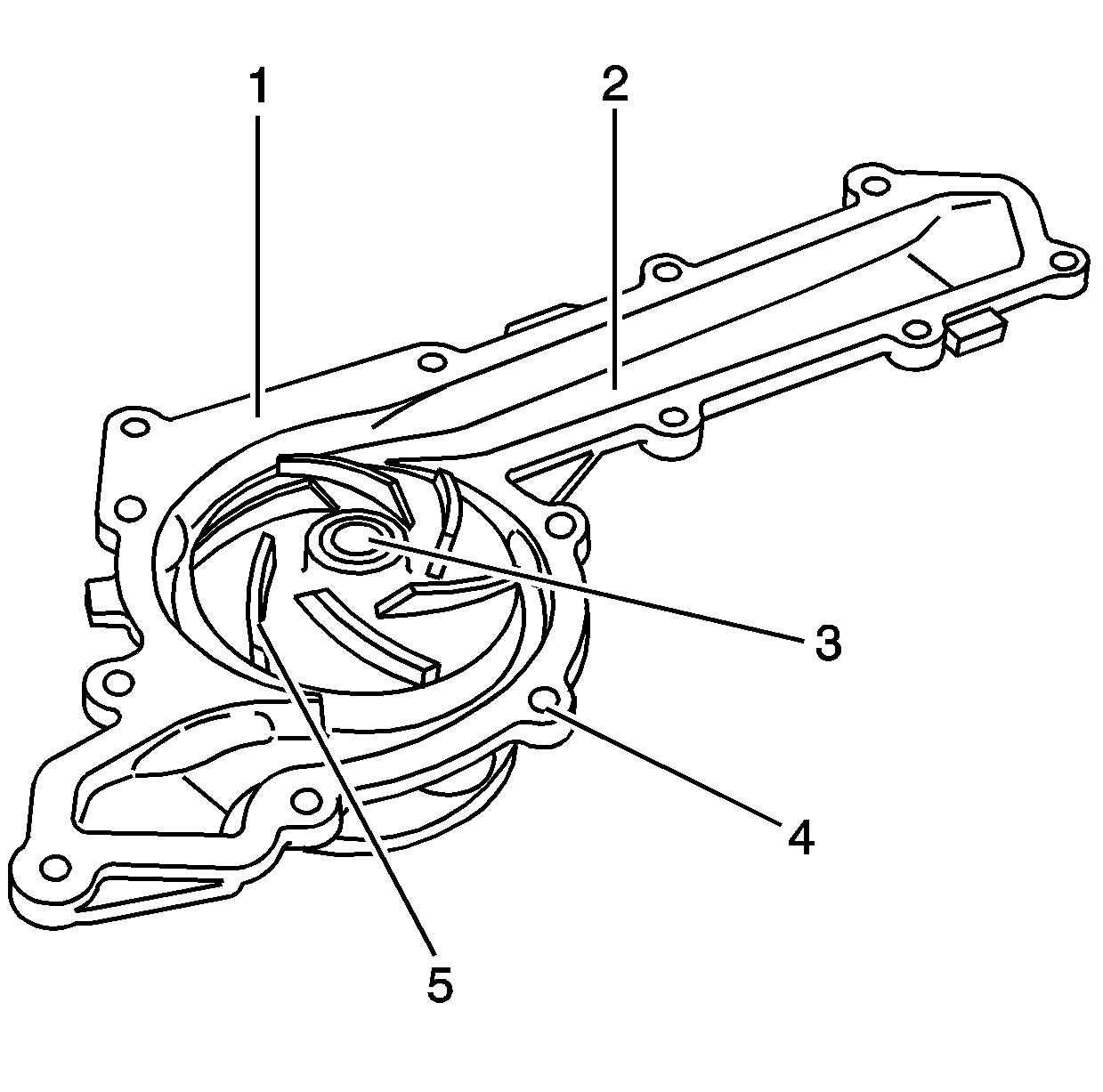
    Object Number: 576693  Size: SH
  1. Inspect the exterior of the water pump for the following:
  2. • Damage to the water pump hub bolt threads (1) for the water pump pulley
    • Excessive side-to-side play in the pulley shaft (2). If the shaft end play exceeds 0.381 mm (0.015 in), replace the water pump.
    • Leakage at the water pump weep hole (3). A stain around the weep hole is acceptable. If leakage occurs (dripping) with the engine running and the cooling system pressurized, replace the water pump.

    Object Number: 576697  Size: SH
  3. Inspect the interior of the water pump for the following:
  4. • Damage to the water pump gasket sealing surface (1)
    • Damage, corrosion or restrictions to the engine coolant passages (2)
    • Excessive side-to-side play in the pulley shaft (3). If the shaft end play exceeds 0.381 mm (0.015 in), replace the water pump.
    • Damage to the water pump bolt holes (4)
    • Damage, corrosion or restrictions to the water pump impeller (5)
  5. Rotate the pump shaft by hand and inspect for roughness of operation.
  6. • If the hub wobbles, is noisy, or feels rough when rotated, replace the water pump.
    • The shaft and fan hub must turn straight and smoothly.
  7. Repair or replace the water pump as necessary.