GM Service Manual Online
For 1990-2009 cars only

Secondary Camshaft Drive Chain Installation Left

Tools Required

J 36660-A Torque Angle Meter


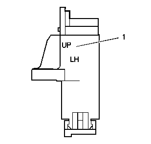
    Object Number: 483165  Size: SH
  1. Ensure that the left secondary timing chain tensioner (1) is being installed

  2. Object Number: 482996  Size: SH
  3. Compress the left secondary timing chain tensioner shoes with your hand.
  4. Lock the right secondary timing chain tensioner by inserting a piece of wire (2) into the access hole in the side of the right secondary timing chain tensioner (1).
  5. Slowly release pressure on the right secondary timing chain tensioner shoes. The right secondary timing chain tensioner should remain compressed.

  6. Object Number: 234529  Size: SH
  7. Position the secondary timing chain tensioner between the camshafts.
  8. Notice: Use the correct fastener in the correct location. Replacement fasteners must be the correct part number for that application. Fasteners requiring replacement or fasteners requiring the use of thread locking compound or sealant are identified in the service procedure. Do not use paints, lubricants, or corrosion inhibitors on fasteners or fastener joint surfaces unless specified. These coatings affect fastener torque and joint clamping force and may damage the fastener. Use the correct tightening sequence and specifications when installing fasteners in order to avoid damage to parts and systems.

  9. Install the secondary timing chain tensioner bolts.
  10. Tighten
    Tighten the secondary timing chain tensioner bolts to 12 N·m (106 lb in).


    Object Number: 287924  Size: SH
  11. Wrap the secondary timing chain around both secondary drive sprockets.
  12. Align the exhaust sprocket drive pin (1) between with the two darkened links (2).
  13. Align the intake sprocket drive pin (4) with the single darkened link (3).

  14. Object Number: 234538  Size: SH
  15. Fit the intake and exhaust camshaft sprockets with the secondary timing chain onto their respective camshafts and align the drive pins in the camshafts.
  16. Install the camshaft sprocket bolts.
  17. Tighten

    1. Tighten the camshaft sprocket bolts to 25 N·m (18 lb ft).
    2. Tighten the camshaft sprocket bolts an additional 45 degrees using the J 36660-A .
  18. Remove the locking wire from the secondary timing chain tensioner allowing the tensioner shoes to expand and apply pressure to the timing chain.

Secondary Camshaft Drive Chain Installation Right

Tools Required

J 36660-A Torque Angle Meter


    Object Number: 483166  Size: SH
  1. Ensure that the right secondary timing chain tensioner (1) is being installed

  2. Object Number: 277962  Size: SH
  3. Compress the right secondary timing chain tensioner shoes with your hand.
  4. Lock the right secondary timing chain tensioner by inserting a piece of wire (2) into the access hole in the side of the right secondary timing chain tensioner (1).
  5. Slowly release pressure on the right secondary timing chain tensioner shoes. The right secondary timing chain tensioner should remain compressed.

  6. Object Number: 576493  Size: SH
  7. Position the secondary timing chain tensioner between the camshafts.
  8. Notice: Use the correct fastener in the correct location. Replacement fasteners must be the correct part number for that application. Fasteners requiring replacement or fasteners requiring the use of thread locking compound or sealant are identified in the service procedure. Do not use paints, lubricants, or corrosion inhibitors on fasteners or fastener joint surfaces unless specified. These coatings affect fastener torque and joint clamping force and may damage the fastener. Use the correct tightening sequence and specifications when installing fasteners in order to avoid damage to parts and systems.

  9. Install the secondary timing chain tensioner bolts.
  10. Tighten
    Tighten the secondary timing chain tensioner bolts to 12 N·m (106 lb in).


    Object Number: 483133  Size: SH
  11. Wrap the secondary timing chain around both secondary drive sprockets.
  12. Align the intake sprocket drive pin (1) with the two darkened links (2).
  13. Align the exhaust sprocket drive pin (3) between with the single darkened link (4).

  14. Object Number: 576489  Size: SH
  15. Fit the intake and exhaust camshaft sprockets with the secondary timing chain onto their respective camshafts and align the drive pins in the camshafts.
  16. Install the camshaft sprocket bolts.
  17. Tighten

    1. Tighten the camshaft sprocket bolts to 25 N·m (18 lb ft).
    2. Tighten the camshaft sprocket bolts an additional 45 degrees using the J 36660-A .
  18. Remove the locking wire from the secondary timing chain tensioner allowing the tensioner shoes to expand and apply pressure to the timing chain.