GM Service Manual Online
For 1990-2009 cars only

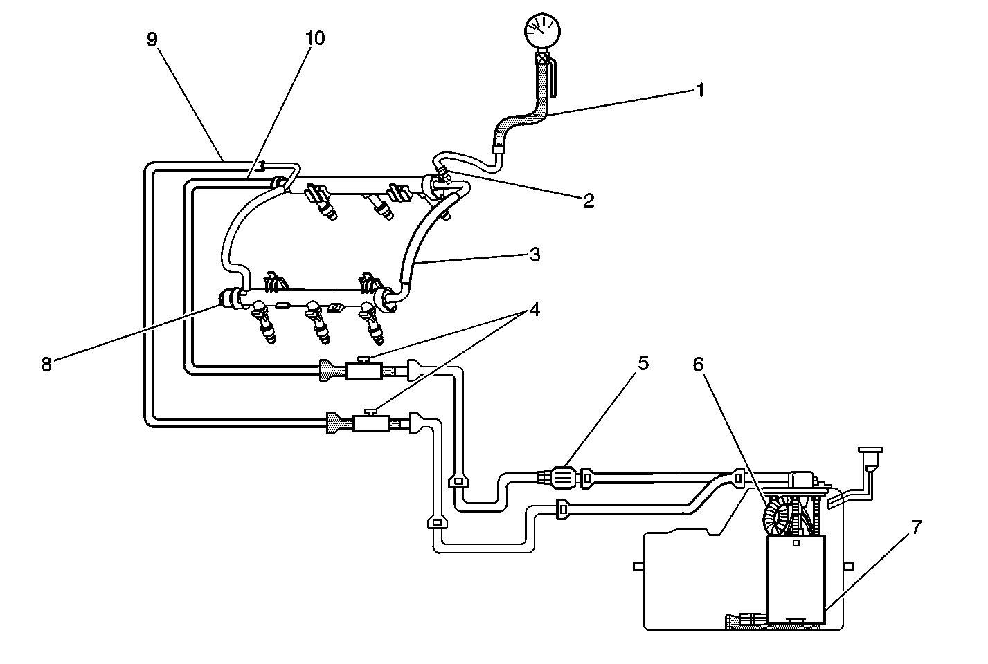
Object Number: 290799  Size: MF
(1)Fuel Pressure Gauge
(2)Fuel Pressure Connection
(3)Fuel Rail Assembly
(4)Fuel Pipe Shut-Off Adapters
(5)In-Line Fuel Filter
(6)Fuel Pump Flex Pipe
(7)Modular Fuel Sender
(8)Fuel Pressure Regulator
(9)Fuel Return Pipe
(10)Fuel Feed Pipe

System Description

When the ignition switch is turned ON, the powertrain control module (PCM) will turn ON the in-tank fuel pump. The in-tank fuel pump will remain ON as long as the engine is cranking or running and the PCM is receiving reference pulses. If there are no reference pulses, the PCM will turn the in-tank fuel pump OFF 2 seconds after the ignition switch is turned ON or 2 seconds after the engine stops running. The in-tank fuel pump is an electric pump within an integral reservoir. The in-tank fuel pump supplies fuel through the fuel feed pipe and the in-line fuel filter to the fuel rail assembly. The fuel pump is designed to provide fuel at a pressure above the pressure needed by the fuel injectors. A fuel pressure regulator, attached to the fuel rail, keeps the fuel available to the fuel injectors at a regulated pressure. Unused fuel is returned to the fuel tank by a separate fuel return pipe.

Test Description

Numbers below refer to the step numbers on the Diagnostic Table.

  1. Tests the fuel systems ability to achieve a specific fuel pressure range. It may be necessary to cycle the fuel pump several times to achieve the pressure range.

  2. A fuel system that drops more than 5 psi in 10 minutes has a leak in one or more areas.

  3. Tests the fuel systems ability to maintain a specific fuel pressure. It may be necessary to cycle the fuel pump several times to achieve the pressure range.

  4. Fuel pressure that drops-off during acceleration, cruise, or hard cornering may cause a lean condition. A lean condition can cause a loss of power, surging, or misfire and may be diagnosed using a scan tool. If an extremely lean condition occurs, the oxygen sensors may drop below 500 mV and the fuel injector pulse width will increase.

  1. When the engine is at idle, the manifold pressure is low (high vacuum). This low pressure (high vacuum) is applied to the fuel pressure regulator diaphragm, the result is lower fuel pressure. The fuel pressure at idle will vary slightly as the pressure changes, but the fuel pressure at idle should always be less than the fuel pressure noted in Step 2 with the engine OFF.

  2. This test determines if the high fuel pressure is due to a restricted fuel return pipe or fuel pressure regulator. A rich condition may cause a DTC P0132 or DTC P0172 to set. Driveability conditions associated with rich conditions can include hard starting (followed by black smoke) and a strong sulfur smell in the exhaust.

Fuel System Pressure Test Procedure

Step

Action

Value(s)

Yes

No

1

Did you complete the Powertrain On-Board Diagnostic (OBD) System Check?

--

Go to Step 2

Go to Powertrain On Board Diagnostic (OBD) System Check

2

  1. Install a J 34730-1A Fuel Pressure Gauge.
  2. Turn ON the ignition, with the engine OFF.
  3. With a scan tool, command the fuel pump ON.
  4. Monitor the fuel pressure with the fuel pump running.

Does the fuel pressure gauge indicate that the fuel pressure is within the specified range?

284-325 kPa (41-47 psi)

Go to Step  6

Go to Step  3

3

Does the fuel pressure gauge indicate fuel pressure greater then the specified value?

325 kPa (47 psi)

Go to Step  14

Go to Step  4

4

Visually and physically inspect the fuel system for fuel leaks.

Did you find and correct the condition?

 

Go to Step 21

Go to Step  5

5

Does the fuel pressure gauge indicate fuel pressure greater than the specified value?

0 kPa (0 psi)

Go to Step  7

Go to Step  16

6

Important: When the fuel pump stops running, the fuel pressure may vary slightly, stabilize and remain constant.

Observe the fuel pressure on the fuel pressure Gauge.

Does the fuel pressure drop more than the specified value in 10 minutes?

34 kPa (5 psi)

Go to Step  7

Go to Step  9

7

  1. Relieve the fuel pressure.
  2. Install the J 37287 fuel pipe shut-off adapters between the fuel feed pipe and the fuel return pipe and the fuel rail. Refer to Plastic Collar Quick Connect Fitting Service .
  3. Open the fuel feed and close the fuel return valves.
  4. Turn ON the ignition, with the engine Off.
  5. Bleed air out of the fuel system.
  6. With a scan tool, command the fuel pump ON.
  7. Wait for the fuel pressure to build.

Does the fuel pressure gauge indicate constant fuel pressure within the specified range?

284-325 kPa (41-47 psi)

Go to Step  19

Go to Step  8

8

  1. Command the fuel pump on.
  2. With the fuel pump running, close the fuel feed valve.

Does the fuel pressure gauge indicate constant fuel pressure?

--

Go to Step  17

Go to Fuel Injector Balance Test with Special Tool or Fuel Injector Balance Test with Tech 2

9

Is the fuel pressure suspected of dropping-off during acceleration, cruise, or hard cornering?

--

Go to Step 10

Go to Step 12

10

Visually and physically inspect the following components for a restriction:

    • The in-line fuel filter.
    • The fuel feed pipe.

Did you find and correct the condition?

--

Go to Step 21

Go to Step 11

11

  1. Remove the modular fuel sender assembly. Refer to Fuel Sender Assembly Replacement .
  2. Visually and physically inspect the following components:
  3. • The fuel pump strainer for a restriction, and correct position and installation on the fuel sender assembly
    • The fuel pump flex pipe for leaks.
    • Verify that the fuel pump is the correct fuel pump for the vehicle.

Did you find and correct the condition?

--

Go to Step 21

Go to Step 17

12

  1. Start the engine.
  2. Let the engine idle until the engine reaches a normal operating temperature.

Does the fuel pressure decrease within the specified range?

21-69 kPa (3-10 psi)

Go to Symptoms

Go to Step 13

13

  1. Disconnect the fuel pressure regulator vacuum hose.
  2. With the engine idling, apply 12-14 inches of vacuum to the fuel pressure regulator.

Does the fuel pressure decrease within the specified range?

21-69 kPa (3-10 psi)

Go to Step 17

Go to Step 18

14

  1. Relieve the fuel pressure
  2. Disconnect the fuel return pipe. Refer to Plastic Collar Quick Connect Fitting Service .
  3. Attach a length of flexible fuel hose to the fuel rail return outlet passage.
  4. Place the open end of the flexible hose into an approved gasoline container.
  5. With a scan tool, command the fuel pump ON.

Does the fuel pressure gauge indicate fuel pressure within the specified range?

284-325 kPa (41-47 psi)

Go to Step  20

Go to Step 15

15

Visually and physically inspect the fuel rail outlet passages for a restriction.

Did you find and correct the condition?

--

Go to Step 21

Go to Step 19

16

Visually and physically inspect for the following conditions:

    • Obstructions of the in-line fuel filter. Refer to In-Line Fuel Filter Replacement .
    • A restriction in the fuel feed pipe. Refer to Fuel Hose/Pipes Replacement - Filter to Engine .
    • Obstructions of the fuel pump strainer. Refer to Fuel Sender Strainer Replacement .
    • Leaks in the fuel pump flex pipe. Refer to Fuel Sender Assembly Replacement .

Did you find and correct a condition?

--

Go to Step 21

Go to Fuel Pump Electrical Circuit Diagnosis

17

Replace the modular fuel sender assembly. Refer to Fuel Sender Assembly Replacement .

Did you complete the repair?

--

Go to Step  21

--

18

Locate and repair a loss of vacuum to the fuel pressure regulator.

Did you complete the repair?

--

Go to Step 21

--

19

Replace the fuel pressure regulator. Refer to Fuel Pressure Regulator Replacement .

Did you complete the repair?

--

Go to Step 21

--

20

Locate and correct a restriction in the fuel return pipe.

Did you complete the repair?

--

Go to Step 21

--

21

  1. Relieve the fuel pressure.
  2. Return the fuel system to its original condition.
  3. Install a fuel pressure gauge.
  4. Turn ON the ignition, with the engine OFF.
  5. With a scan tool, command the fuel pump ON.
  6. With the fuel pump running, monitor fuel pressure.

Does the fuel pressure gauge indicate constant fuel pressure within the specified range?

284-325 kPa (41-47 psi)

System OK

Go to Step 2