GM Service Manual Online
For 1990-2009 cars only

Tools Required

J 38185 Hose Clamp Pliers

Removal Procedure

  1. Drain the cooling system. Refer to Cooling System Draining and Filling in Engine Cooling.
  2. Remove the fuel injector sight shield. Refer to Fuel Injector Sight Shield Replacement in 3.5L Engine Mechanical.

  3. Object Number: 663610  Size: SH
  4. UseJ 38185 in order to position aside the heater core inlet and/or outlet hose clamp.
  5. Disconnect the heater inlet hose and/or the outlet hose from the heater core.

  6. Object Number: 282306  Size: SH
  7. UseJ 38185 in order to position aside the heater hose inlet and/or outlet clamp.
  8. Disconnect the heater inlet hose and/or the outlet hose from the pipe adapter(s).

  9. Remove the heater inlet hose and/or the outlet hose.

Installation Procedure

  1. Install the heater inlet hose and/or outlet hose.

  2. Object Number: 282306  Size: SH
  3. Connect the heater inlet hose and/or the outlet hose to the pipe adapter(s).
  4. UseJ 38185 in order to secure the heater hose inlet and/or outlet clamp.

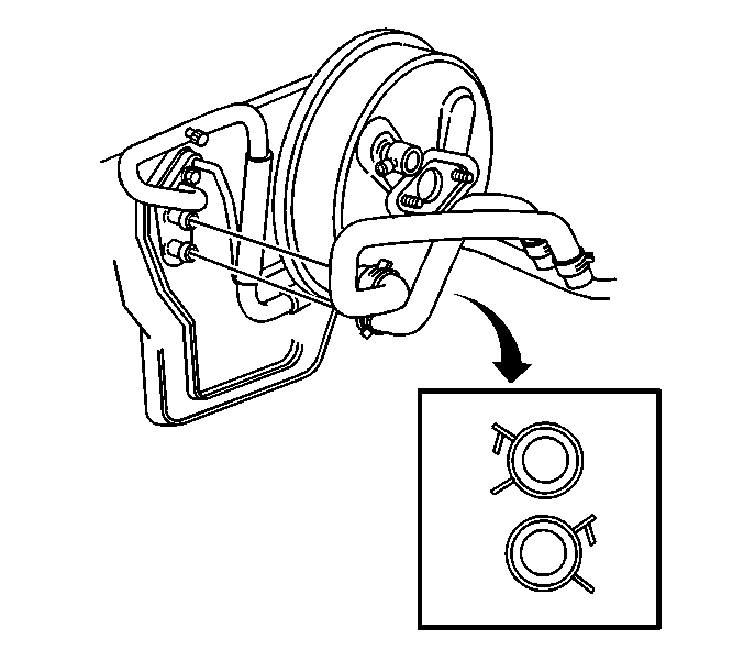
  5. Object Number: 663610  Size: SH
  6. Connect the heater inlet hose and/or the outlet hose to the heater core.
  7. Important: Position heater core hose clamps in the indicated location.

  8. UseJ 38185 in order to secure the heater core hose inlet and/or outlet clamp.
  9. Install the fuel injector sight shield. Refer to Fuel Injector Sight Shield Replacement in 3.5L Engine Mechanical.
  10. Refill the cooling system. Refer to Cooling System Draining and Filling in Engine Cooling.
  11. Inspect the cooling system for leaks. Refer to Loss of Coolant in Engine Cooling.