GM Service Manual Online
For 1990-2009 cars only
Figure 1:

Engine Controls Components -- Bank 1


Object Number: 259152  Size: LF
(1)EGR Valve
(2)Fuel Injectors
(3)Vehicle Speed Sensor
(4)Engine Oil Pressure (EOP) Sensor
(5)HO2S #1
(6)Ignition Control Module -- Rear Bank and Cover
(7)Ignition Cassette
Figure 2:

Engine Controls Components -- Bank 2


Object Number: 613327  Size: LF
(1)EGR Valve
(2)Fuel Injectors
(3)PCV Valve
(4)Ignition Control Module -- Front Bank and Cover
(5)Ignition Cassette
(6)Starter
(7)Generator
(8)A/C Compressor Clutch Connector
(9)CMP Sensor
Figure 3:

Throttle Body Components


Object Number: 256321  Size: SH
(1)MAP Sensor
(2)EVAP Canister Purge Valve
(3)EGR Valve
(4)TP Sensor
Figure 4:

Left Rear of Engine


Object Number: 256283  Size: SH
(1)Engine Coolant Temperature (ECT) Sensor
Figure 5:

Lower Left of Engine


Object Number: 350545  Size: SH
(1)Starter
(2)Crankshaft Position (CKP) Sensor
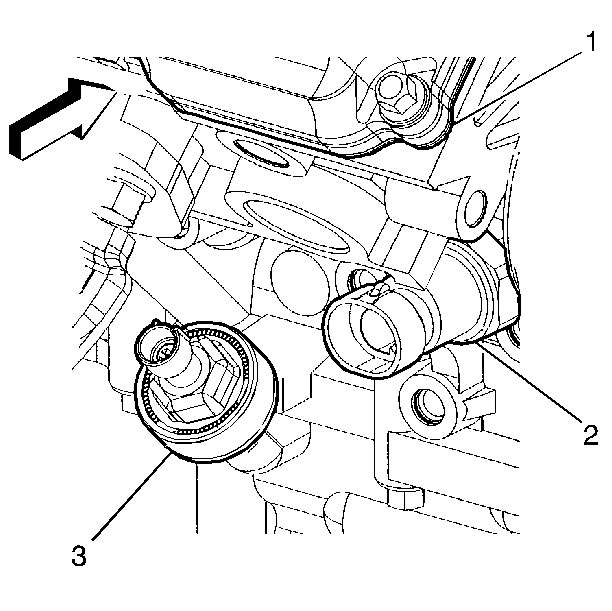
Figure 6:

Knock Sensor, Engine Oil Pressure (EOP) Switch


Object Number: 256279  Size: SH
(1)Bank 1 Cylinder Head
(2)Engine Oil Pressure (EOP) Switch
(3)Knock Sensor
Figure 7:

Bottom of Engine


Object Number: 256280  Size: SF
(1)Engine Oil Level Switch Mounting Bolt
(2)Engine Oil Level Switch
(3)Engine Oil Pan
Figure 8:

HO2S #2 (Post-Converter)


Object Number: 256240  Size: SF
(1)HO2S #2
(2)Catalytic Converter
Figure 9:

Front Left of Engine Compartment


Object Number: 296099  Size: SF
(1)Powertrain Control Module (PCM)
Figure 10:

AIR Pump Relay


Object Number: 671667  Size: LF
(1)AIR Pump Relay
Figure 11:

AIR Pump Motor -- Front Bank


Object Number: 671678  Size: LF
(1)AIR Pump Motor -- Front Bank
Figure 12:

AIR Solenoid


Object Number: 671672  Size: LF
(1)AIR Solenoid