GM Service Manual Online
For 1990-2009 cars only
Makes
🢒
Oldsmobile
🢒
2000
🢒
Intrigue
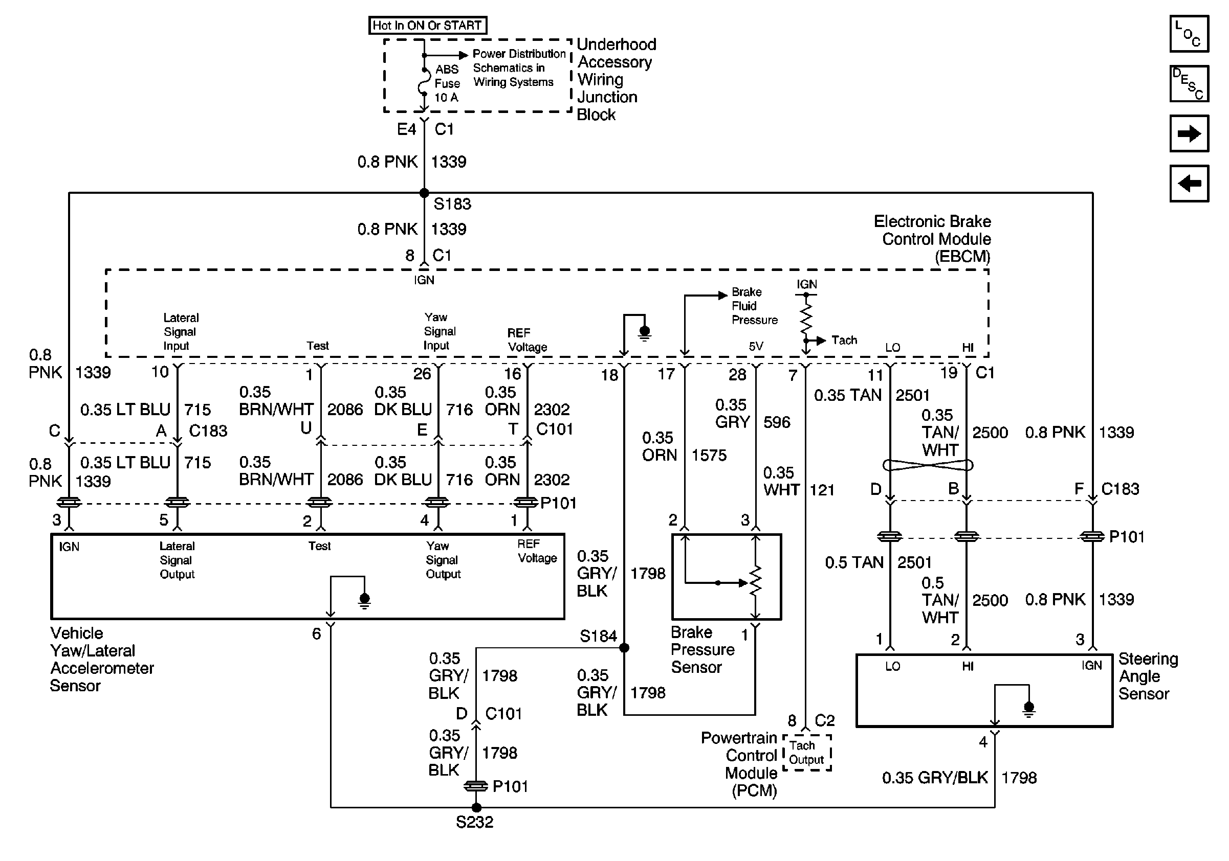
🢒 Precision Control System (PCS) (RPO JL4)
Precision Control System (PCS) (RPO JL4)
Precision Control System (PCS) (RPO JL4)
Trans Solenoid, ABS, and O2 Sensor Fuses
ABS Components
ABS Description
Wheel Speed Sensors
Ignition Switch and Tachometer Signal Inputs (w/o RPO JL4)