GM Service Manual Online
For 1990-2009 cars only

Removal Procedure

  1. Remove the secondary camshaft timing sprocket. Refer to Secondary Camshaft Timing Sprocket Replacement - Right Side .
  2. Remove the right exhaust secondary camshaft timing sprocket. Refer to Secondary Camshaft Timing Sprocket Replacement - Right Side .

  3. Object Number: 576493  Size: SH
  4. Remove the secondary drive chain tensioner retaining bolts.
  5. Remove the secondary drive tensioner.

Installation Procedure


    Object Number: 576493  Size: SH
  1. Position the secondary timing chain tensioner between the camshafts.
  2. Notice: Use the correct fastener in the correct location. Replacement fasteners must be the correct part number for that application. Fasteners requiring replacement or fasteners requiring the use of thread locking compound or sealant are identified in the service procedure. Do not use paints, lubricants, or corrosion inhibitors on fasteners or fastener joint surfaces unless specified. These coatings affect fastener torque and joint clamping force and may damage the fastener. Use the correct tightening sequence and specifications when installing fasteners in order to avoid damage to parts and systems.

  3. Install the secondary timing chain tensioner bolts.
  4. Tighten
    Tighten the secondary timing chain tensioner bolts to 12 N·m (106 lb in).


    Object Number: 277962  Size: SH
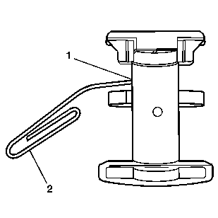
  5. Once mounted, compress the right secondary timing chain tensioner shoes with your hand.
  6. Lock the right secondary timing chain tensioner by inserting a piece of wire (2) into the access hole in the side of the tensioner (1).
  7. Slowly release the pressure from the right secondary timing chain tensioner shoes. The tensioner should remain compressed.
  8. Install the right exhaust secondary camshaft timing sprocket. Refer to Secondary Camshaft Timing Sprocket Replacement - Right Side .
  9. Install the secondary camshaft timing sprocket. Refer to Secondary Camshaft Timing Sprocket Replacement - Right Side .