GM Service Manual Online
For 1990-2009 cars only

Removal Procedure

  1. Remove the left instrument panel insulator. Refer to Instrument Panel Insulator Replacement in Instrument Panel Gauges and Console.
  2. Remove the knee bolster bracket. Refer to Knee Bolster Bracket Replacement in Instrument Panel, Gauges and Console.

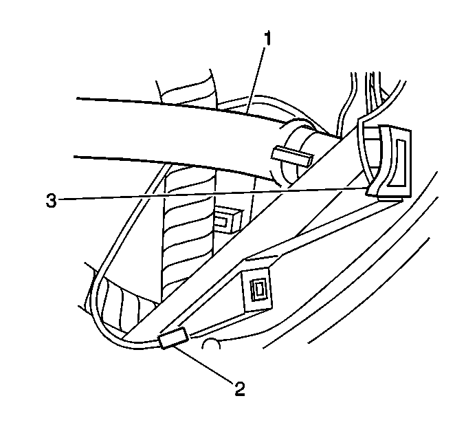
  3. Object Number: 420230  Size: SH
  4. Disconnect the aspirator duct (1) and position aside.
  5. Disconnect the electrical connector (2) from the inside air temperature sensor.
  6. Remove the inside air temperature sensor (3).

Installation Procedure


    Object Number: 420230  Size: SH

    Important: Ensure the air temperature sensor is sealed to the steering column filler trim panel in order prevent sampling the air behind the dash.

  1. Install the inside air temperature sensor (3).
  2. Connect the electrical connector (2) for the inside air temperature sensor.
  3. Connect the aspirator duct (1) to the inside air temperature sensor.
  4. Install the knee bolster bracket. Refer to Knee Bolster Bracket Replacement in Instrument Panel, Gauges and Console.
  5. Install the left instrument panel insulator. Refer to Instrument Panel Insulator Replacement in Instrument Panel, Gauges and Console.