GM Service Manual Online
For 1990-2009 cars only

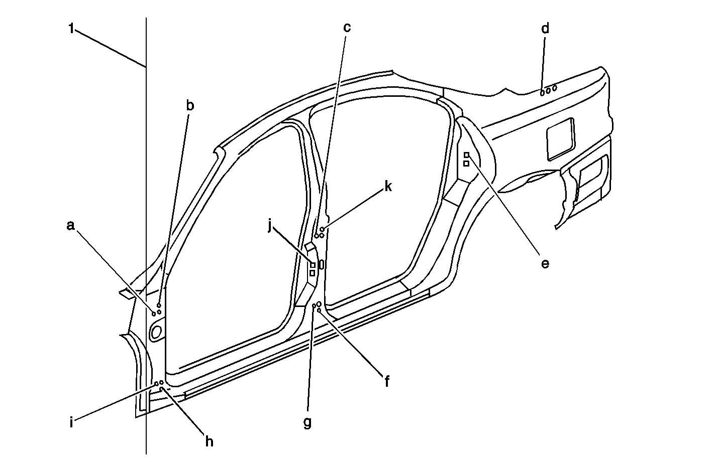
Body Side


Object Number: 802546  Size: MF

Location

Description

Length (mm)

Width (mm)

Height (mm)

a

--

56

802

939

b

--

77

802

962

c

--

1126

802

973

d

--

2835

669

1149

e

--

2104

812

1024

f

--

1143

814

637

g

--

1123

813

660

h

--

78

809

589

i

--

57

808

612

j

--

1105

788

819

k

--

1147

801

996

All dimensions are measured from a zero line, center line, and a common datum. All dimensions are symmetrical unless otherwise specified.

Front End


Object Number: 314871  Size: LF

Location

Description

Length (mm)

Width (mm)

Height (mm)

1

7 mm Engine Mount Attach

1104

236

927

2

7 mm Engine Mount Attach

1104

210

927

3

9x18 mm Bumper Bar Attach

1219

616

675

4

16 mm Bumper Bar Attach

1219

616

606

5

16 mm Bumper Bar Attach

1255

450

606

All dimensions are measured from a zero line, center line, and a common datum. All dimensions are symmetrical unless otherwise specified.

Engine Compartment


Object Number: 314873  Size: LF

Location

Description

Length (mm)

Width (mm)

Height (mm)

1

Center Line

--

--

--

2

Zero Line

--

--

--

3

Datum Line

--

--

--

a

Point to Point

1691

0

0

b

Bumper Attachment

1255

450

606

c

Support Brace Attachment

1106 R

1132 L

468 R

319 L

922

d

Fender Attachment

988

710

921

e

Suspension Attachment

448

551

1043

f

Suspension Attachment

401

664

1054

g

Hood Hinge Attachment

155

754

1064

All dimensions are measured from a zero line, center line, and a common datum. All dimensions are symmetrical unless otherwise specified.