GM Service Manual Online
For 1990-2009 cars only
Makes
🢒
Oldsmobile
🢒
2002
🢒
Intrigue
🢒
Body and Accessories
🢒
Seats
🢒 Power Seats Schematics
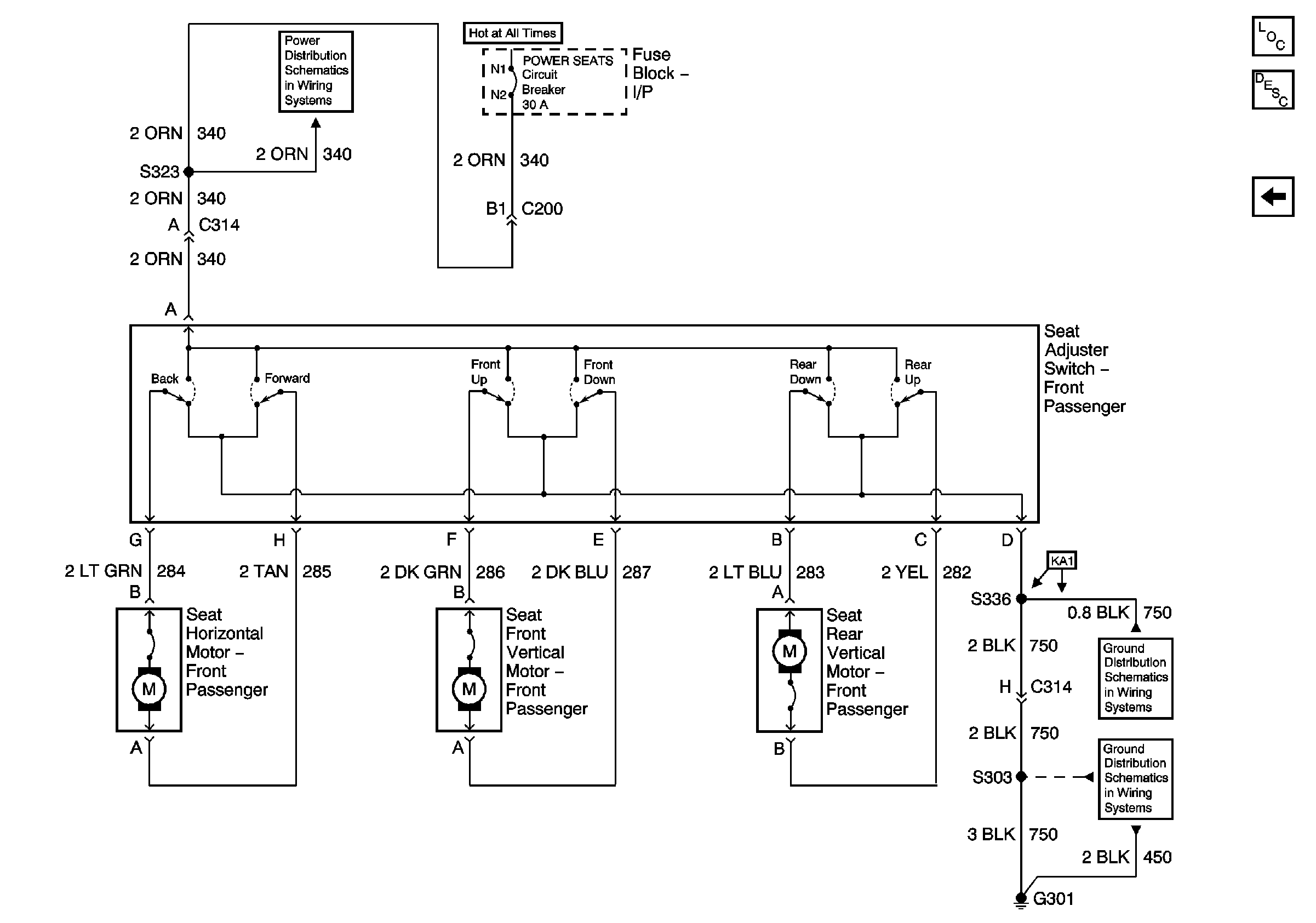
Figure
1:
Driver
Master Electrical Component List
Power Seats System Description and Operation
Front Passenger
ONSTAR, LH HEATED SEAT, RH HEATED SEAT Fuses, POWER SEATS Circuit Breaker, and REAR DEFOG Circuit Breaker
ONSTAR, LH HEATED SEAT, RH HEATED SEAT Fuses, POWER SEATS Circuit Breaker, and REAR DEFOG Circuit Breaker
G301 (2 of 3)
G301 (1 of 3)
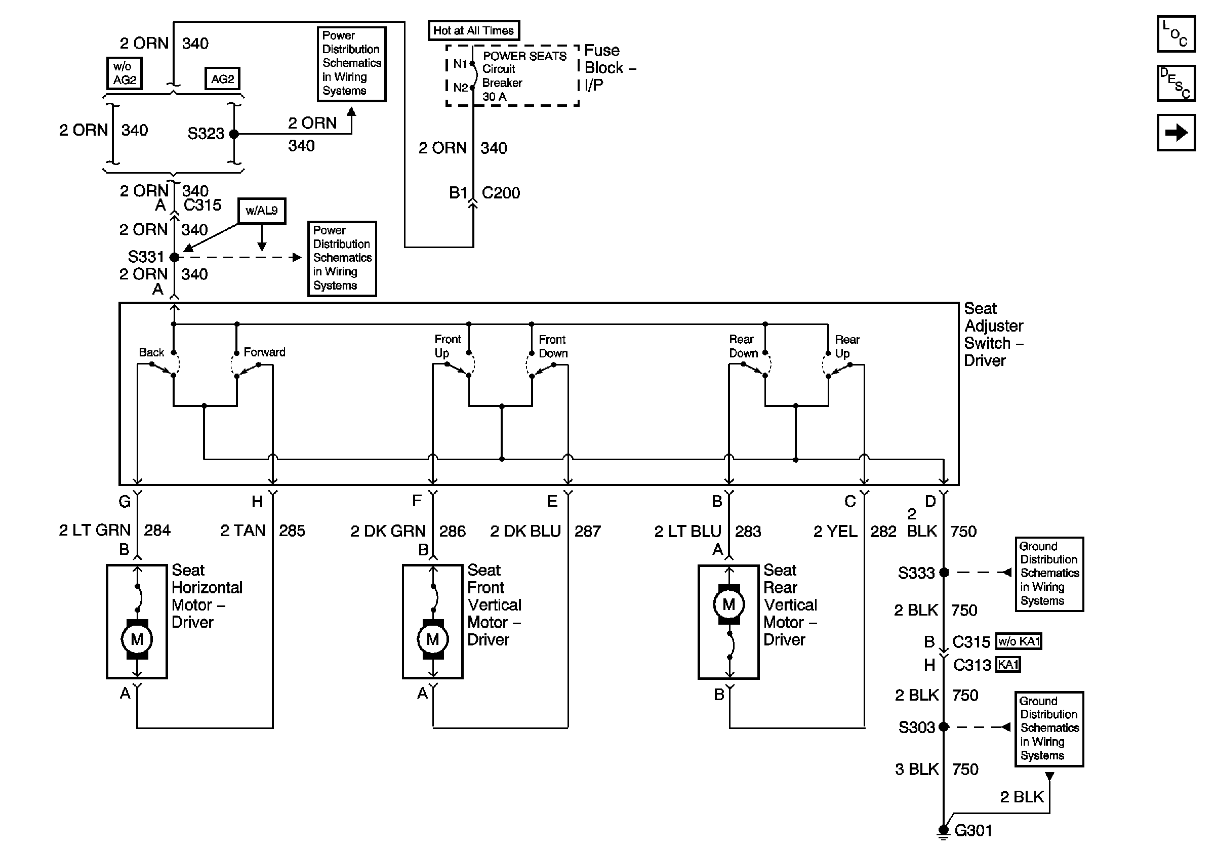
Figure
2:
Front Passenger
Master Electrical Component List
Power Seats System Description and Operation
Driver
ONSTAR, LH HEATED SEAT, RH HEATED SEAT Fuses, POWER SEATS Circuit Breaker, and REAR DEFOG Circuit Breaker
G301 (2 of 3)
G301 (1 of 3)