GM Service Manual Online
For 1990-2009 cars only

    Object Number: 483062  Size: SH
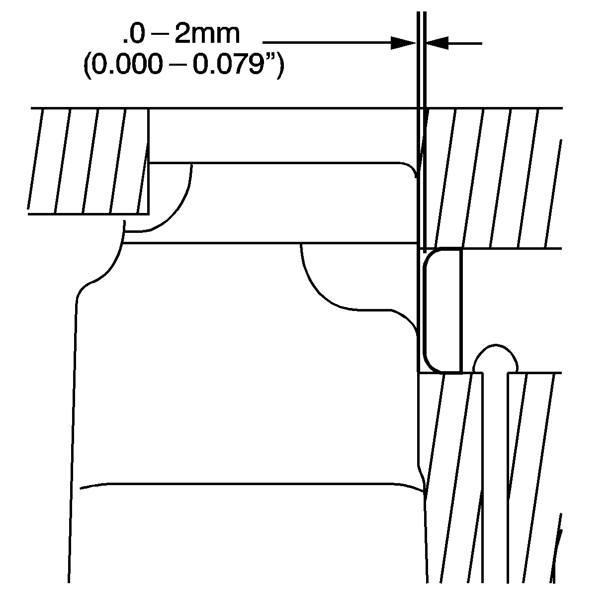
  1. Install the NEW oil gallery expansion plug.

  2. Object Number: 483068  Size: SH
  3. Ensure the NEW oil gallery expansion plug is installed to the proper depth.

  4. Object Number: 483057  Size: SH

    Notice: Use the correct fastener in the correct location. Replacement fasteners must be the correct part number for that application. Fasteners requiring replacement or fasteners requiring the use of thread locking compound or sealant are identified in the service procedure. Do not use paints, lubricants, or corrosion inhibitors on fasteners or fastener joint surfaces unless specified. These coatings affect fastener torque and joint clamping force and may damage the fastener. Use the correct tightening sequence and specifications when installing fasteners in order to avoid damage to parts and systems.

  5. Install the NEW oil gallery threaded plug.
  6. Tighten
    Tighten the NEW oil gallery threaded plug to 65 N·m (48 lb ft).