GM Service Manual Online
For 1990-2009 cars only
Makes
🢒
Oldsmobile
🢒
2002
🢒
Intrigue
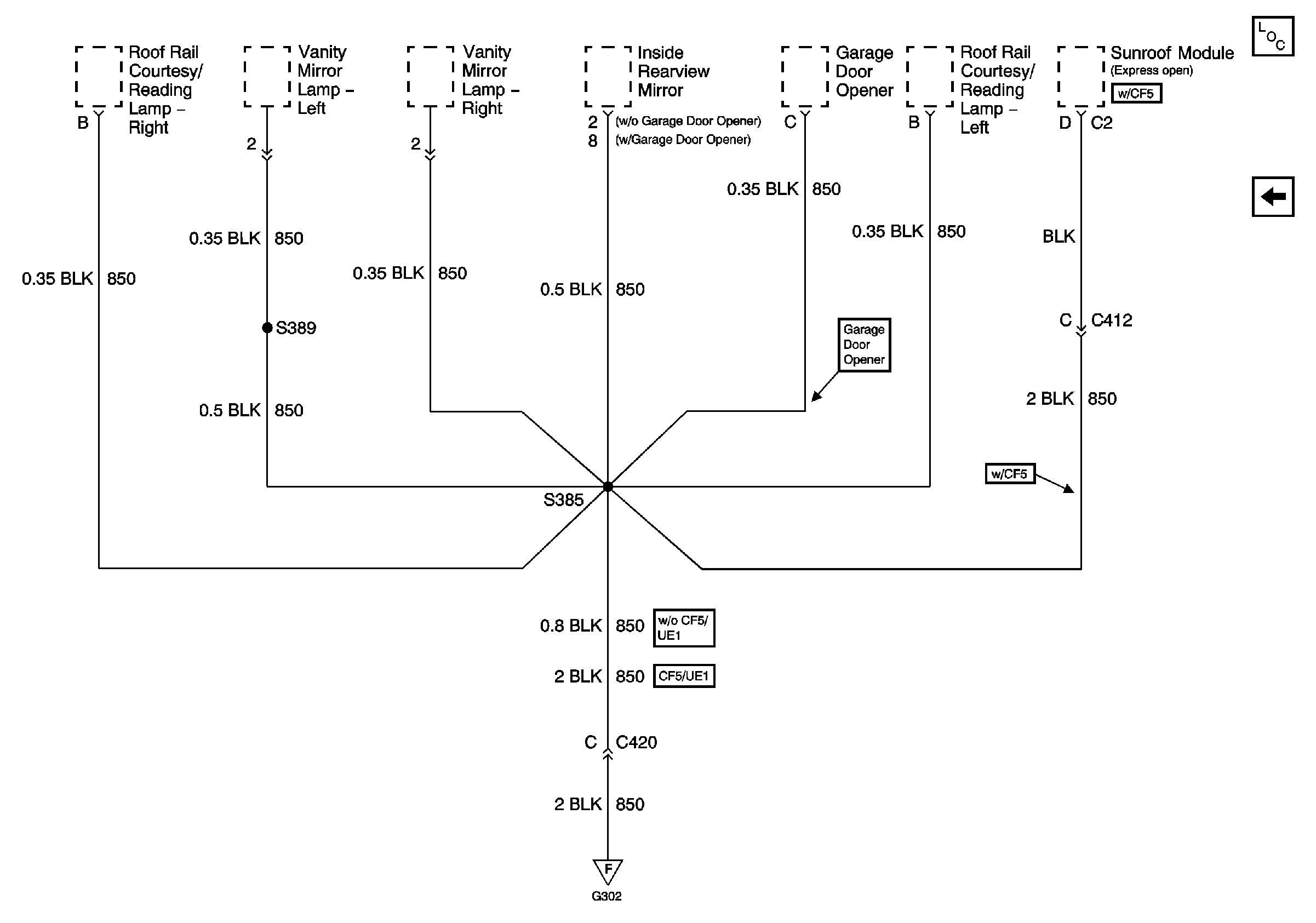
🢒 G302
G302
G302 - 2 of 2
Master Electrical Component List
G302
G302