GM Service Manual Online
For 1990-2009 cars only
Makes
🢒
Oldsmobile
🢒
2002
🢒
Intrigue
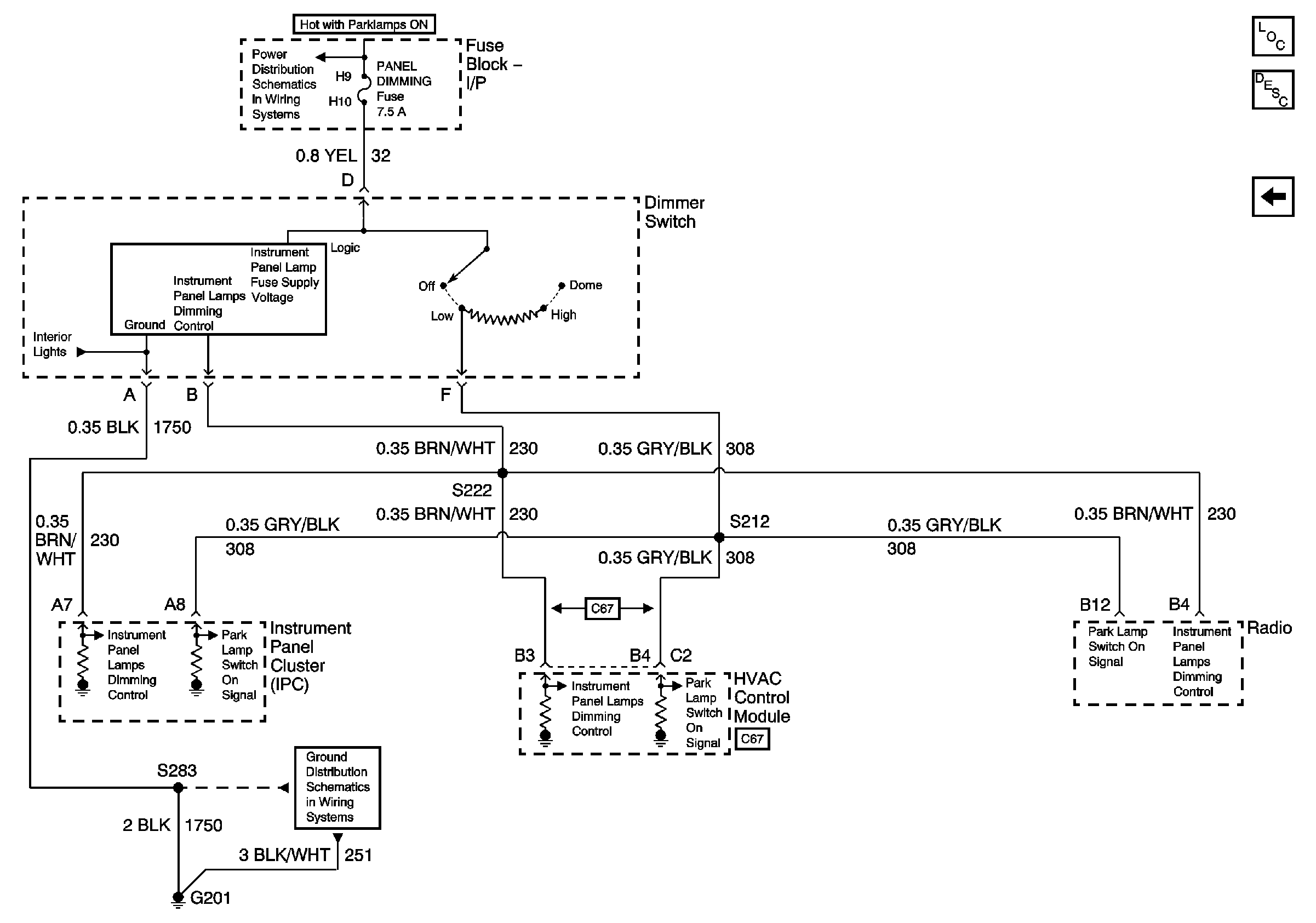
🢒 Dimming Control, IPC, HVAC, and Radio
Dimming Control, IPC, HVAC, and Radio
Dimming Control, IPC, HVAC, and Radio
Master Electrical Component List
Interior Lighting Systems Description and Operation
Steering Wh, Doors, Garage Dr Opener, Console
FRONT PARK LAMPS, TAIL LAMPS/LIC LAMPS, and PANEL DIMMING Fuses (1of 3)
I/P, Rear Compartment and Courtesy Lamp Control
G201