GM Service Manual Online
For 1990-2009 cars only

Removal Procedure


    Object Number: 179133  Size: SH
  1. Remove the left closeout/insulator panel. Refer to Instrument Panel Insulator Panel Replacement - Left Side , Instrument Panel Insulator Panel Replacement - Left Side , or Instrument Panel Insulator Panel Replacement - Left Side .
  2. Remove the accelerator cable (2) from the accelerator pedal (3).

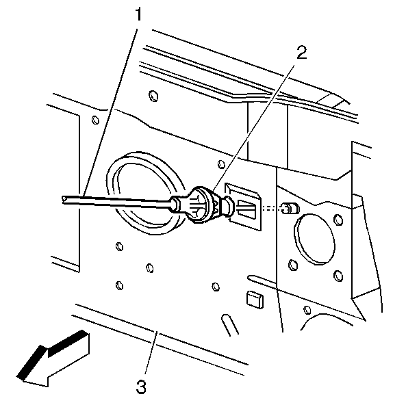
  3. Object Number: 179143  Size: SH
  4. Squeeze the accelerator cable (1) tangs (2) and push the accelerator cable through the bulkhead (3).

  5. Object Number: 179146  Size: SH
  6. Remove the accelerator cable (1) from the retaining clip (2) on the strut tower.

  7. Object Number: 179148  Size: SH
  8. Remove the accelerator cable (2) from the throttle body lever (3).

  9. Object Number: 179146  Size: SH
  10. Remove the accelerator cable (1) from the accelerator controls bracket (3).

Installation Procedure

Notice: Do not route flexible components (hoses, wires, conduits, etc.) within 50 mm (2 in) of moving parts unless flexible components can be securely fastened. This is necessary in order to prevent possible interference and damage to the component.

Important: Do not kink cable during installation.


    Object Number: 179143  Size: SH
  1. Install the accelerator control cable (1) through the bulkhead (3).
  2. Install the accelerator control cable tangs (2) through the bulkhead.
  3. 2.1. Apply pressure to seat the grommet.
    2.2. Ensure grommet is fully seated.

    Object Number: 179133  Size: SH
  4. Install the accelerator cable (2) through the slot in the accelerator pedal lever (3).
  5. Seat the snap retainer (1) in the accelerator pedal lever.
  6. Important: The throttle should operate freely, without binding, between full closed and wide open throttle.

  7. Check for complete throttle opening and closing positions by operating the accelerator pedal. Also check for poor carpet fit under the accelerator pedal.

  8. Object Number: 179148  Size: SH

    Important: Assure that the cable is under the hook (1) in the throttle body lever.

  9. Install the accelerator cable (2) to the throttle body lever (3).

  10. Object Number: 179152  Size: SH
  11. Install the accelerator cable (1) to the accelerator controls bracket (2).

  12. Object Number: 179146  Size: SH
  13. Install the accelerator cable (1) into the retaining clip (2) on the strut tower.
  14. Install the left closeout/insulator panel. Refer to Instrument Panel Insulator Panel Replacement - Left Side , Instrument Panel Insulator Panel Replacement - Left Side , or Instrument Panel Insulator Panel Replacement - Left Side .