GM Service Manual Online
For 1990-2009 cars only
Makes
🢒
Oldsmobile
🢒
1998
🢒
LSS
🢒
Suspension
🢒
Automatic Level Control
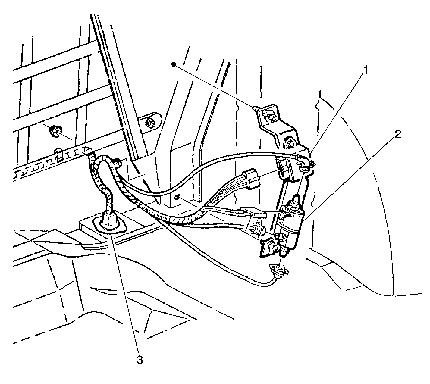
🢒 Automatic Level Control Component Views
Figure
1:
Below RH Rear of Vehicle
(1)
RH Rear Rail
(2)
Automatic Level Control Sensor
(3)
Automatic Level Control Compressor
Figure
2:
RH Side of Rear Compartment (Pontiac)
(1)
Inflator Timer Relay
(2)
Inflator Solenoid
(3)
P403