GM Service Manual Online
For 1990-2009 cars only
Makes
🢒
Oldsmobile
🢒
1998
🢒
LSS
🢒
HVAC
🢒
HVAC Systems - Automatic
🢒 Data Link Communications Component Views
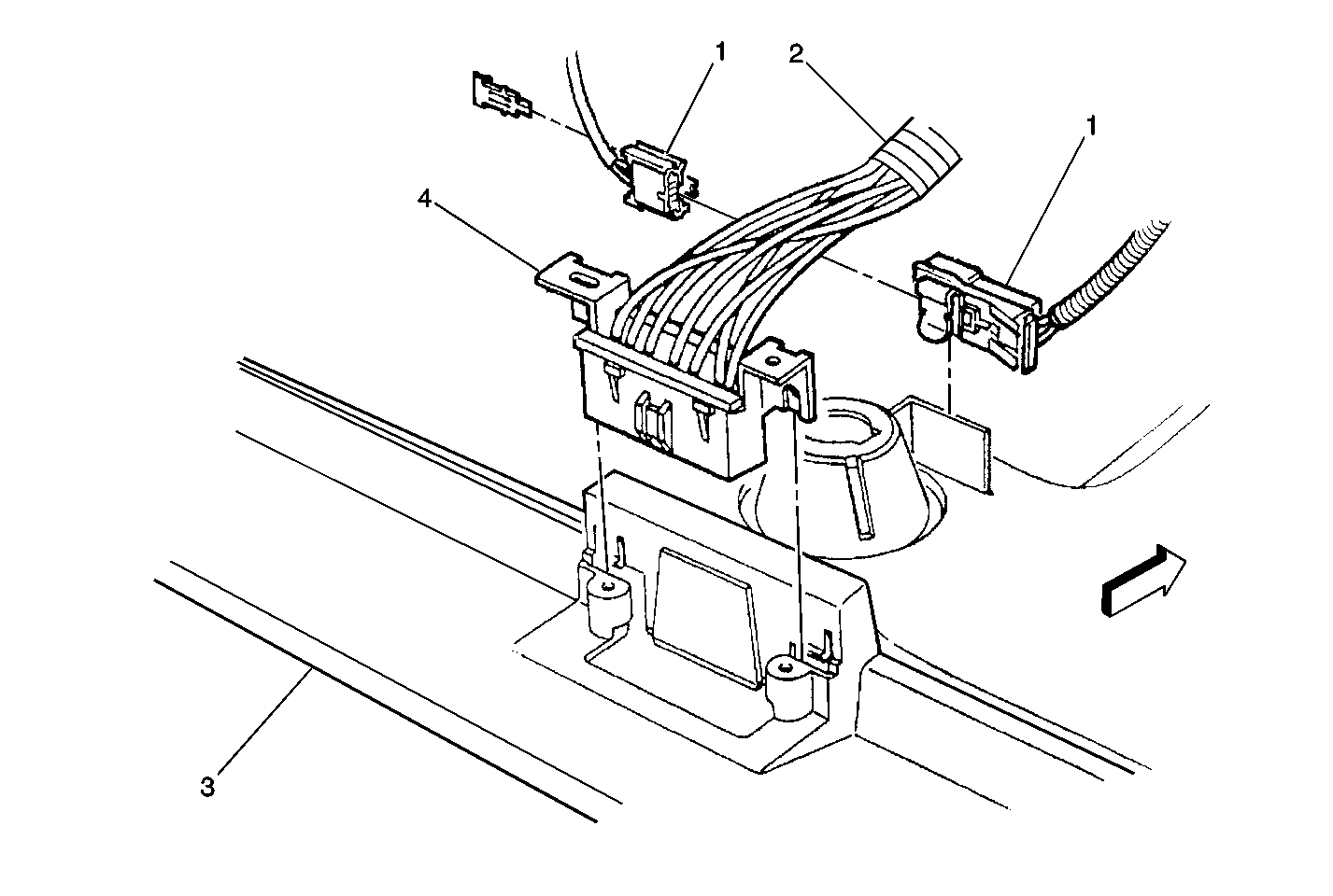
Passenger Compartment, Below the Steering Column
(1)
Inflatable Restraint Steering Wheel Module Coil
(1)
Inflatable Restraint Steering Wheel Module Coil
(2)
S226
(3)
LH IP Sound Insulator
(4)
Data Link Connector (DLC)