CAUTION: Be careful when you handle a sensing and diagnostic module (SDM). Do
not strike or jolt the SDM. Before applying power to the SDM:
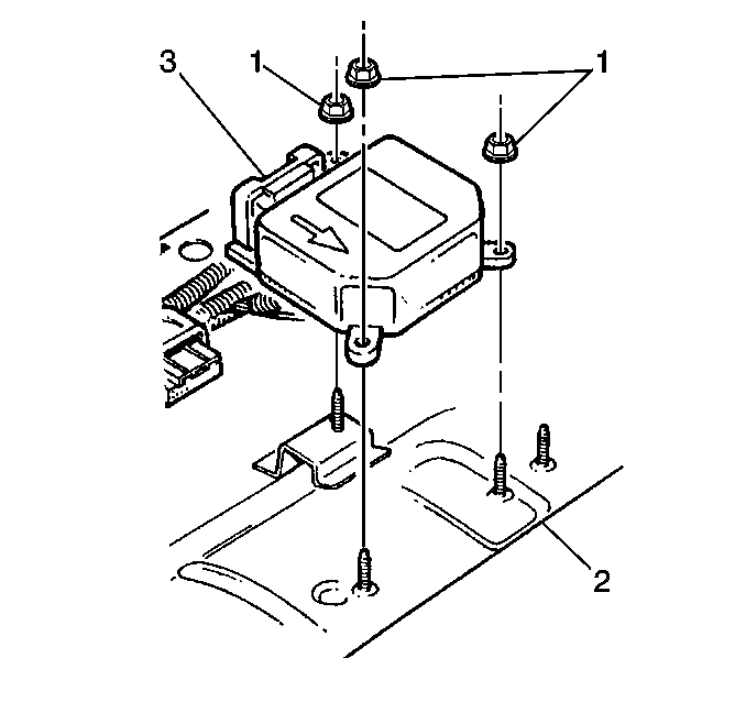
• Remove any dirt, grease, etc. from the mounting surface • Position the SDM horizontally on the mounting surface • Point the arrow on the SDM toward the front of the vehicle • Tighten all of the SDM fasteners and SDM bracket fasteners to
the specified torque value
Notice: Use the correct fastener in the correct location. Replacement fasteners must be the correct part number for that application. Fasteners requiring replacement or fasteners requiring the use of thread locking compound or sealant are identified in the service procedure. Do not use paints, lubricants, or corrosion inhibitors on fasteners or fastener joint surfaces unless specified. These coatings affect fastener torque and joint clamping force and may damage the fastener. Use the correct tightening sequence and specifications when installing fasteners in order to avoid damage to parts and systems.
Tighten
Tighten fasteners to 9 N·m (80 lb in).