GM Service Manual Online
For 1990-2009 cars only
Figure 1:

Engine Compartment, Lower Left Corner


Object Number: 219814  Size: LF
(1)Brake Pressure Modulator Valve (BPMV) Ground
(2)Brake Pressure Modulator Valve (BPMV)
(3)Electronic Brake And Traction Control Module (EBCM/EBTCM)
(4)C119
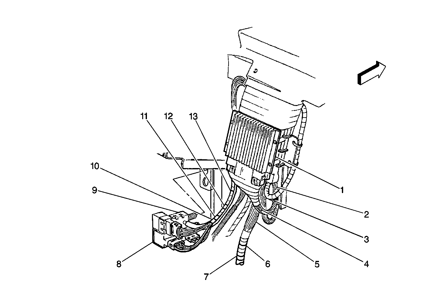
Figure 2:

Passenger Compartment, Below the Center of the Instrument Panel


Object Number: 342657  Size: MF
(1)Lamp Monitor Control Module
(2)S259
(3)S258
(4)S236
(5)S232
(6)S235
(7)To C200
(8)Stoplamp/BTSI Switch
(9)ABS/TCC Switch
(10)S231
(11)S228
(12)S230
(13)S296
(2)
Figure 3:

Passenger Compartment, Below the Right Corner of the IP


Object Number: 342677  Size: MF
(1)Brake Lamp Driver Module
(2)Perimeter Lighting Relay
(3)Body Control Module (MALL)
(4)S274
(5)S247
(6)S267
Figure 4:

Wheel Opening, Left Front


Object Number: 342595  Size: MF
(1)C120 (LH) C121 (RH)
(2)LH Front Wheel Speed Sensor (RH Similar)
(3)LH Front Disc Brake Rotor (RH Similar)
Figure 5:

Under the Rear of the Vehicle


Object Number: 317706  Size: LF
(1)RH Rear Wheel Speed Sensor (LH Similar)
(2)C415
(3)Automatic Level Control Sensor