| Figure 1: |
Cell 100: PWR, Headlamp Switch and Headlamp Control
|
| Figure 2: |
Cell 100: GND, Ignition Switch,PNP Switch, RFA, Twilight Sentinal and
Ambient Light Sensor
|
| Figure 3: |
Cell 100: Headlamps w/ UB3
|
| Figure 4: |
Cell 100: Headlamps w/ U50 or U2F
|
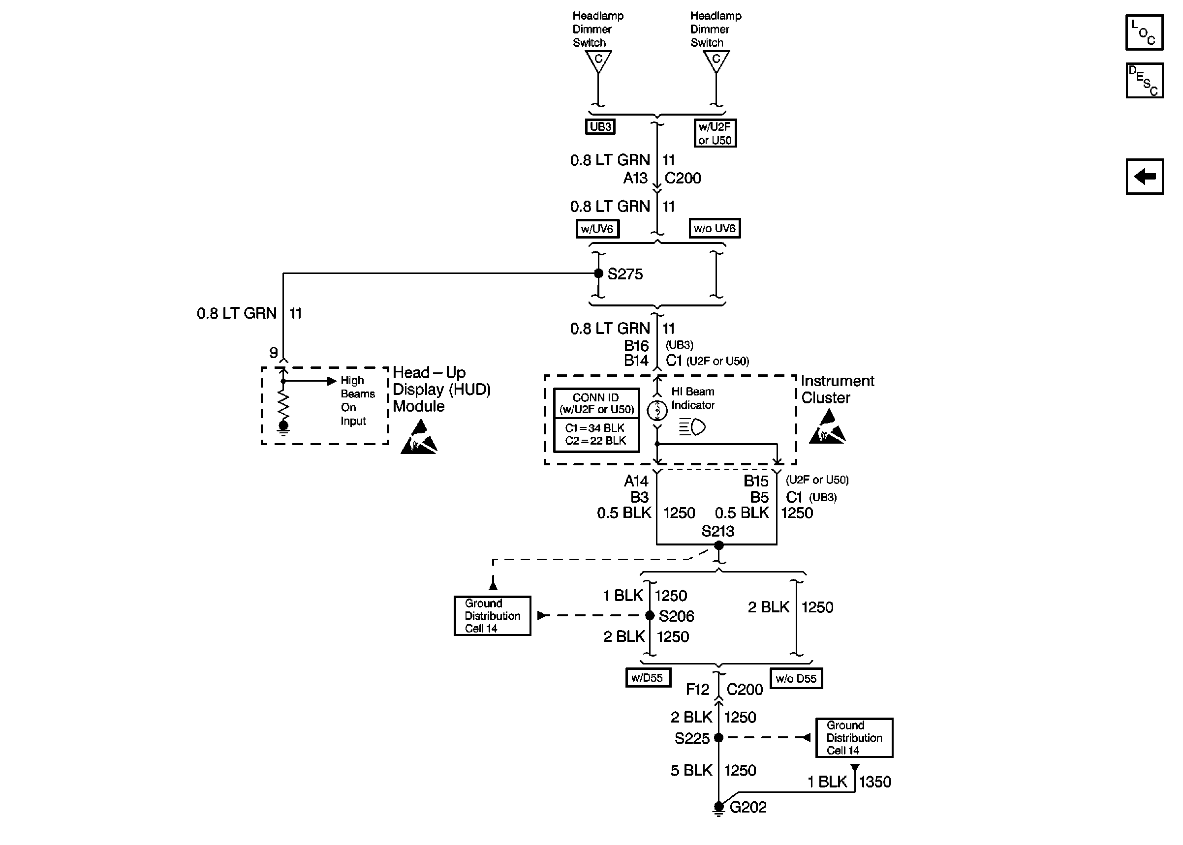
| Figure 5: |
Cell 100: High Beam Indicator and Head-Up Display (HUD)
|