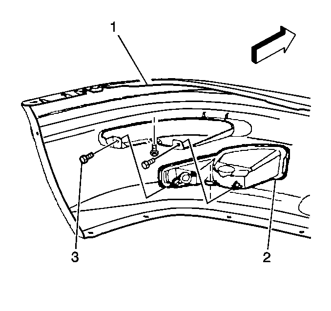
Removal Procedure
- Raise and support the vehicle. Refer to
Lifting and Jacking the Vehicle
in General Information.
- Remove the bulb/sockets from the lamp.
- Remove the screws (3)
that retain
the lamp to the front bumper fascia (1).
- Remove the front park/side marker lamp (2) from the fascia (1).
Installation Procedure
- Install the front park/side
marker lamp (2)
to the front bumper fascia (1).
- Install the screws (3) in order to retain the lamp to the
fascia (1).
- Install the bulb/sockets to the lamp.
- Lower the vehicle.