GM Service Manual Online
For 1990-2009 cars only

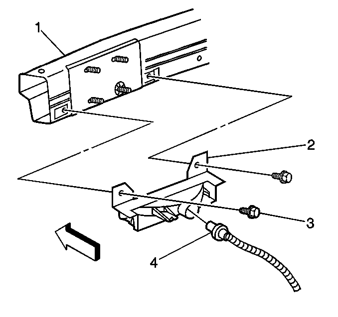
Front Fog Lamp Replacement 88/LSS

Removal Procedure


    Object Number: 385435  Size: SH
  1. Remove the electrical connector from the fog lamp (4).
  2. Remove the bolts (3) that retain the fog lamp (2) to the impact bar (1).
  3. Remove the fog lamp (2).

Installation Procedure


    Object Number: 385435  Size: SH
  1. Install the fog lamp (2) to the impact bar (1).
  2. Notice: Use the correct fastener in the correct location. Replacement fasteners must be the correct part number for that application. Fasteners requiring replacement or fasteners requiring the use of thread locking compound or sealant are identified in the service procedure. Do not use paints, lubricants, or corrosion inhibitors on fasteners or fastener joint surfaces unless specified. These coatings affect fastener torque and joint clamping force and may damage the fastener. Use the correct tightening sequence and specifications when installing fasteners in order to avoid damage to parts and systems.

  3. Install the bolts (3) in order to retain the fog lamp (2) to the impact bar (1).
  4. Tighten
    Tighten the bolts (3) to 3.2 N·m (28 lb in).

  5. Install the electrical connector to the fog lamp (4).

Front Fog Lamp Replacement Pontiac Bonneville SE

Removal Procedure

  1. Raise and support the vehicle. Refer to Lifting and Jacking the Vehicle in General Information.

  2. Object Number: 299682  Size: SH
  3. Remove the electrical connector.
  4. Remove the bolts (4) that retain the fog lamp (3) to the mounting bracket.
  5. Remove the fog lamp (3).
  6. Remove the U-clips (2).
  7. Lower the vehicle.

Installation Procedure

Important: Inspect the fog lamp aim after the installation of the fog lamp. Refer to Fog Lamp Aiming .


    Object Number: 299682  Size: SH
  1. Install the U-clips (2).
  2. Install the fog lamp (3).
  3. Notice: Use the correct fastener in the correct location. Replacement fasteners must be the correct part number for that application. Fasteners requiring replacement or fasteners requiring the use of thread locking compound or sealant are identified in the service procedure. Do not use paints, lubricants, or corrosion inhibitors on fasteners or fastener joint surfaces unless specified. These coatings affect fastener torque and joint clamping force and may damage the fastener. Use the correct tightening sequence and specifications when installing fasteners in order to avoid damage to parts and systems.

  4. Install the bolts (4) in order to retain the fog lamp (3) to the mounting bracket.
  5. Tighten
    Tighten the bolts (4) to 3.2 N·m (28 lb in).

  6. Install the electrical connector to the fog lamp (3).
  7. Lower the vehicle.

Front Fog Lamp Replacement Pontiac Bonneville SSE, SSEi

Removal Procedure

  1. Raise and support the vehicle. Refer to Lifting and Jacking the Vehicle in General Information.

  2. Object Number: 299694  Size: SH
  3. Remove the electrical connector.
  4. Remove the nuts (3) that retain the fog lamp (2) to the impact bar (1).
  5. Remove the fog lamp (2).

Installation Procedure

Important: Inspect the fog lamp aim after the installation of the fog lamp. Refer to Fog Lamp Aiming .


    Object Number: 299694  Size: SH
  1. Install the fog lamp (2).
  2. Notice: Use the correct fastener in the correct location. Replacement fasteners must be the correct part number for that application. Fasteners requiring replacement or fasteners requiring the use of thread locking compound or sealant are identified in the service procedure. Do not use paints, lubricants, or corrosion inhibitors on fasteners or fastener joint surfaces unless specified. These coatings affect fastener torque and joint clamping force and may damage the fastener. Use the correct tightening sequence and specifications when installing fasteners in order to avoid damage to parts and systems.

  3. Install the nuts (3) in order to retain the fog lamp (2) to the impact bar (1).
  4. Tighten
    Tighten the nuts (3) to 3.2 N·m (28 lb in).

  5. Install the electrical connector to the fog lamp (2).
  6. Lower the vehicle.