GM Service Manual Online
For 1990-2009 cars only
Makes
🢒
Oldsmobile
🢒
1998
🢒
LSS
🢒
Body and Accessories
🢒
Body Front End
🢒 Engine Splash Shield Replacement
Removal Procedure
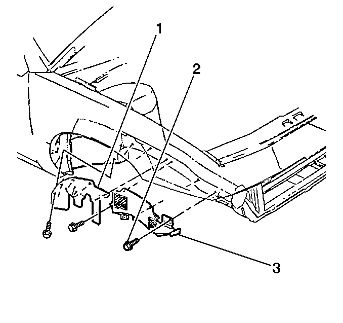
Remove the push-in retainers (2) from the splash shields (1,3).
Remove the engine splash shields (1,3).
Installation Procedure
Install the engine splash shields (1,3).
Install the push-in retainers (2).