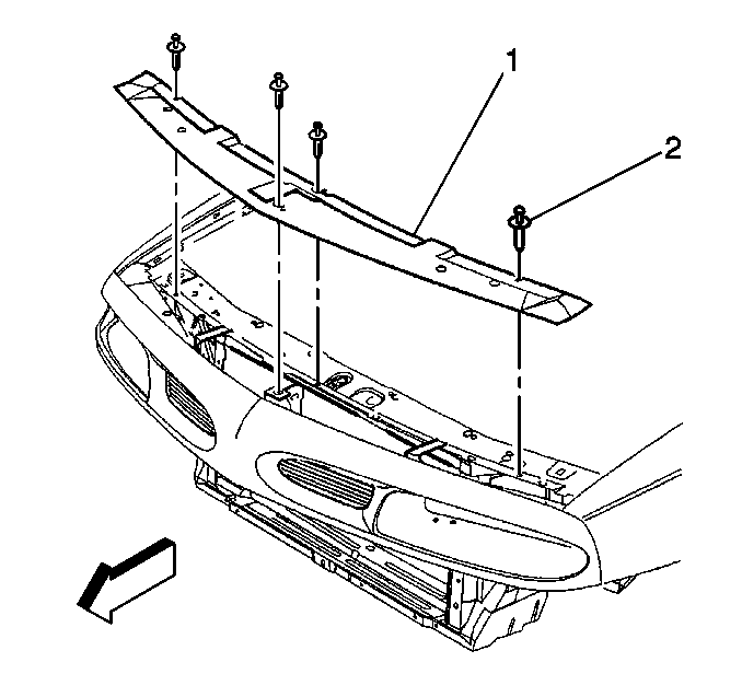
Filler Panel Replacement - Upper 88/LSS
Removal Procedure
- Remove the push-in retainers (2) from
the filler panel (1).
- Remove the upper filler panel (1).
Installation Procedure
- Install the upper filler panel (1).
- Install the push-in retainers (2) .
Filler Panel Replacement - Upper Regency
Removal Procedure
- Remove the push-in retainers (2)
from the filler panel (1).
- Remove the upper filler panel (1).
Installation Procedure
- Install the upper filler
panel (1).
- Install the push-in retainers (2) .