GM Service Manual Online
For 1990-2009 cars only

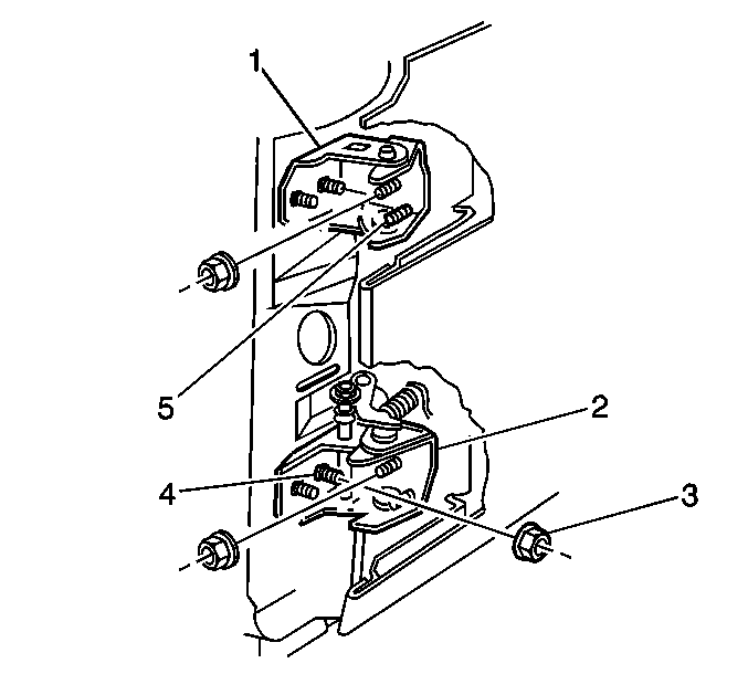
Removal Procedure


    Object Number: 501004  Size: SH
  1. Remove the door. Refer to Door Replacement .
  2. Remove the 2 nuts from the pillar side of the hinge.
  3. Remove the hinge.

Installation Procedure

    Notice: Use the correct fastener in the correct location. Replacement fasteners must be the correct part number for that application. Fasteners requiring replacement or fasteners requiring the use of thread locking compound or sealant are identified in the service procedure. Do not use paints, lubricants, or corrosion inhibitors on fasteners or fastener joint surfaces unless specified. These coatings affect fastener torque and joint clamping force and may damage the fastener. Use the correct tightening sequence and specifications when installing fasteners in order to avoid damage to parts and systems.

  1. Install the hinge and the 2 nuts.
  2. Tighten
    Tighten the nuts to 47 N·m (35 lb ft).

  3. Install the door to the hinge. Refer to Door Replacement .
  4. Inspect the door for proper alignment. Adjust the door as needed.