GM Service Manual Online
For 1990-2009 cars only
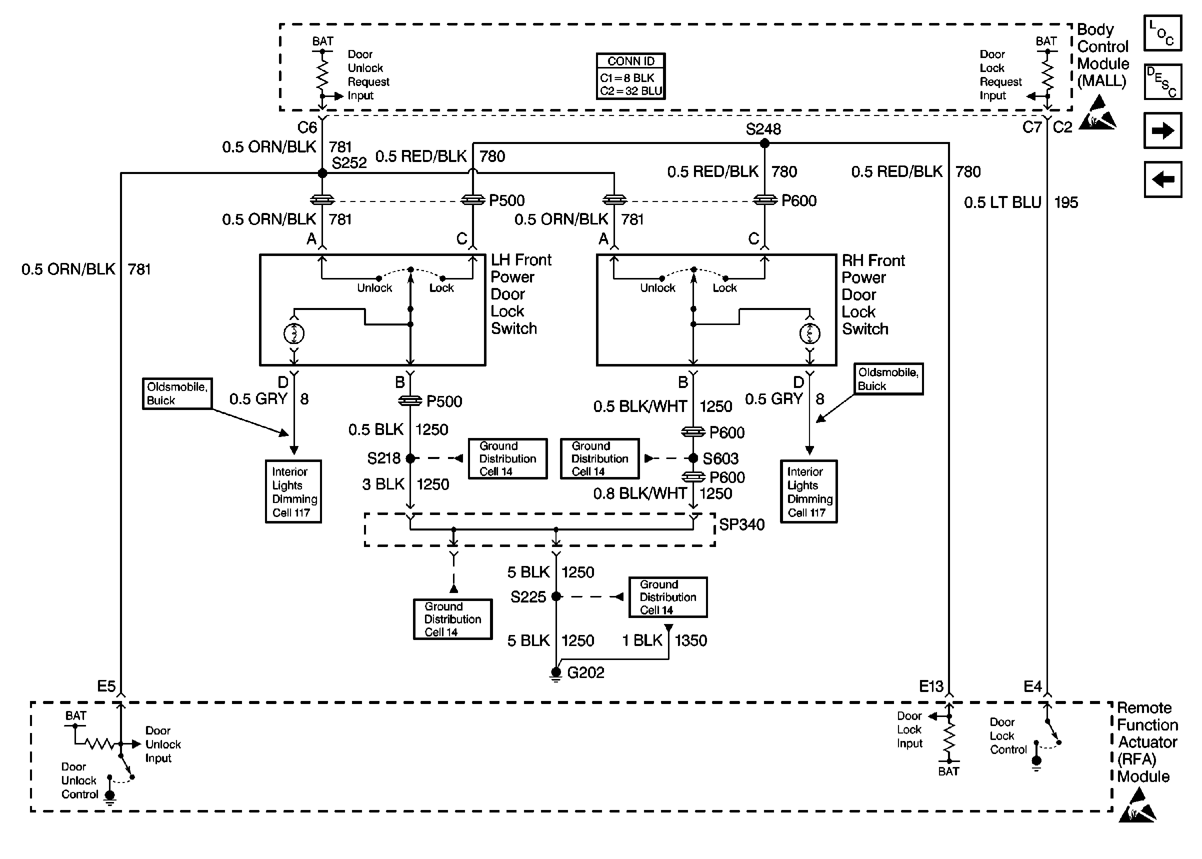
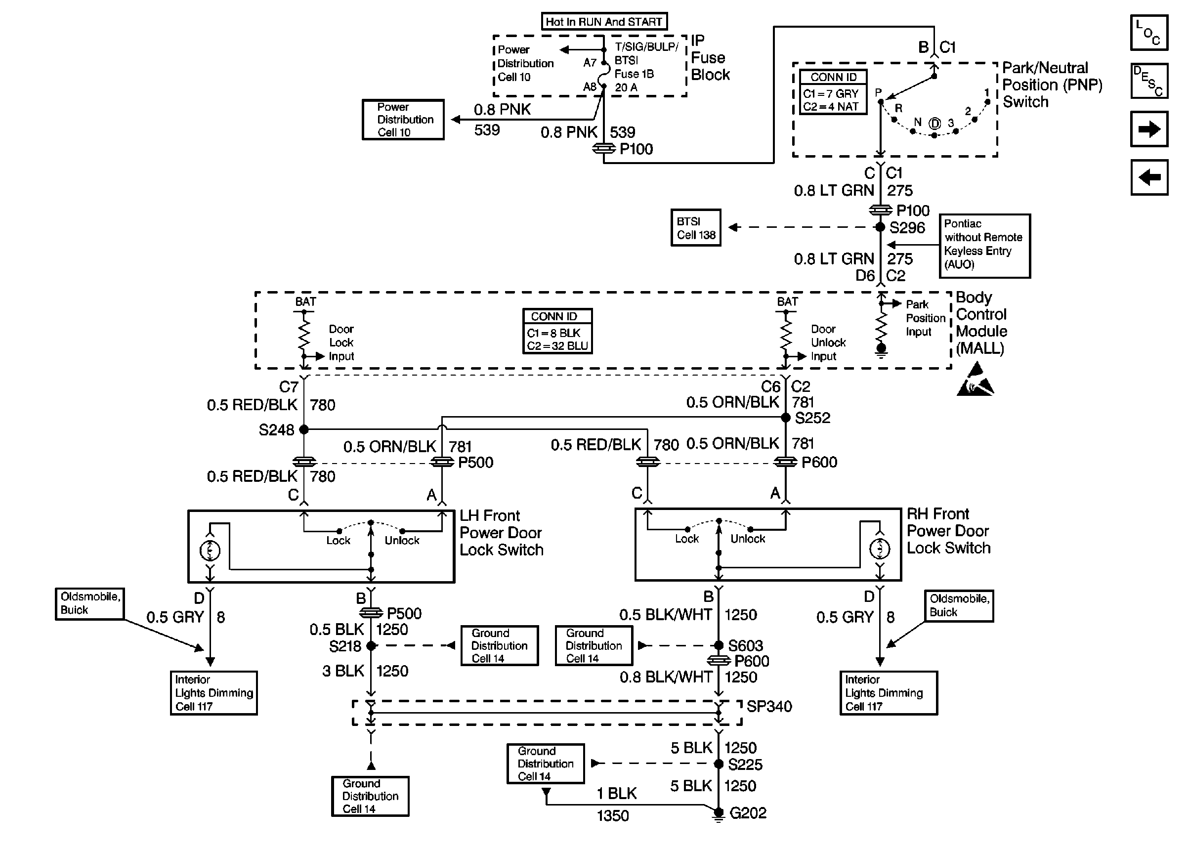
Figure 1:

Cell 130: Door Locks without Keyless Entry, Power Distribution


Object Number: 469999  Size: FS
Power Distribution Schematics
Power Distribution Schematics
Power Distribution Schematics
Ground Distribution Schematics
Power Distribution Schematics
Power Distribution Schematics
Power Door Systems Components
Power Door Locks Circuit Description
Cell 130: Door Locks Without Keyless Entry, Door Lock Switches
Handling ESD Sensitive Parts Notice
Ground Distribution Schematics
Power Door Systems Connector End Views
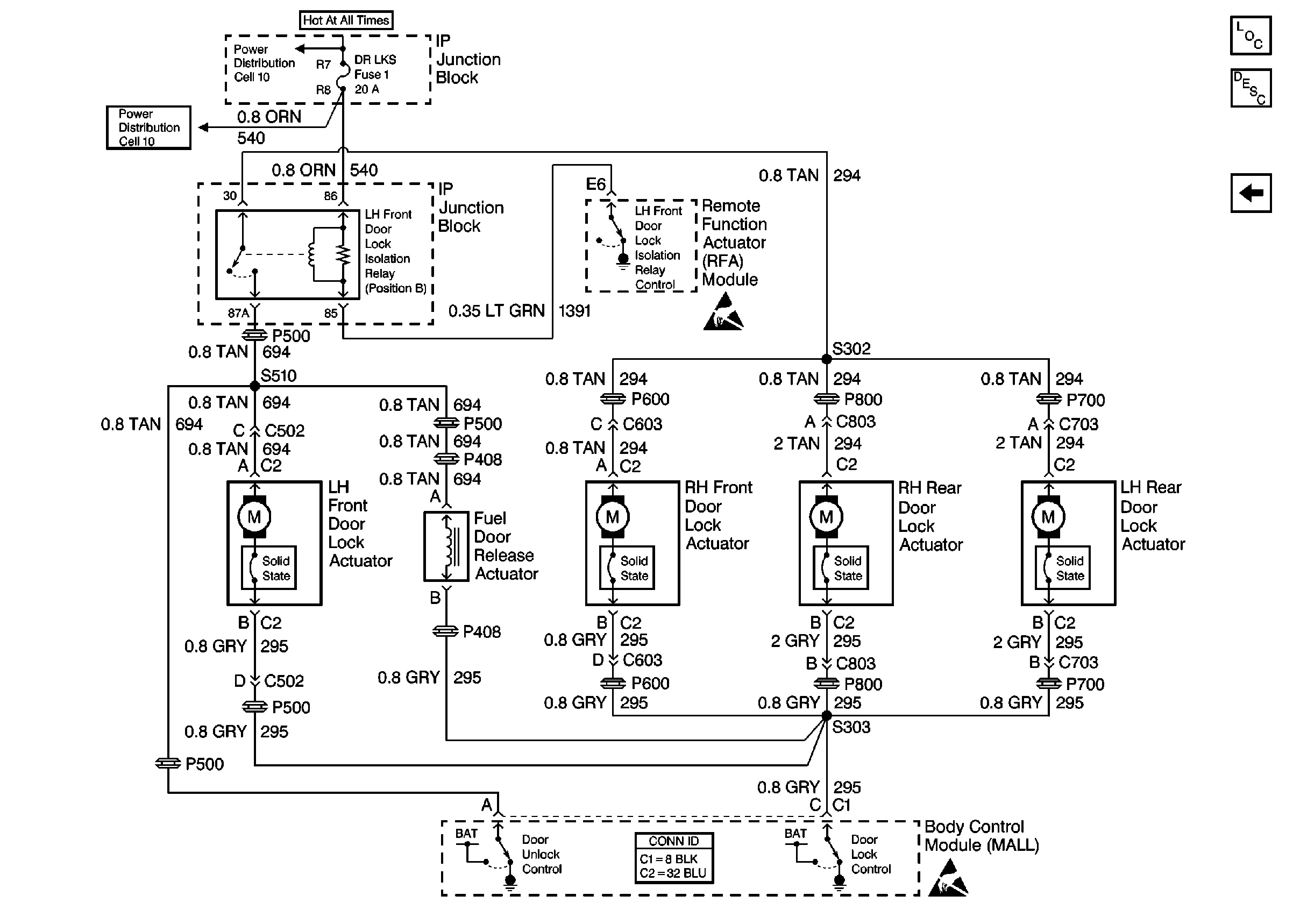
Figure 2:

Cell 130: Door Locks Without Keyless Entry, Door Lock Switches


Object Number: 470001  Size: FS
Power Distribution Schematics
Power Distribution Schematics
Handling ESD Sensitive Parts Notice
Interior Lights Dimming Schematics Oldsmobile
Ground Distribution Schematics
Ground Distribution Schematics
Interior Lights Dimming Schematics Oldsmobile
Power Door Systems Components
Power Door Locks Circuit Description
Cell 130: Door Locks Without Keyless Entry, Door Lock Actuators
Cell 130: Door Locks without Keyless Entry, Power Distribution
Ground Distribution Schematics
Power Door Systems Connector End Views
Power Door Systems Connector End Views
Ground Distribution Schematics
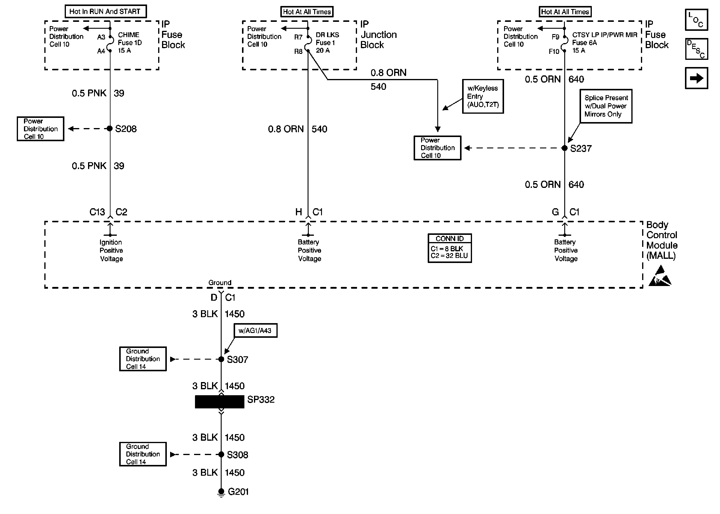
Figure 3:

Cell 130: Door Locks Without Keyless Entry, Door Lock Actuators


Object Number: 470002  Size: FS
Handling ESD Sensitive Parts Notice
Power Door Systems Components
Power Door Locks Circuit Description
Cell 130: Door Locks With Keyless Entry - Buick, Oldsmobile
Cell 130: Door Locks Without Keyless Entry, Door Lock Switches
Power Door Systems Connector End Views
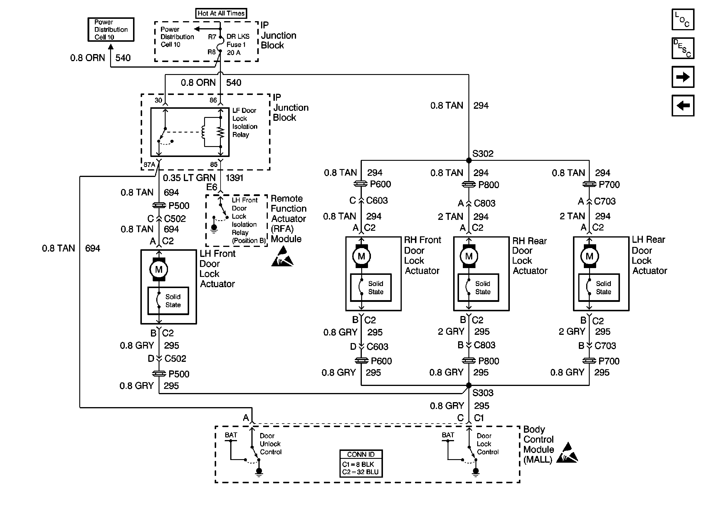
Figure 4:

Cell 130: Door Locks With Keyless Entry - Buick, Oldsmobile


Object Number: 470004  Size: FS
Interior Lights Dimming Schematics Oldsmobile
Ground Distribution Schematics
Ground Distribution Schematics
Interior Lights Dimming Schematics Oldsmobile
Handling ESD Sensitive Parts Notice
Handling ESD Sensitive Parts Notice
Power Door Systems Components
Power Door Locks Circuit Description
Cell 130: Door Locks With Keyless Entry - Buick, Oldsmobile, PONTiac Without UA6
Cell 130: Door Locks Without Keyless Entry, Door Lock Actuators
Ground Distribution Schematics
Ground Distribution Schematics
Power Door Systems Connector End Views
Figure 5:

Cell 130: Door Locks With Keyless Entry - Buick, Oldsmobile, Pontiac Without UA6


Object Number: 470005  Size: FS
Power Distribution Schematics
Power Distribution Schematics
Handling ESD Sensitive Parts Notice
Handling ESD Sensitive Parts Notice
Power Door Systems Components
Power Door Locks Circuit Description
Cell 130: Door Locks With Keyless Entry - Pontiac With UA6
Cell 130: Door Locks Without Keyless Entry, Door Lock Actuators
Power Door Systems Connector End Views
Figure 6:

Cell 130: Door Locks With Keyless Entry - Pontiac With UA6


Object Number: 470007  Size: FS
Power Distribution Schematics
Power Distribution Schematics
Handling ESD Sensitive Parts Notice
Power Door Systems Components
Power Door Locks Circuit Description
Cell 130: Door Locks With Keyless Entry - Buick, Oldsmobile, PONTiac Without UA6
Handling ESD Sensitive Parts Notice
Power Door Systems Connector End Views